TOP
|
特許
|
意匠
|
商標
特許ウォッチ
Twitter
他の特許を見る
公開番号
2025177804
公報種別
公開特許公報(A)
公開日
2025-12-05
出願番号
2024084913
出願日
2024-05-24
発明の名称
スチームトラップの診断装置
出願人
株式会社テイエルブイ
代理人
主分類
F16T
1/48 20060101AFI20251128BHJP(機械要素または単位;機械または装置の効果的機能を生じ維持するための一般的手段)
要約
【課題】スチームトラップの漏洩の判定結果に対して行うべき対応を、作業負担の増加を抑制して効率的にユーザが判断できる診断装置等を提供する。
【解決手段】スチームトラップの診断装置は、圧力値と判定閾値とが関係付けられた関係情報を、ドレン量ごとに記憶する記憶手段、推定されたドレン量に応じた関係情報に基づいて、取得された圧力値に基づく判定閾値を特定し、測定された振動値が判定閾値を超えている場合に気体の漏洩ありと判定する判定手段、関係情報に基づいて、測定された振動値が、ドレン量の大小によって判定手段による判定結果が異なってくる領域に属するか否かを特定する特定手段、判定結果、ドレン量、特定結果を表示する表示手段、ドレン量の変更入力を受け付ける入力受付手段、を備える。判定手段は、ドレン量の変更入力が受け付けられた場合、推定されたドレン量に代えて、変更入力が受け付けられたドレン量を用いて判定を行う。
【選択図】図7
特許請求の範囲
【請求項1】
スチームトラップの振動値を測定する測定手段、
前記測定された振動値に基づいて、前記スチームトラップのドレン量を推定する推定手段、
前記スチームトラップの圧力値を取得する取得手段、
前記圧力値と判定閾値とが関係付けられた関係情報を、前記ドレン量ごとに記憶する記憶手段、
前記推定されたドレン量に応じた前記関係情報に基づいて、前記取得された圧力値に基づく前記判定閾値を特定し、前記測定された振動値が該判定閾値を超えている場合に前記スチームトラップから気体の漏洩ありと判定する判定手段、
前記関係情報に基づいて、前記測定された振動値が、前記ドレン量の大小によって前記判定手段による判定結果が異なってくる領域に属するか否かを特定する特定手段、
前記判定手段による判定結果、前記判定に用いられたドレン量、前記特定手段による特定結果を表示する表示手段、
前記スチームトラップのドレン量の変更入力を受け付ける入力受付手段、
を備え、
前記判定手段は、前記ドレン量の変更入力が受け付けられた場合、前記推定されたドレン量に代えて、該変更入力が受け付けられたドレン量を用いて前記判定を行う、
ことを特徴とするスチームトラップの診断装置。
続きを表示(約 1,300 文字)
【請求項2】
前記推定手段は、前記スチームトラップのドレン量が、基準値以下である第一ドレン量及び基準値より大きい第二ドレン量のいずれに該当するか推定し、
前記記憶手段は、前記第一ドレン量に対応する前記関係情報と、前記第二ドレン量に対応する前記関係情報とを記憶する、
ことを特徴とする請求項1に記載のスチームトラップの診断装置。
【請求項3】
前記入力受付手段は、さらに、前記スチームトラップの判定結果の変更入力を受け付ける、
ことを特徴とする請求項1又は請求項2に記載のスチームトラップの診断装置。
【請求項4】
スチームトラップの診断装置のコンピュータを、
前記測定された振動情報に基づいて、前記スチームトラップのドレン量を推定する推定手段、
前記スチームトラップの圧力値を取得する取得手段、
前記圧力値と判定閾値とが関係付けられた関係情報であって前記推定されたドレン量に対応する関係情報に基づいて、前記取得された圧力値に基づく前記判定閾値を特定し、前記測定された振動値が該判定閾値を超えている場合に前記スチームトラップから気体の漏洩ありと判定する判定手段、
前記関係情報に基づいて、前記測定された振動値が、前記ドレン量の大小によって前記判定手段による判定結果が異なってくる領域に属するか否かを特定する特定手段、
前記判定手段による判定結果、前記判定に用いられたドレン量、前記特定手段による特定結果を表示する表示手段、
前記スチームトラップのドレン量の変更入力を受け付ける入力受付手段、
として機能させ、
前記判定手段は、前記ドレン量の変更入力が受け付けられた場合、前記推定されたドレン量に代えて、該変更入力が受け付けられたドレン量を用いて前記判定を行う、
ことを特徴とするスチームトラップの診断プログラム。
【請求項5】
スチームトラップの振動値を測定する測定手段、
前記測定された振動値に基づいて、前記スチームトラップのドレン量を推定する推定手段、
前記スチームトラップの圧力値を取得する取得手段、
前記圧力値と判定閾値とが関係づけられた関係情報を、前記ドレン量ごとに記憶する記憶手段、
前記推定されたドレン量に応じた前記関係情報に基づいて、前記取得された圧力値に基づく前記判定閾値を特定し、前記測定された振動値が該判定閾値を超えている場合に前記スチームトラップから気体の漏洩ありと判定する判定手段、
前記関係情報に基づいて、前記測定された振動値が、前記ドレン量の大小によって前記判定手段による判定結果が異なってくる領域属するか否かを特定する特定手段、
前記判定手段による判定結果、前記判定に用いられたドレン量、前記特定手段による特定結果を表示する表示手段、
前記スチームトラップのドレン量の入力を受け付ける入力受付手段、
を備え、
前記判定手段は、前記ドレン量の変更入力が受け付けられた場合、前記推定されたドレン量に代えて、該変更入力が受け付けられたドレン量を用いて前記判定を行う、
ことを特徴とするスチームトラップの診断システム。
発明の詳細な説明
【技術分野】
【0001】
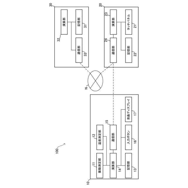
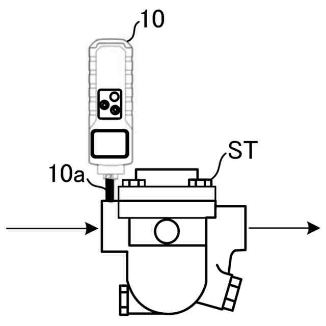
この発明は、スチームトラップの診断装置等に関する。
続きを表示(約 1,900 文字)
【背景技術】
【0002】
蒸気プラントなどの蒸気配管系統では、蒸気が凝縮してドレン(復水)が発生する。発生したドレンは、スチームトラップ等を用いて外部等に排出される。スチームトラップでは、蒸気漏れ等の異常が発生する場合がある。そのため、検査員が各スチームトラップに移動して診断機器を用いた診断を行う。
【0003】
診断機器としては、スチームトラップの作動に伴う振動を検出し、蒸気漏れ等の作動の良否を判定する良否判定器がある(例えば、特許文献1参照)。特許文献1に記載の良否判定器では、振動レベルと蒸気系の圧力の関係が予め記憶され、検出された振動レベルと上記関係とを比較して蒸気漏れの有無が判定(自動判定)される。また、特許文献1に記載の良否判定器は、上記関係が復水負荷率に基づいて補正される構成も備える。復水負荷率は、スチームトラップが排出可能な最大ドレン量と実際のドレン量との比率である。
【0004】
すなわち、上述のような蒸気漏れの自動判定では、振動値、ドレン量等に基づいて判定が行われる。スチームトラップでは、ドレンが流れることによって振動(超音波振動)が発生し、また蒸気等の気体が漏れている場合にも振動が発生するからである。また、蒸気漏れの自動判定では、例えば、測定された振動値に基づいて算出(推定)されたドレン量を用いる構成のものもある。
【0005】
流量に関しては、流量と振動の関係とが予め記憶され、測定した振動と上記関係とから所定開度の弁を流下する概略の流量が換算表示される簡易流量測定装置の構成がある(例えば、特許文献2参照)。
【先行技術文献】
【特許文献】
【0006】
特開平08-004993号公報
特開平09-196716号公報
【発明の概要】
【発明が解決しようとする課題】
【0007】
上述のような蒸気漏れの自動判定は、スチームトラップのドレン量に影響を受ける。すなわち、ドレン量の大小によって判定結果が変わる領域が存在する。そのため、自動判定の結果を変更するべく、ドレン量を手動で変更(修正)して再判定(自動判定)させたいとの要望がある。また、ドレン量を確認的に手動で変更(修正)して再判定(自動判定)させたいとの要望もある。自動判定では、常に正しい判定結果が得られるとは限らず、検査員の知見による判定結果と異なる場合もあるからである。そして、このような判定結果に対して手動で変更する作業などに関し、効率的に行えるようにしたいとの要望もある。検査員は、例えば、一日で数百個のスチームトラップの診断作業を行う場合もあるからである。
【0008】
この発明は、スチームトラップの漏洩の判定結果に対して行うべき対応を、作業負担の増加を抑制して効率的にユーザが判断できる診断装置等を提供することを目的とする。
【課題を解決するための手段】
【0009】
本発明の第1の側面によって提供されるスチームトラップの診断装置は、スチームトラップの振動値を測定する測定手段、測定された振動値に基づいて、スチームトラップのドレン量を推定する推定手段、スチームトラップの圧力値を取得する取得手段、圧力値と判定閾値とが関係付けられた関係情報を、ドレン量ごとに記憶する記憶手段、推定されたドレン量に応じた関係情報に基づいて、取得された圧力値に基づく判定閾値を特定し、測定された振動値が判定閾値を超えている場合にスチームトラップから気体の漏洩ありと判定する判定手段、関係情報に基づいて、測定された振動値が、ドレン量の大小によって判定手段による判定結果が異なってくる領域に属するか否かを特定する特定手段、判定手段による判定結果、判定に用いられたドレン量、特定手段による特定結果を表示する表示手段、スチームトラップのドレン量の変更入力を受け付ける入力受付手段、を備える。判定手段は、ドレン量の変更入力が受け付けられた場合、推定されたドレン量に代えて、変更入力が受け付けられたドレン量を用いて判定を行う。
【0010】
上記推定手段は、スチームトラップのドレン量が、基準値以下である第一ドレン量及び基準値より大きい第二ドレン量のいずれに該当するか推定し、記憶手段は、第一ドレン量に対応する関係情報と、第二ドレン量に対応する関係情報とを記憶するようにしてもよい。
(【0011】以降は省略されています)
この特許をJ-PlatPat(特許庁公式サイト)で参照する
関連特許
個人
留め具
1か月前
個人
鍋虫ねじ
3か月前
個人
回転伝達機構
4か月前
個人
紛体用仕切弁
3か月前
個人
ホース保持具
7か月前
個人
差動歯車用歯形
5か月前
個人
トーションバー
8か月前
個人
ジョイント
2か月前
個人
給排気装置
2か月前
株式会社不二工機
電磁弁
6か月前
個人
地震の揺れ回避装置
4か月前
個人
ボルトナットセット
8か月前
個人
ナット
2か月前
個人
ナット
1か月前
株式会社不二工機
電磁弁
5か月前
個人
吐出量監視装置
3か月前
個人
ゲート弁バルブ
19日前
柿沼金属精機株式会社
分岐管
3か月前
株式会社三協丸筒
枠体
8か月前
カヤバ株式会社
緩衝器
5か月前
カヤバ株式会社
ダンパ
5か月前
カヤバ株式会社
ダンパ
5か月前
兼工業株式会社
バルブ
1か月前
カヤバ株式会社
緩衝器
9か月前
カヤバ株式会社
緩衝器
5か月前
カヤバ株式会社
緩衝器
2か月前
株式会社ノーリツ
分配弁
7か月前
株式会社三五
ドライブシャフト
1か月前
株式会社ノーリツ
分配弁
7か月前
日東精工株式会社
樹脂被覆ねじ
9か月前
日東電工株式会社
断熱材
7か月前
個人
固着具と固着具の固定方法
6か月前
株式会社不二工機
電磁弁
3か月前
株式会社ノーリツ
分配弁
2か月前
個人
固着具と固着具の固定方法
8か月前
株式会社フジキン
ボールバルブ
6か月前
続きを見る
他の特許を見る