TOP
|
特許
|
意匠
|
商標
特許ウォッチ
Twitter
他の特許を見る
公開番号
2025177620
公報種別
公開特許公報(A)
公開日
2025-12-05
出願番号
2024084626
出願日
2024-05-24
発明の名称
軸受支持構造とアクチュエーター
出願人
株式会社アイエイアイ
代理人
個人
,
個人
主分類
F16C
35/07 20060101AFI20251128BHJP(機械要素または単位;機械または装置の効果的機能を生じ維持するための一般的手段)
要約
【課題】 樹脂成形品を用いて安価に構成できるとともに軸受の滑りを防止できる軸受支持構造とアクチュエーターを提供すること。
【解決手段】樹脂製であり凸状に形成されるとともに内側に軸受が保持される軸受収容凹部が設けられた軸受保持部と、上記軸受収容凹部内に収容されて保持される軸受と、上記軸受保持部の外周側に設置され上記軸受保持部を貫通して上記軸受を押圧して保持する弾性保持部材と、を具備し、上記軸受保持部には外周側と上記軸受収容凹部内を連通する弾性保持部材用貫通孔が設けられていて、上記弾性保持部材には上記弾性保持部材用貫通孔を貫通して上記軸受収容凹部内に突出される固定用凸部が設けられていて、上記軸受は上記固定用凸部を介して押圧されて保持されるもの。
【選択図】図2
特許請求の範囲
【請求項1】
樹脂製であり凸状に形成されるとともに内側に軸受が保持される軸受収容凹部が設けられた軸受保持部と、
上記軸受収容凹部内に収容されて保持される軸受と、
上記軸受保持部の外周側に設置され上記軸受保持部を貫通して上記軸受を押圧して保持する弾性保持部材と、
を具備し、
上記軸受保持部には上記外周側と上記軸受収容凹部内を連通する弾性保持部材用貫通孔が設けられていて、
上記弾性保持部材には上記弾性保持部材用貫通孔を貫通して上記軸受収容凹部内に突出される固定用凸部が設けられていて、
上記軸受は上記固定用凸部を介して押圧されて保持されることを特徴とする軸受支持構造。
続きを表示(約 710 文字)
【請求項2】
請求項1記載の軸受支持構造において、
上記軸受保持部材用貫通孔は上記軸受保持部の周方向に延長されることを特徴とする軸受支持構造。
【請求項3】
請求項1記載の軸受支持構造において、
上記軸受保持部の外周側には上記弾性保持部材が係合される弾性保持部材用溝が設けられることを特徴とする軸受支持構造。
【請求項4】
請求項1記載の軸受支持構造において、
上記弾性保持部材には複数の上記固定用凸部が設けられていることを特徴とする軸受支持構造。
【請求項5】
請求項4記載の軸受支持構造において、
上記固定用凸部は上記弾性保持部材の周方向に等間隔で設けられていることを特徴とする軸受支持構造。
【請求項6】
請求項1記載の軸受支持構造において、
上記固定用凸部は基部側から先端側に向けて拡大されるように形成されることを特徴とする軸受支持構造。
【請求項7】
請求項1記載の軸受支持構造において、
上記軸受は上記軸受保持部によって保持される外輪と上記外輪内に回転可能に設置された内輪と上記外輪と上記内輪との間に介挿された転動体から構成され、
上記固定用凸部は上記外輪を押圧することを特徴とする軸受支持構造。
【請求項8】
請求項1記載の軸受支持構造において、
上記軸受によって回転可能に支持される軸はねじ軸であることを特徴とする軸受支持構造。
【請求項9】
請求項1から請求項8記載の軸受支持構造が設けられたアクチュエーター。
発明の詳細な説明
【技術分野】
【0001】
本発明は、移動体を駆動する軸を保持する軸受支持構造とアクチュエーターに係り、特に、樹脂成形品を用いて安価に構成できるとともに軸受の滑りを防止できるように工夫したものに関する。
続きを表示(約 3,900 文字)
【背景技術】
【0002】
従来の軸受支持構造を開示するものとして、例えば、特許文献1がある。
特許文献1に記載された直交座標型組立式ロボットは、ケーシングに対して案内レールを介して移動体が移動可能に設置されている。
上記ケーシングの両端部にボールベアリングが圧入され、上記ボールベアリングによってテーパーシャフトを介してボールネジ軸が回転可能に支持されている。
上記移動体にはボールネジ機構が設けられ、上記ボールネジ軸が回転されると上記移動体が移動されるようになっている。
【先行技術文献】
【特許文献】
【0003】
特開平4-135187号公報
【発明の概要】
【発明が解決しようとする課題】
【0004】
上記従来の構成によると、次のような問題があった。
特許文献1に記載された直交座標型組立式ロボットのような構成において、従来はケーシングのボールベアリングを保持する部材は精度を確保するために、例えば、ダイカスト製で構成されているが、より安価な部材として樹脂成形品を用いることも考えられる。
しかし、樹脂成形品ではボールベアリングを保持する箇所の嵌め合い公差が大きくなり、ボールベアリングがケーシングのボールベアリングを保持する部材に対して滑ってしまうことが懸念される。
【0005】
本発明は、このような点に基づいてなされたもので、その目的とするところは、樹脂成形品を用いて安価に構成できるとともに軸受の滑りを防止できる軸受支持構造とアクチュエーターを提供することにある。
【課題を解決するための手段】
【0006】
上記目的を達成するべく本願発明の請求項1による軸受支持構造は、樹脂製であり凸状に形成されるとともに内側に軸受が保持される軸受収容凹部が設けられた軸受保持部と、上記軸受収容凹部内に収容されて保持される軸受と、上記軸受保持部の外周側に設置され上記軸受保持部を貫通して上記軸受を押圧して保持する弾性保持部材と、を具備し、上記軸受保持部には上記外周側と上記軸受収容凹部内を連通する弾性保持部材用貫通孔が設けられていて、上記弾性保持部材には上記弾性保持部材用貫通孔を貫通して上記軸受収容凹部内に突出される固定用凸部が設けられていて、上記軸受は上記固定用凸部を介して押圧されて保持されることを特徴とするものである。
また、請求項2による軸受支持構造は、請求項1記載の軸受支持構造において、上記軸受保持部材用貫通孔は上記軸受保持部の周方向に延長されることを特徴とするものである。
また、請求項3による軸受支持構造は、請求項1記載の軸受支持構造において、上記軸受保持部の外周側には上記弾性保持部材が係合される弾性保持部材用溝が設けられることを特徴とするものである。
また、請求項4による軸受支持構造は、請求項1記載の軸受支持構造において、上記弾性保持部材には複数の上記固定用凸部が設けられていることを特徴とするものである。
また、請求項5による軸受支持構造は、請求項4記載の軸受支持構造において、上記固定用凸部は上記弾性保持部材の周方向に等間隔で設けられていることを特徴とするものである。
また、請求項6による軸受支持構造は、請求項1記載の軸受支持構造において、上記固定用凸部は基部側から先端側に向けて拡大されるように形成されることを特徴とするものである。
また、請求項7による軸受支持構造は、請求項1記載の軸受支持構造において、上記軸受は上記軸受保持部によって保持される外輪と上記外輪内に回転可能に設置された内輪と上記外輪と上記内輪との間に介挿された転動体から構成され、上記固定用凸部は上記外輪を押圧することを特徴とするものである。
また、請求項8による軸受支持構造は、請求項1記載の軸受支持構造において、上記軸受によって回転可能に支持される軸はねじ軸であることを特徴とするものである。
また、請求項9によるアクチュエーターは、請求項1から請求項8記載の軸受支持構造が設けられたことを特徴とするものである。
【発明の効果】
【0007】
以上述べたように、本願発明の請求項1による軸受支持構造によると、樹脂製であり凸状に形成されるとともに内側に軸受が保持される軸受収容凹部が設けられた軸受保持部と、上記軸受収容凹部内に収容されて保持される軸受と、上記軸受保持部の外周側に設置され上記軸受保持部を貫通して上記軸受を押圧して保持する弾性保持部材と、を具備し、上記軸受保持部には上記外周側と上記軸受収容凹部内を連通する弾性保持部材用貫通孔が設けられていて、上記弾性保持部材には上記弾性保持部材用貫通孔を貫通して上記軸受収容凹部内に突出される固定用凸部が設けられていて、上記軸受は上記固定用凸部を介して押圧されて保持されるので、樹脂成形品を用いて安価に構成できるとともに軸受の滑りを防止できる。
また、請求項2による軸受支持構造によると、請求項1記載の軸受支持構造において、上記軸受保持部材用貫通孔は上記軸受保持部の周方向に延長されるので、効果的に軸受の滑りを防止できる。
また、請求項3による軸受支持構造によると、請求項1記載の軸受支持構造において、上記軸受保持部の外周側には上記弾性保持部材が係合される弾性保持部材用溝が設けられるので、上記弾性保持部材の脱落を防止できる。
また、請求項4による軸受支持構造によると、請求項1記載の軸受支持構造において、上記弾性保持部材には複数の上記固定用凸部が設けられているので、より効果的に軸受の滑りを防止できる。
また、請求項5による軸受支持構造によると、請求項4記載の軸受支持構造において、上記固定用凸部は上記弾性保持部材の周方向に等間隔で設けられているので、より効果的に軸受の滑りを防止できる。
また、請求項6による軸受支持構造によると、請求項1記載の軸受支持構造において、上記固定用凸部は基部側から先端側に向けて拡大されるように形成されるので、上記弾性保持部材の脱落を防止できる。
また、請求項7による軸受支持構造によると、請求項1記載の軸受支持構造において、上記軸受は上記軸受保持部によって保持される外輪と上記外輪内に回転可能に設置された内輪と上記外輪と上記内輪との間に介挿された転動体から構成され、上記固定用凸部は上記外輪を押圧するので、円滑な動作を確保しつつ軸受の滑りを防止できる。
また、請求項8による軸受支持構造によると、請求項1記載の軸受支持構造において、上記軸受によって回転可能に支持される軸はねじ軸であるので、ねじ軸の軸方向の力が加わっても円滑な動作を確保しつつ軸受の滑りを防止できる。
また、請求項9によるアクチュエーターによると、請求項1から請求項8記載の軸受支持構造が設けられたので、樹脂成形品を用いて安価に構成できるとともに軸受の滑りを防止でき、且つ、アクチュエーターを軽量化できる。
【図面の簡単な説明】
【0008】
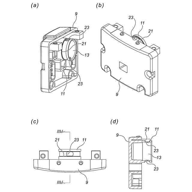
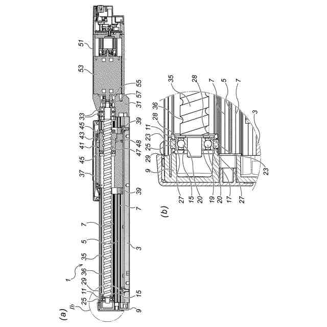
本発明の一実施の形態を示す図で、図1(a)は軸受支持構造が設けられたアクチュエーターの横断面図、図1(b)は図1(a)のIb部分拡大図である。
本発明の一実施の形態を示す図で、図2(a)は軸受支持構造が設けられたアクチュエーターのフロントカバーとボールねじ軸の斜視図であり前端カバー付近を拡大した図、図2(b)は軸受支持構造が設けられたアクチュエーターのフロントカバーとボールねじ軸の分解斜視図であり前端カバー付近を拡大した図である。
本発明の一実施の形態を示す図で、図3(a)はフロントカバーを内側から視た斜視図、図3(b)はフロントカバーを外側から視た斜視図、図3(c)はフロントカバーの平面図、図3(d)は図3(c)のIIId-IIId断面図である。
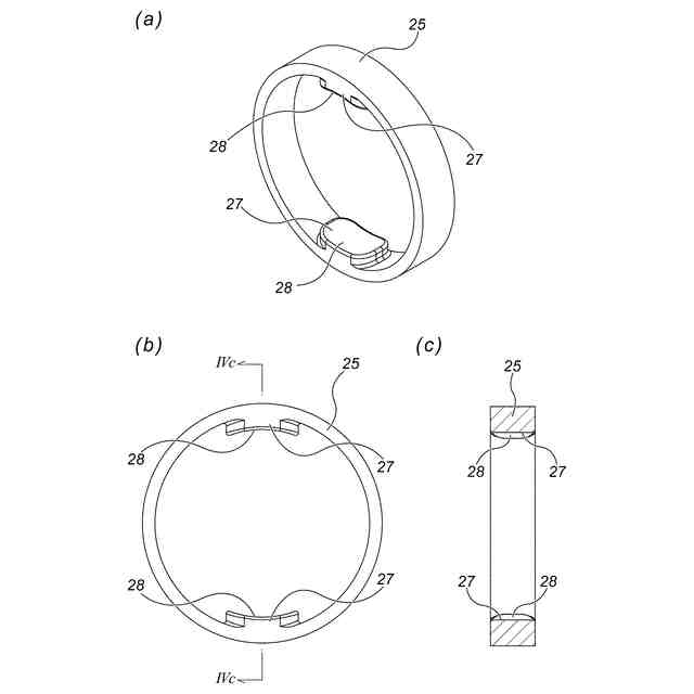
本発明の一実施の形態を示す図で、図4(a)は弾性保持部材の斜視図、図4(b)は弾性保持部材の正面図、図4(c)は図4(b)のIVc-IVc断面図である。
【発明を実施するための形態】
【0009】
以下、図1乃至図4を参照しながら、本発明の一実施の形態について説明する。
図1に示すように、この一実施の形態によるアクチュエーター1にはベース3がある。上記ベース3は前後方向(図1(a)中左右方向)に延長され、内側の幅方向両側(図1(a)中紙面方向両側)にはそれぞれガイドレール5が設置されている。上記ガイドレール5には前後方向に延長されたガイド溝7、7が形成されている。
【0010】
上記ベース3の前端(図1(a)中左端)には前端カバー9が設置される。
上記前端カバー9は樹脂製で、図1から図3に示すように、円筒形の凸状の軸受保持部11が設けられている。
上記軸受保持部11の内側は上記軸受収容凹部13となっている。図1及び図2に示すように、上記軸受収容凹部13には軸受15が収容されている。
図1(b)に示すように上記軸受15には外輪17と上記外輪17の内側に回転可能に収容された内輪19と上記外輪17と上記内輪19との間に転動可能に設置された複数の転動体としての鋼球20がある。
(【0011】以降は省略されています)
この特許をJ-PlatPat(特許庁公式サイト)で参照する
関連特許
株式会社アイエイアイ
軸受支持構造とアクチュエーター
4日前
株式会社アイエイアイ
直動案内装置とアクチュエーター
6日前
個人
留め具
1か月前
個人
鍋虫ねじ
3か月前
個人
紛体用仕切弁
3か月前
個人
ホース保持具
7か月前
個人
回転伝達機構
4か月前
個人
差動歯車用歯形
5か月前
個人
ジョイント
2か月前
個人
給排気装置
2か月前
個人
ナット
1か月前
個人
ナット
2か月前
株式会社不二工機
電磁弁
6か月前
個人
地震の揺れ回避装置
4か月前
株式会社不二工機
電磁弁
5か月前
個人
ゲート弁バルブ
19日前
個人
吐出量監視装置
3か月前
カヤバ株式会社
緩衝器
5か月前
カヤバ株式会社
緩衝器
5か月前
カヤバ株式会社
緩衝器
2か月前
兼工業株式会社
バルブ
1か月前
カヤバ株式会社
ダンパ
5か月前
柿沼金属精機株式会社
分岐管
3か月前
カヤバ株式会社
ダンパ
5か月前
株式会社奥村組
制振機構
2か月前
株式会社不二工機
電磁弁
3か月前
アズビル株式会社
回転弁
2か月前
株式会社三五
ドライブシャフト
1か月前
日東電工株式会社
断熱材
7か月前
株式会社フジキン
ボールバルブ
6か月前
個人
固着具と固着具の固定方法
6か月前
株式会社奥村組
制振機構
2か月前
株式会社タカギ
水栓装置
4か月前
株式会社ニフコ
クリップ
2か月前
個人
固着具と固着具の固定方法
6か月前
株式会社ノーリツ
分配弁
7か月前
続きを見る
他の特許を見る