TOP
|
特許
|
意匠
|
商標
特許ウォッチ
Twitter
他の特許を見る
公開番号
2025175692
公報種別
公開特許公報(A)
公開日
2025-12-03
出願番号
2024081911
出願日
2024-05-20
発明の名称
直動案内装置とアクチュエーター
出願人
株式会社アイエイアイ
代理人
個人
,
個人
主分類
F16C
29/06 20060101AFI20251126BHJP(機械要素または単位;機械または装置の効果的機能を生じ維持するための一般的手段)
要約
【課題】 潤滑剤の漏れを防止し且つ円滑な動作が可能とできる直動案内装置とアクチュエーターを提供すること。
【解決手段】ベースと、上記ベースとの間に複数の転動体を介して上記ベースに対して移動可能に設置された移動体と、上記移動体に形成され上記転動体が循環される循環路と、上記移動体の進行方向両側に設置され上記転動体を上記循環路から上記移動体と上記ベースとの間の空間に循環させるリターン部材と、上記循環路に内装され内周面に網目状のグリース循環溝が形成された樹脂成形パイプと、を具備したもの。
【選択図】図4
特許請求の範囲
【請求項1】
ベースと、
上記ベースとの間に複数の転動体を介して上記ベースに対して移動可能に設置された移動体と、
上記移動体に形成され上記転動体が循環される循環路と、
上記移動体の進行方向両側に設置され上記転動体を上記循環路から上記移動体と上記ベースとの間の空間に循環させるリターン部材と、
上記循環路に内装され内周面に網目状のグリース循環溝が形成された樹脂成形パイプと、
を具備したことを特徴とする直動案内装置。
続きを表示(約 810 文字)
【請求項2】
請求項1記載の直動案内装置において、
上記樹脂成形パイプの内周面には複数のグリース溜まりが形成されることを特徴とする直動案内装置。
【請求項3】
請求項2記載の直動案内装置において、
上記グリース溜まりは上記グリース循環溝より深いことを特徴とする直動案内装置。
【請求項4】
請求項2記載の直動案内装置において、
上記グリース溜まりは上記グリース循環溝の網目の交点に配置されることを特徴とする直動案内装置。
【請求項5】
請求項1記載の直動案内装置において、
上記樹脂成形パイプの外周面には凹部が形成され上記移動体の循環路の内周面との間に空間を確保されて外周側グリース溜まりが構成され、
上記外周側グリース溜まりは上記樹脂成形パイプの内部と連通されることを特徴とする直動案内装置。
【請求項6】
請求項5記載の直動案内装置において、
上記外周側グリース溜まりは複数設けられていることを特徴とする直動案内装置。
【請求項7】
請求項5記載の直動案内装置において、
上記外周側グリース溜まりは上記循環路の両端側及び中央に設けられていることを特徴とする直動案内装置。
【請求項8】
請求項5記載の直動案内装置において、
上記移動体には上記外周側グリース溜まりに連通される給油路が形成されていることを特徴とする直動案内装置。
【請求項9】
請求項1記載の直動案内装置において、
上記樹脂成形パイプは上記転動体の循環方向に沿って分割された複数の要素を組み合わせて構成されていることを特徴とする直動案内装置。
【請求項10】
請求項1から請求項9記載の直動案内装置が設けられていることを特徴とするアクチュエーター。
発明の詳細な説明
【技術分野】
【0001】
本発明は、直動案内装置とアクチュエーターに係り、特に、潤滑剤の漏れを防止し且つ円滑な動作が可能とできるように工夫したものに関する。
続きを表示(約 4,100 文字)
【背景技術】
【0002】
従来の直動案内装置を開示するものとして、例えば、特許文献1がある。
特許文献1に記載された直動案内軸受装置には、案内レールに沿って移動可能に設置されたスライダーがある。上記案内レールと上記スライダーの側面との間に転動体転動路が設けられ、上記スライダーには転動体戻し路があり、上記転動体戻し路には樹脂製の管状部材が挿入されている。また、上記スライダーの移動方向両側にはエンドキャップが設置され、上記エンドキャップ内にも転動体転動路が設けられている。上記案内レールと上記スライダーの側面との間の転動体転動路内、上記スライダーの転動体転道路内の管状部材内部、及び、上記エンドキャップ内の転動体転道路内には転動体が循環される。
【0003】
上記管状部材の内周面には複数の帯状壁体と環状壁体が形成されており、上記帯状壁体と上記環状壁体に囲まれた空間には潤滑剤が保持されている。上記転動体が上記管状部材内を通過する際に上記潤滑剤が上記転動体に付着し潤滑剤として機能するようになっている。
なお、上記転動体は上記帯状壁体の径方向先端部に沿って上記管状部材内を転動していくので、上記帯状壁体と上記環状壁体に囲まれた空間よって上記転動体の移動が妨げられることがない。
【先行技術文献】
【特許文献】
【0004】
特開2008-291975号公報
【発明の概要】
【発明が解決しようとする課題】
【0005】
上記従来の構成によると、次のような問題があった。
特許文献1に記載された直動案内軸受装置では、管状部材の内周面の帯状壁体と環状壁体によって囲まれた空間に潤滑剤が保持されるようになっているので、過剰な量の潤滑剤が上記管状部材内に存在し、上記潤滑剤が漏れ出し、周囲を汚染してしまうことが懸念される。
【0006】
本発明は、このような点に基づいてなされたもので、その目的とするところは、潤滑剤の漏れを防止し且つ円滑な動作が可能な直動案内装置とアクチュエーターを提供することにある。
【課題を解決するための手段】
【0007】
上記目的を達成するべく本願発明の請求項1による直動案内装置は、ベースと、上記ベースとの間に複数の転動体を介して上記ベースに対して移動可能に設置された移動体と、上記移動体に形成され上記転動体が循環される循環路と、上記移動体の進行方向両側に設置され上記転動体を上記循環路から上記移動体と上記ベースとの間の空間に循環させるリターン部材と、上記循環路に内装され内周面に網目状のグリース循環溝が形成された樹脂成形パイプと、を具備したことを特徴とするものである。
また、請求項2による直動案内装置は、請求項1記載の直動案内装置において、上記樹脂成形パイプの内周面には複数のグリース溜まりが形成されることを特徴とするものである。
また、請求項3による直動案内装置は、請求項2記載の直動案内装置において、上記グリース溜まりは上記グリース循環溝より深いことを特徴とするものである。
また、請求項4による直動案内装置は、請求項2記載の直動案内装置において、上記グリース溜まりは上記グリース循環溝の網目の交点に配置されることを特徴とするものである。
また、請求項5による直動案内装置は、請求項1記載の直動案内装置において、上記樹脂成形パイプの外周面には凹部が形成され上記移動体の循環路の内周面との間に空間を確保されて外周側グリース溜まりが構成され、上記外周側グリース溜まりは上記樹脂成形パイプの内部と連通されることを特徴とするものである。
また、請求項6による直動案内装置は、請求項5記載の直動案内装置において、上記外周側グリース溜まりは複数設けられていることを特徴とするものである。
また、請求項7による直動案内装置は、請求項5記載の直動案内装置において、上記外周側グリース溜まりは上記循環路の両端側及び中央に設けられていることを特徴とするものである。
また、請求項8による直動案内装置は、請求項5記載の直動案内装置において、上記移動体には上記外周側グリース溜まりに連通される給油路が形成されていることを特徴とするものである。
また、請求項9による直動案内装置は、請求項1記載の直動案内装置において、上記樹脂成形パイプは上記転動体の循環方向に沿って分割された複数の要素を組み合わせて構成されていることを特徴とするものである。
また、請求項10によるアクチュエーターは、請求項1から請求項9記載の直動案内装置が設けられていることを特徴とするものである。
【発明の効果】
【0008】
以上述べたように、本願発明の請求項1による直動案内装置によると、ベースと、上記ベースとの間に複数の転動体を介して上記ベースに対して移動可能に設置された移動体と、上記移動体に形成され上記転動体が循環される循環路と、上記移動体の進行方向両側に設置され上記転動体を上記循環路から上記移動体と上記ベースとの間の空間に循環させるリターン部材と、上記循環路に内装され内周面に網目状のグリース循環溝が形成された樹脂成形パイプと、を具備したので、潤滑剤の漏れを防止し且つ円滑な動作が可能である。
また、請求項2による直動案内装置によると、請求項1記載の直動案内装置において、上記樹脂成形パイプの内周面には複数のグリース溜まりが形成されるので、効果的且つ適切な量の潤滑剤を保持できる。
また、請求項3による直動案内装置によると、請求項2記載の直動案内装置において、上記グリース溜まりは上記グリース循環溝より深いので、より効果的且つ適切な量の潤滑剤を保持できる。
また、請求項4による直動案内装置によると、請求項2記載の直動案内装置において、上記グリース溜まりは上記グリース循環溝の網目の交点に配置されるので、より効果的に潤滑剤を保持できる。
また、請求項5による直動案内装置によると、請求項1記載の直動案内装置において、上記樹脂成形パイプの外周面には凹部が形成され上記移動体の循環路の内周面との間に空間を確保されて外周側グリース溜まりが構成され、上記外周側グリース溜まりは上記樹脂成形パイプの内部と連通されるので、上記外周側グリース溜まりにも潤滑剤を保持させることで上記樹脂成形パイプの内周側の上記グリース循環溝と上記グリース溜まりによって適切な量の潤滑剤を保持できるとともに、上記樹脂成形パイプの内周側の潤滑剤が減少しても上記外周側グリース溜まりから潤滑剤を供給できる。
また、請求項6による直動案内装置によると、請求項5記載の直動案内装置において、上記外周側グリース溜まりは複数設けられているので、複数の上記外周側グリース溜まりに分割して潤滑剤を保持することができ、より効果的に適切な量の潤滑剤を上記樹脂成形パイプの内周側に保持できる。
また、請求項7による直動案内装置によると、請求項5記載の直動案内装置において、上記外周側グリース溜まりは上記循環路の両端側及び中央に設けられているので、より効果的に適切な量の潤滑剤を上記樹脂成形パイプの内周側に保持でき、上記樹脂成形パイプの内周側の潤滑剤が減少しても上記樹脂成形パイプの長手方向に偏りなく潤滑剤を供給できる。
また、請求項8による直動案内装置によると、請求項5記載の直動案内装置において、上記移動体には上記外周側グリース溜まりに連通される給油路が形成されているので、潤滑剤を外部から供給することにより、より効果的に適切な量の潤滑剤を上記樹脂成形パイプの内周側に保持できる。
また、請求項9による直動案内装置によると、請求項1記載の直動案内装置において、上記樹脂成形パイプは上記転動体の循環方向に沿って分割された複数の要素を組み合わせて構成されているので、組み立てが容易である。
また、請求項10によるアクチュエーターによると、請求項1から請求項9記載の直動案内装置が設けられているので、効果的且つ適切な量の潤滑剤を保持できる。
【図面の簡単な説明】
【0009】
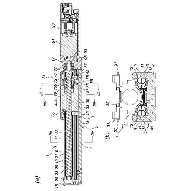
本発明の一実施の形態を示す図で、直動案内装置が設けられたアクチュエーターの斜視図である。
本発明の一実施の形態を示す図で、図2(a)は直動案内装置が設けられたアクチュエーターの横断面図、図2(b)は図2(a)のIIb-IIb断面図でありボールねじ軸とボールねじナットを除去した図である。
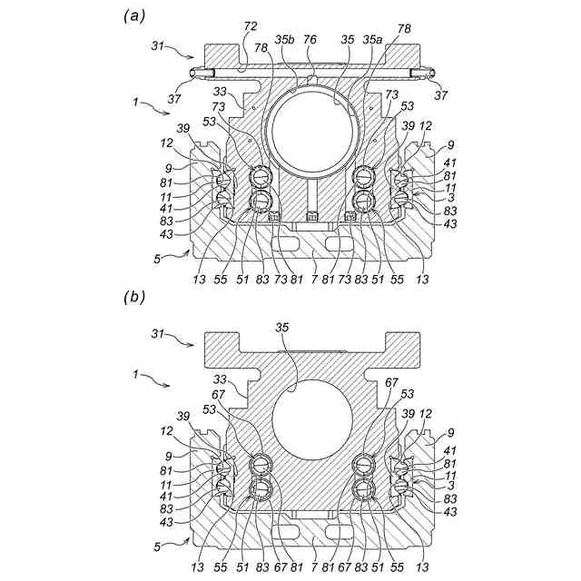
本発明の一実施の形態を示す図で、図3(a)は図2(a)のIIIa-IIIa断面図でありボールねじ軸とボールねじナットを除去した図、図3(b)は図2(a)のIIIb-IIIb断面図でありボールねじ軸とボールねじナットを除去した図である。
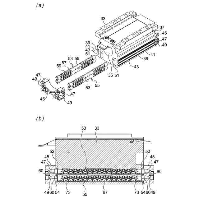
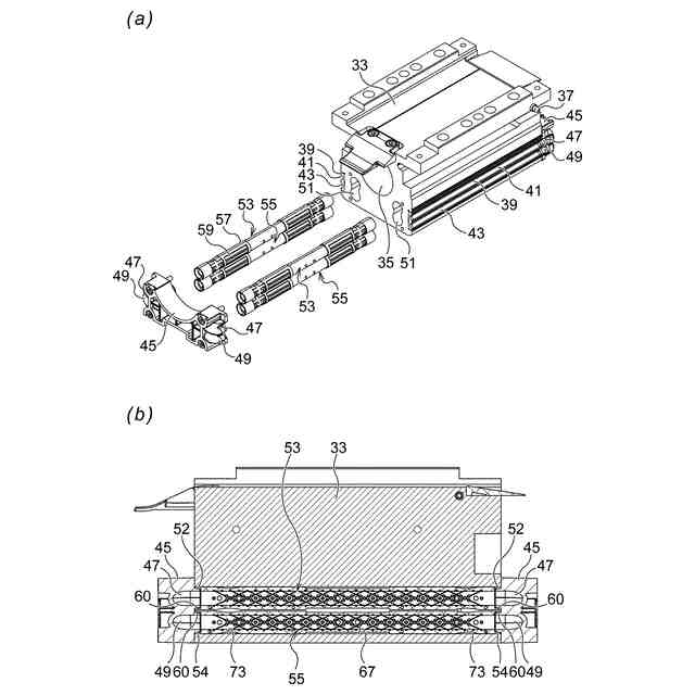
本発明の一実施の形態を示す図で、図4(a)はスライダーの分解斜視図、図4(b)はスライダーを樹脂成形パイプの中心で鋼球の循環方向に沿って切断した縦断面図である。
本発明の一実施の形態を示す図で、樹脂成形パイプの分解斜視図である。
本発明の一実施の形態を示す図で、図6(a)は樹脂成形パイプ要素の斜視図、図6(b)は図6(a)のVIb-VIb矢視図である。
【発明を実施するための形態】
【0010】
以下、図1乃至図6を参照しながら、本発明の一実施の形態について説明する。
図1及び図2に示すように、この一実施の形態によるアクチュエーター1には直動案内装置3が設置されている。以下、上記アクチュエーター1の構成と併せて上記直動案内装置3の構成を説明する。
(【0011】以降は省略されています)
この特許をJ-PlatPat(特許庁公式サイト)で参照する
関連特許
株式会社アイエイアイ
軸受支持構造とアクチュエーター
4日前
株式会社アイエイアイ
直動案内装置とアクチュエーター
6日前
個人
留め具
1か月前
個人
鍋虫ねじ
3か月前
個人
紛体用仕切弁
3か月前
個人
ホース保持具
7か月前
個人
回転伝達機構
4か月前
個人
差動歯車用歯形
5か月前
個人
トーションバー
8か月前
個人
ジョイント
2か月前
個人
給排気装置
2か月前
個人
ナット
1か月前
株式会社不二工機
電磁弁
6か月前
株式会社不二工機
電磁弁
5か月前
個人
ナット
2か月前
個人
地震の揺れ回避装置
4か月前
個人
ゲート弁バルブ
19日前
個人
吐出量監視装置
3か月前
カヤバ株式会社
ダンパ
5か月前
カヤバ株式会社
ダンパ
5か月前
カヤバ株式会社
緩衝器
5か月前
カヤバ株式会社
緩衝器
5か月前
兼工業株式会社
バルブ
1か月前
カヤバ株式会社
緩衝器
2か月前
柿沼金属精機株式会社
分岐管
3か月前
アズビル株式会社
回転弁
2か月前
株式会社フジキン
ボールバルブ
6か月前
株式会社不二工機
電磁弁
3か月前
株式会社奥村組
制振機構
2か月前
個人
固着具と固着具の固定方法
8か月前
株式会社ニフコ
クリップ
2か月前
株式会社ノーリツ
分配弁
2か月前
竹内工業株式会社
ラッチ
4日前
株式会社奥村組
制振機構
2か月前
株式会社不二工機
電動弁
2か月前
株式会社ノーリツ
分配弁
7か月前
続きを見る
他の特許を見る