TOP
|
特許
|
意匠
|
商標
特許ウォッチ
Twitter
他の特許を見る
10個以上の画像は省略されています。
公開番号
2025177590
公報種別
公開特許公報(A)
公開日
2025-12-05
出願番号
2024084568
出願日
2024-05-24
発明の名称
漏水対策を施した天井構造及びその施工方法
出願人
東日本旅客鉄道株式会社
,
森村金属株式会社
代理人
個人
,
個人
,
個人
,
個人
主分類
E04B
9/00 20060101AFI20251128BHJP(建築物)
要約
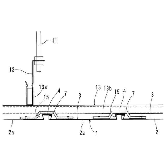
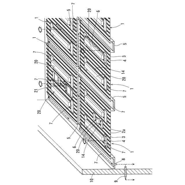
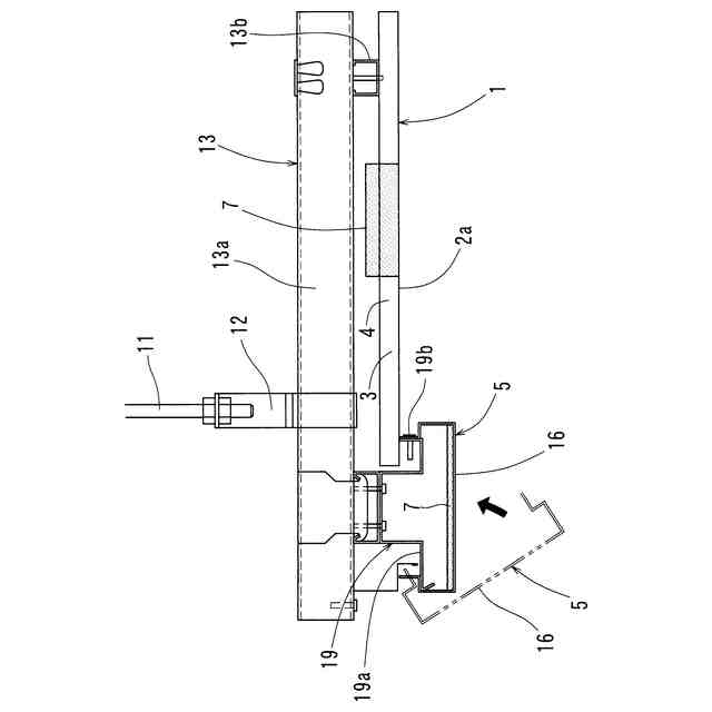
【課題】天井面全体で漏水を受け止めて、所定の箇所から排水でき、施工が容易で、閉塞箇所からも排水できる天井構造を提供する。
【解決手段】吊り天井の天井パネル1の端辺に沿って樋5を備え、天井パネル1の裏側に滴下する漏水への対策を施した天井構造において、天井パネル1及び樋5は、勾配をつけることなく固設され、天井パネル1の裏側には、平坦面3から突出した凸部4に被さる吸水材7が凸部4の両側方の平坦面3に及ぶように敷設され、樋5の底部にも吸水材7が敷設され、樋5の底部の吸水材7が及ぶ位置に排水口8が設けられたものとする。これにより、天井パネル1の裏側に滴下した漏水を、吸水材7に生じる毛細管現象を利用して凸部4を乗り越えさせ、天井パネル1から樋5に誘導し、さらに樋5の排水口8へ誘導して、排水口8から排水するものとする。
【選択図】図1
特許請求の範囲
【請求項1】
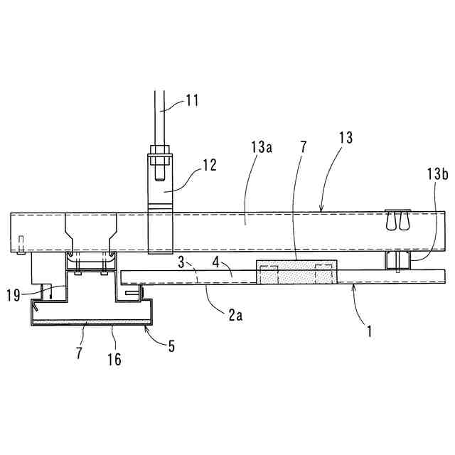
吊り天井の天井パネルの端辺に沿って樋を備え、天井パネルの裏側に滴下する漏水への対策を施した天井構造において、
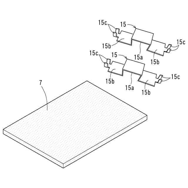
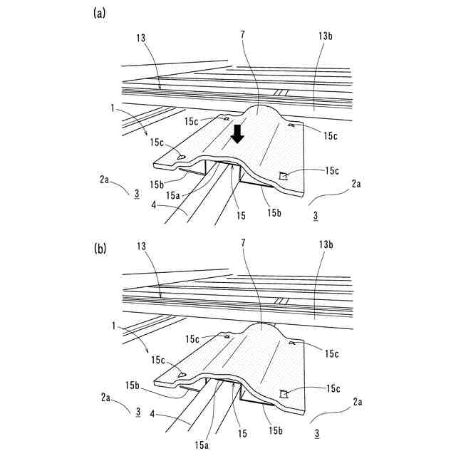
前記天井パネル及び前記樋は、勾配をつけることなく固設され、前記天井パネルの裏側には、平坦面から突出した凸部に被さる吸水材が前記凸部の両側方の平坦面に及ぶように敷設され、前記樋の底部にも吸水材が敷設され、前記樋の底部には、前記吸水材が及ぶ位置に排水口が設けられており、
前記天井パネルの裏側に滴下した漏水を、前記吸水材に生じる毛細管現象を利用して、前記凸部を乗り越えさせ、前記天井パネルから前記樋に誘導し、さらに前記樋の排水口へ誘導して、前記排水口から排水することを特徴とする漏水対策を施した天井構造。
続きを表示(約 690 文字)
【請求項2】
前記天井パネルは、細長く延びる金属製の長板を、前記凸部をなす長さ方向の接合部で継ぎ合わせたスパンドレルであることを特徴とする請求項1に記載の漏水対策を施した天井構造。
【請求項3】
前記天井パネルには、前記凸部によって前記樋へ至る水の流れが阻止された閉塞箇所が存在している場合でも、
前記閉塞箇所に滴下した漏水は、前記吸水材により前記凸部を乗り越えて、前記樋に連通する前記天井パネルの平坦面に移動して排水されることを特徴とする請求項1に記載の漏水対策を施した天井構造。
【請求項4】
請求項1乃至3のいずれかに記載の漏水対策を施した天井構造の施工方法において、前記吸水材にクリップを取り付け、前記吸水材を前記天井パネルの下方から開口部を介して前記天井パネルの裏側に挿入し、所定の位置に押し付けると、前記クリップにより前記吸水材が前記天井パネルに係合して固定されるようにしたことを特徴とする施工方法。
【請求項5】
請求項1乃至3のいずれかに記載の漏水対策を施した天井構造の施工方法において、前記樋の溝部材は、天井パネルの部位及び配置に応じた形状の接続継手を介して接続することを特徴とする施工方法。
【請求項6】
請求項1乃至3のいずれかに記載の漏水対策を施した天井構造の施工方法において、天井下地に樋付金具を予め取り付けておき、前記樋付金具の一側部の係合段部に前記樋の一側部の係合段部を係合させて、前記樋を回転させ、前記樋付金具の他側部に前記樋の他側部を固定することを特徴とする施工方法。
発明の詳細な説明
【技術分野】
【0001】
この発明は、スラブからの漏水対策を施した天井構造及びその施工方法に関する。
続きを表示(約 1,100 文字)
【背景技術】
【0002】
一般に、高架駅や地下駅、駅舎等では、コンクリート構造物であるスラブから吊ボルトにより野縁受けと野縁を格子状に組み合わせた天井下地を吊り下げて支持し、天井下地の下面側に天井パネルを張設した吊り天井が採用される。
【0003】
このような吊り天井では、上方のスラブに入ったクラックから漏水が発生した場合、天井パネルの下方に水が滴下しないように、漏水が発生した箇所の天井パネルの下面を防水シートで養生し、防水シートからホースで床面に置いたバケツに集水する応急的な対策がとられることが多い。
【0004】
また、漏水が発生した箇所の天井パネルの裏側に防水シートを張る対策や、防水パンを設置する対策が施されることもある。
【0005】
そのほか、天井構造全体に及ぶ漏水対策も提案されている。例えば、下記特許文献1には、天井パネルとして金属製の長板を凸部をなす接合部で継ぎ合わせたスパンドレルを用いた吊り天井において、スパンドレルに一端から他端にかけて勾配をつけ、その端辺に沿った見切り縁の樋部の底面にも勾配をつけて排水するものが記載されている。
【0006】
また、下記特許文献2には、スパンドレルからなる天井パネルを長さ方向に分割して、それぞれのスパンドレルを分割部に向けて下り勾配となるように傾斜させ、その分割部に設けた樋の底面に勾配をつけることにより排水するものが記載されている。
【先行技術文献】
【特許文献】
【0007】
特開2005-336727号公報
特開2006-16846号公報
【発明の概要】
【発明が解決しようとする課題】
【0008】
しかしながら、防水シートや防止パンによる局所的な対策では、将来的に発生する漏水箇所は特定できないため、漏水が発生する都度、対応する必要があるほか、集水のためのホースやバケツが駅構内の歩行者の通行の邪魔になったりするという問題がある。
【0009】
また、天井パネルの裏側に防水シートを張る場合や防止パンを設置する場合、その搬入や設置に多大な手間を要し、天井裏に設置空間がない場合、この対策は不可能である。
【0010】
一方、特許文献1,2に記載されたように、スパンドレルの天井パネルや樋に勾配をつける対策では、施工に手間がかかるだけでなく、天井パネルの裏側において、凸部をなす長板の接合部と天井パネルの裏側に突出する設備機器の周縁部などで囲まれた閉塞箇所からの漏水の逃げ道がなく、この閉塞箇所に漏水が滞留するという問題がある。
(【0011】以降は省略されています)
特許ウォッチbot のツイートを見る
この特許をJ-PlatPat(特許庁公式サイト)で参照する
関連特許
宮地エンジニアリング株式会社
防音壁
5日前
東日本旅客鉄道株式会社
漏水対策を施した天井構造及びその施工方法
5日前
東日本旅客鉄道株式会社
物流システム、人員手配方法及びプログラム
12日前
東日本旅客鉄道株式会社
列車指定システム、列車指定方法及びプログラム
12日前
東日本旅客鉄道株式会社
情報処理装置、情報処理方法および情報処理プログラム
1か月前
個人
接合構造
2か月前
個人
屋台
2か月前
個人
タッチミー
2か月前
個人
野良猫ハウス
3か月前
個人
安心補助てすり
1か月前
個人
転落防止用手摺
3か月前
個人
フェンス
3か月前
ニチハ株式会社
建築板
3か月前
個人
筋交自動設定装置
2か月前
個人
地下型マンション
5か月前
個人
ベンリナアングル
2か月前
個人
居住車両用駐車場
3か月前
積水樹脂株式会社
柵体
3か月前
株式会社タナクロ
テント
5か月前
個人
鋼管結合資材
5か月前
個人
免震建築構造
5日前
個人
熱抵抗多層断熱建材
3か月前
個人
柵
4か月前
個人
補強部材
3か月前
個人
防災建築物
1か月前
株式会社シンケン
住宅
1か月前
個人
循環流水式屋根融雪装置
5か月前
個人
住宅の省エネ方法
1日前
個人
身体用シェルター
2か月前
株式会社フジタ
合成床
5日前
個人
身体用シェルター
2か月前
鹿島建設株式会社
壁体
3か月前
成友建設株式会社
建物
3か月前
株式会社熊谷組
木質材料
2か月前
株式会社熊谷組
床構成材
2か月前
個人
可搬型供養墓
2か月前
続きを見る
他の特許を見る