TOP
|
特許
|
意匠
|
商標
特許ウォッチ
Twitter
他の特許を見る
10個以上の画像は省略されています。
公開番号
2025176513
公報種別
公開特許公報(A)
公開日
2025-12-04
出願番号
2024082719
出願日
2024-05-21
発明の名称
電解セル及びそれを用いた化合物の製造方法
出願人
東京都公立大学法人
代理人
個人
,
個人
,
個人
,
個人
主分類
C25B
3/26 20210101AFI20251127BHJP(電気分解または電気泳動方法;そのための装置)
要約
【課題】水素の副生を抑制し、エネルギーキャリアとして有用且つエネルギー効率に優れるギ酸製造のための電解セル、これを用いるギ酸の製造方法、得られたギ酸を用いる燃料電池、及びその製造方法を提供すること。
【解決手段】多孔質のアノード膜、非多孔質のプロトン交換膜、多孔質の親水性濾過膜、及び多孔質で且つ親水性のカソード膜がこの順に積層されたユニット膜を備える電解セルであって、前記親水性濾過膜、及び前記カソード膜は、細孔を介して連通している、電解セル。
【選択図】なし
特許請求の範囲
【請求項1】
多孔質のアノード膜、非多孔質のプロトン交換膜、多孔質の親水性濾過膜、及び多孔質で且つ親水性のカソード膜がこの順に積層されたユニット膜を備える電解セルであって、
前記親水性濾過膜、及び前記カソード膜は、細孔を介して連通している、電解セル。
続きを表示(約 900 文字)
【請求項2】
前記アノード膜は被酸化性物質の電気分解によりプロトン及び電子を生成し、前記プロトン交換膜にプロトンを供給し、電子を前記カソード膜に供給し、
前記親水性濾過膜は、前記プロトン交換膜から供給されたプロトンと、重炭酸イオンとを反応させてCO
2
と水とを生成し、
前記カソード膜は、前記親水性濾過膜で生成したCO
2
を、前記アノード膜から供給された電子と反応させてギ酸を生成するよう構成されている、請求項1に記載の電解セル。
【請求項3】
前記重炭酸イオンは、CO
2
のアルカリ吸収液として前記カソード膜側から前記親水性濾過膜に供給され、
前記重炭酸イオンの濃度は、3mmol/L~3mol/Lである、請求項2に記載の電解セル。
【請求項4】
前記親水性濾過膜の厚さが、0.1μm超5mm以下である、請求項1に記載の電解セル。
【請求項5】
前記カソード膜の、前記親水性濾過膜側とは反対側に、重炭酸塩水溶液を流すための流路を有するカソード側フロープレートとを有する、請求項1に記載の電解セル。
【請求項6】
前記流路が、サーペンタイン流路、格子溝流路、又は並列流路である、請求項5に記載の電解セル。
【請求項7】
請求項1~6のいずれか1項に記載の電解セルを用いるギ酸の製造方法。
【請求項8】
前記ユニット膜内にCO
2
のアルカリ吸収液を供給すること、及び生成したギ酸水溶液を回収することを含む、請求項7に記載のギ酸の製造方法。
【請求項9】
CO
2
のアルカリ吸収液を循環させてギ酸を製造する循環式又はアルカリ吸収液を循環させず連続的に供給する連続式である、請求項7に記載のギ酸の製造方法。
【請求項10】
請求項7に記載のギ酸の製造方法で得られたギ酸含有組成物、燃料電池の燃料としての使用。
(【請求項11】以降は省略されています)
発明の詳細な説明
【技術分野】
【0001】
本発明は、電解セル及びそれを用いる化合物の製造方法に関する。
続きを表示(約 2,700 文字)
【背景技術】
【0002】
ネガティブエミッション及び再生可能エネルギー活用の観点から、DAC(Direct Air Capture)及び二酸化炭素(CO
2
)の電解還元による燃料生産は最も注目すべき技術である。CO
2
電解セルとしては、CO
2
ガス及びカソード溶液と接触するカソードと、アノード溶液と接触するアノードと、カソードとアノードとを分離するイオン交換膜(多くはアニオン交換膜、あるいはバイポーラ膜)とを備える構造が検討されている(特許文献1)。しかし、ガス供給型のCO
2
電解セルでは、CO
2
ガスの精製や圧縮にコストがかかるとともに、アノードとカソードが離れているためセル抵抗が高く電圧の損失が大きい。また、アノードへのクロスオーバー及びCO
2
還元反応の遅さ故にCO
2
の利用効率が低く、未反応のCO
2
がアノード及びカソードから排出されてしまう問題があった。DAC技術においても、アルカリ吸収されたCO
2
をガスとして回収するためには多大なエネルギー損失が生じる問題があった。そこで、アルカリ吸収液を直接利用するRCC(Reactive CO
2
Capture)技術の開発が期待されている。近年、アルカリ吸収液である炭酸水素塩(重炭酸塩)水溶液や炭酸塩水溶液を原料としたCO
2
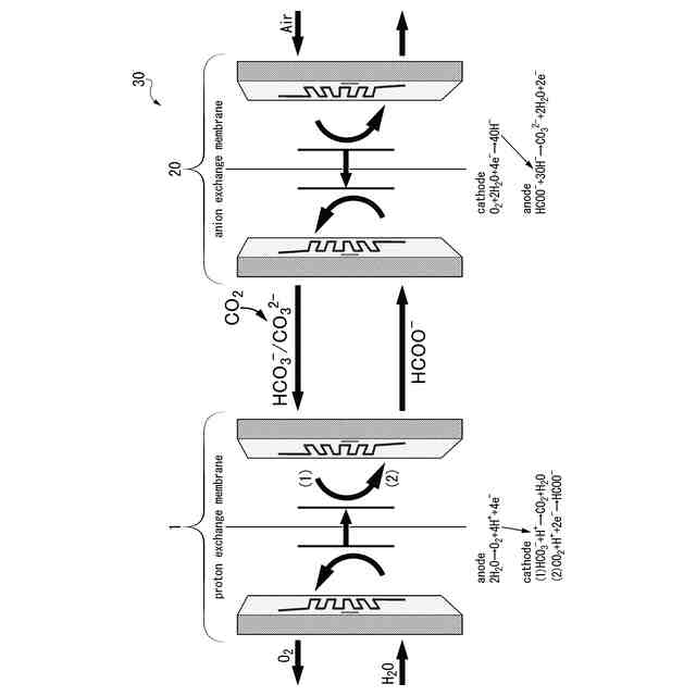
電解による有用化合物の製造法が報告されている(特許文献2)。再生可能エネルギーを有効活用するための水素キャリアとしてギ酸は最も有望な化合物であり、これまでに重炭酸塩水溶液電解によるギ酸生成も報告されている(非特許文献1及び2)。
【0003】
非特許文献1によれば、高純度のCO
2
ガスの代わりに、CO
2
をアルカリ水溶液と反応させ重炭酸イオンとした重炭酸塩水溶液を炭素源として用いることにより、CO
2
の回収、精製、圧縮等の多大なエネルギー消費を要する工程を削減することができ、総じてエネルギー消費量を削減することができる。
【先行技術文献】
【特許文献】
【0004】
特開2019-157252号公報
国際公開第2019/204938号
【非特許文献】
【0005】
ACS Energy Lett. 2020, 5, 2624-2630 Conversion of Bicarbonate to Formate in an Electrochemical Flow Reactor
ACS Appl. Mater. Interfaces 2022, 14, 30760-30771 Engineering Aspects for the Design of a Bicarbonate Zero-Gap Flow Electrolyzer for the Conversion of CO2 to Formate
【発明の概要】
【発明が解決しようとする課題】
【0006】
しかしながら、非特許文献1及び2を含めて重炭酸塩電解セルにおけるギ酸生成の電流効率(ファラデー効率)は最大でも60%であった。
例えば、非特許文献1の電解セルでは、下記式(1)及び(2)で表される反応が進行することによりギ酸を生成するが、下記(2)の反応と競合して、下記式(3)の反応が進行することが原因で、ファラデー効率が低下するものと考えられる。
【0007】
HCO
3
-
+H
+
→CO
2
+H
2
O ・・・(1)
CO
2
+2H
+
+2e
-
→HCOOH ・・・(2)
2H
+
+2e
-
→H
2
・・・(3)
【0008】
ガス供給型のCO
2
電解セル(特許文献1)では、CO
2
ガスの精製コストが高く、炭素利用効率が低いという問題がある。アルカリ吸収液の供給では、一酸化炭素やエチレン等のガスを生成する重炭酸及び炭酸電解セル(特許文献2等)が報告されている。しかし、ガス状の生成物はエネルギーキャリアとして活用することはできない。アルカリ吸収液の供給によって、液体であるギ酸を生成するCO
2
電解セル(非特許文献1及び2)は有望なRCC技術である。しかしながら、ギ酸生成のファラデー効率が最大でも60%であり、水素が副生してしまう課題があった。また、従来のガス供給型のCO
2
電解セルの問題、すなわち、高いセル抵抗、低い炭素利用効率、及び長時間反応における不安定性の問題は解決されていない。
【0009】
本発明が解決しようとする課題は、水素の副生を抑制できるギ酸製造のための電解セル、これを用いるCO
2
のアルカリ吸収液からのギ酸の製造方法、得られたギ酸を用いる燃料電池、及びその電解セルと燃料電池を備えたシステムを提供することである。
【課題を解決するための手段】
【0010】
本発明者らは、上記課題を解決するために鋭意検討した結果、カソード内部へと速やかに重炭酸塩水溶液を輸送し、親水性濾過膜を介して、アノードとカソードを分離するプロトン交換膜へ連続的に重炭酸イオンを供給することによって、カソード内部で効率的にCO
2
を発生させることにより、上記課題を解決することができることを見出し、本発明を完成した。
親水性濾過膜において重炭酸イオンとプロトンが効率よく中和反応することによって、プロトンが消費されるためカソードでの水素発生反応が抑制される。重炭酸塩水溶液を供給し、多孔質輸送層及び触媒層を含むカソードを親水性とし、プロトン交換膜とカソードの中間に親水性の多孔質膜である親水性濾過膜を設置することにより、重炭酸塩水溶液をプロトン交換膜の近傍に速やかに輸送することで、高効率なRCC技術を提供するという点で従来の先行技術と相違する。
(【0011】以降は省略されています)
この特許をJ-PlatPat(特許庁公式サイト)で参照する
関連特許
東京都公立大学法人
陳列装置
17日前
東京都公立大学法人
酵素含有組成物
1か月前
東京都公立大学法人
電解セル及びそれを用いた化合物の製造方法
2日前
東京都公立大学法人
影生成装置、影生成方法、およびプログラム
1か月前
ウシオ電機株式会社
二酸化炭素吸収材、及び二酸化炭素の回収方法
8日前
株式会社堤水素研究所
水電解装置
1か月前
株式会社神戸製鋼所
接点材料
29日前
株式会社ケミカル山本
電解研磨装置用電極
1か月前
本田技研工業株式会社
差圧式電解装置
1か月前
一般財団法人電力中央研究所
電解反応装置
2か月前
本田技研工業株式会社
水電解スタック
2か月前
本田技研工業株式会社
CO2電解装置
2か月前
SECカーボン株式会社
カソードアセンブリ
2か月前
東レ株式会社
液体電解用多孔質輸送層およびその製造方法
29日前
株式会社荏原製作所
蒸気発電プラント
1か月前
メルテックス株式会社
極薄電解銅箔及びその製造方法
1か月前
古河電気工業株式会社
端子
1か月前
株式会社デンソー
電解装置
1か月前
睦技研株式会社
バレルめっき装置
1日前
旭化成株式会社
電解装置の運転方法
1か月前
三菱マテリアル株式会社
皮膜付端子材及びその製造方法
1か月前
本田技研工業株式会社
膜電極構造体の製造方法
1か月前
大阪瓦斯株式会社
共電解メタネーション装置
1か月前
大阪瓦斯株式会社
共電解メタネーション装置
1か月前
三菱重工業株式会社
皮膜形成装置
1か月前
株式会社トクヤマ
電解槽ユニット
1日前
株式会社トクヤマ
電解槽ユニット
1日前
株式会社フジタ
水電解装置
1か月前
本田技研工業株式会社
電気化学式水素昇圧システム
1か月前
本田技研工業株式会社
電気化学式水素昇圧システム
2か月前
JX金属株式会社
電着金属の搬送システム及び搬送方法
1か月前
日本碍子株式会社
電気化学セル
1か月前
トヨタ自動車株式会社
水電解システム
29日前
株式会社ホクトウ
バレルメッキ装置用リード線のリサイクル方法
1か月前
三菱マテリアル株式会社
めっき皮膜付銅端子材及びその製造方法
2か月前
株式会社アイシン
電解システム
1か月前
続きを見る
他の特許を見る