TOP
|
特許
|
意匠
|
商標
特許ウォッチ
Twitter
他の特許を見る
10個以上の画像は省略されています。
公開番号
2025176026
公報種別
公開特許公報(A)
公開日
2025-12-03
出願番号
2025134777,2021565116
出願日
2025-08-13,2020-05-04
発明の名称
ラベル及び製造方法
出願人
パイロット・イタリア・エス.ピー.エー.
,
PILOT ITALIA S.p.A.
代理人
弁理士法人鈴榮特許綜合事務所
主分類
G09F
3/00 20060101AFI20251126BHJP(教育;暗号方法;表示;広告;シール)
要約
【課題】吊下げ持ち手を有するラベルを製造する方法を提供する。
【解決手段】剥離可能な裏打ち層と第1の正面層とを備える第1のラミネート材料を提供し、第1の正面層を剥離促進剤でコーティングし、剥離促進剤のない自由領域を残す。第2の正面層と粘着層とを備える第2のラミネート材料を提供し、第2のラミネート材料の粘着層は第1のラミネート材料の自由領域に粘着するように組み立てられた構成要素又は結合された材料中で、第1のラミネート材料と、第2のラミネート材料とを接合する。第2のラミネート材料の持ち手領域中で、内側でのみ持ち手を切断し、第1の正面層は、持ち手領域とは異なる2次ラベル領域中で、2次ラベルを切断し、第1の正面層中にラベル輪郭を形成し、吊下げ持ち手を切断することを回避し、第1の正面層の一部を除去し、ラベル輪郭を越えて突出する、吊下げの持ち手部分を構成する空洞を備える方法。
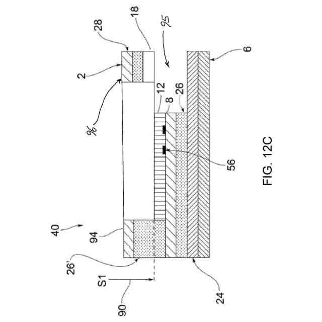
【選択図】図12C
特許請求の範囲
【請求項1】
吊り下げ持ち手(2)を有するラベル(1)を製造するための方法であって、
i)剥離可能な様式で接合された裏打ち層(6)と第1の正面層(8)とを備える第1のラミネート材料(4)を提供すること、ここにおいて、前記第1の正面層(8)は、正面(10)を備える、
ii)前記第1の正面層(8)の前記正面(10)を剥離促進剤の少なくとも1つの層(12、18)でコーティングし、剥離促進剤の前記少なくとも1つの層(12、18)が欠落している自由領域(14)を残すこと、
iv)第2の正面層(28)と粘着層(26’)とを備える第2のラミネート材料(20)を提供すること、ここにおいて、前記第2の正面層(28)は、予め規定された厚さ(S1)を有する、
v)前記第2のラミネート材料(20)の前記粘着層(26’)が少なくとも前記第1のラミネート材料(4)の前記自由領域(14)に粘着するように、組み立てられた構成要素又は結合された材料(40)中でステップii)の前記第1のラミネート材料(4)とステップiv)の前記第2のラミネート材料(20)とを接合すること、
vii)前記第2のラミネート材料(20)の持ち手領域(16)中で、及び前記第2のラミネート材料(20)の前記予め規定された厚さ(S1)の内側でのみ吊り下げ持ち手(2)を切断し、前記第1の正面層(8)をそのままにし、前記持ち手領域(16)とは異なる2次ラベル領域(36)中で、及び前記第2のラミネート材料(20)の前記予め規定された厚さ(S1)内でのみ少なくとも1つの2次ラベル(34)を切断し、前記第1の正面層(8)中にラベル輪郭(38)を形成し、前記吊り下げ持ち手(2)を切断することを回避し、前記第1の正面層(8)の一部分を除去し、このことから、前記ラベルが形成された前記吊り下げ持ち手(2)の持ち手部分(96)を構成する空洞(95)を作成し、前記ラベル輪郭(38)を越えて張り出すように突出すること、
を行うステップを備える、方法。
続きを表示(約 2,900 文字)
【請求項2】
前記第2のラミネート材料(20)は、光に対して透明である第2の正面層(28)を備え、
及び/又は、
前記第2の正面層(28)は、前記第1の正面層(8)上に重ね合わせられた第1のグラフィック層(56)を隠すことなくその存在を露呈させるために、前記吊り下げ持ち手(2)において部分的にのみ不透明にされ、前記2次ラベル(34)において、前記ラベル(1)は、その透明性を実質的に排除するために前記第2の正面層(28)上に重ね合わせられた不透明なコントラスト層(104)と、前記不透明なコントラスト層(104)上に重ね合わせられた少なくとも第2のグラフィック層(58)と、光に対して少なくとも部分的に透明な前記第2のグラフィック層(58)の少なくとも1つの保護層(106)とを備え、
前記少なくとも1つの保護層(106)は、少なくとも1μm以上の厚さで、フレキソ印刷法によって前記第2のグラフィック層(58)上に適用される、
請求項1に記載の方法。
【請求項3】
前記少なくとも1つの保護層(106)は、インク筆記用具、例えばボールペン(jotter)を通して、又はインラインマーキング、例えば熱転写で書き込み可能な表面(108)の範囲を定める、請求項1又は2に記載の方法。
【請求項4】
前記第2の正面層(28)は、剥離促進剤層(12、18)の剥離促進剤物質と混合された顔料又は着色料を通して不透明にされ、
及び/又は、
ステップvii)では、前記吊り下げ持ち手(2)と異なる領域(36)中の少なくとも1つの2次ラベル(34)との分離が、前記ラベル(1)が形成された前記吊り下げ持ち手(2)が前記ラベル輪郭(38)を越えて部分的に片持ち状で配置されるように、前記第1の正面層(8)中での前記ラベル輪郭(38)の前記形成とは反対の方向に生じ、 及び/又は、
ステップvii)では、前記分離及び前記形成は、型抜きステップである、請求項1~3のうちのいずれか一項に記載の方法。
【請求項5】
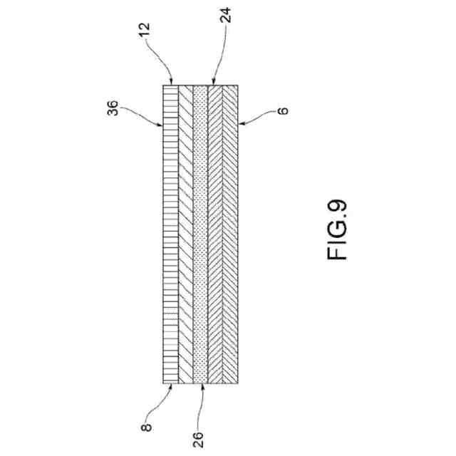
-前記第1のラミネート材料(4)と前記第2のラミネート材料(20)の前駆体(22)とは、相互に重ね合わせられた、裏打ち層(6)、脱粘着層(24)、粘着層(26、26’)、及び第1(8)/第2の(28)正面層を備える対応する又は実質的に同一の層を備え、ステップiv)は、ステップv)の上流で前記前駆体(22)の前記裏打ち層及び前記脱粘着層を分離し、オプションとして破棄するステップを備え、
及び/又は、
-ステップvii)は、前記自由領域(14)の外側で実施され、そのため、前記自由領域(14)では、前記第2の正面層(28)は、前記吊り下げ持ち手(2)の単一の固定足(46)を作成し、そこからリングで相互に接続された一対のアーム(48、48’)が延在し、
及び/又は、
-ステップii)は、前記2次ラベル(34)の外側で剥離促進剤の第1(12)及び第2(18)の相互に重ね合わせられた層でコーティングするステップを備える、
請求項1~4のうちのいずれか一項に記載の方法。
【請求項6】
例えば、請求項1~5に記載の方法を通して得ることができる、吊り下げ持ち手(2)を有するラベル(1)であって、
-剥離可能な様式で接合された裏打ち層(6)と第1の正面層(8)とを備える第1のラミネート材料(4)、ここにおいて、前記第1の正面層(8)は、正面(10)を備える、
-前記第1の正面層(8)の正面(10)をコーティングし、剥離促進剤の少なくとも1つの層(12、18)が欠落している自由領域(14)を残す、剥離促進剤の前記少なくとも1つの層(12、18)、
-第2の正面層(28)及び粘着層(26’)を備える第2のラミネート材料(20)、前記第2のラミネート材料(20)は、前記粘着層(26’)が少なくとも前記自由領域(14)に粘着するように前記第1のラミネート材料(4)に接合され、ここにおいて、前記第2の正面層(28)は、予め規定された厚さ(S1)を有する、
ここにおいて、前記第2の正面層(28)は、吊り下げ持ち手(2)と前記第2の正面層(28)の異なる領域(36)中の2次ラベル(34)との範囲を定め、前記第1の正面層(8)は、ラベル輪郭(38)を形成し、その持ち手の一部分(96)が突出している前記吊り下げ持ち手(2)を、前記裏打ち層(6)に直接面する前記第1の正面層(8)の外側で前記ラベル輪郭(38)を越えて少なくとも部分的に張り出したままにし、このことから、前記第1の正面層(8)の一部分が除去された空洞(95)を形成する、 を備える、ラベル。
【請求項7】
前記第2のラミネート材料(20)は、光に対して透明である第2の正面層(28)を備え、
及び/又は、
前記第2の正面層(28)は、前記第1の正面層(8)上に重ね合わせられた第1のグラフィック層(56)を隠すことなくその存在を露呈させるために、前記吊り下げ持ち手(2)において部分的にのみ不透明にされ、前記2次ラベル(34)において、前記ラベル(1)は、その透明性を実質的に排除するために前記第2の正面層(28)上に重ね合わせられた不透明なコントラスト層(104)と、前記不透明なコントラスト層(104)上に重ね合わせられた少なくとも第2のグラフィック層(58)と、光に対して少なくとも部分的に透明な前記第2のグラフィック層(58)の少なくとも1つの保護層(106)とを備え、
及び/又は、
前記少なくとも1つの保護層(106)は、少なくとも1μm以上の厚さで、フレキソ印刷法によって前記第2のグラフィック層(58)上に適用される、
請求項6に記載のラベル。
【請求項8】
前記少なくとも1つの保護層(106)は、インク筆記用具、例えばボールペン(jotter)を通して、又はインラインマーキング、例えば熱転写で書き込み可能な表面(108)の範囲を定める、請求項6又は7に記載のラベル。
【請求項9】
前記第2の正面層(28)は、剥離促進剤層(12、18)の剥離促進剤物質と混合された顔料又は着色料を通して不透明にされる、請求項6~8のうちのいずれか一項に記載のラベル。
【請求項10】
-前記自由領域(14)では、前記第2の正面層(28)は、前記吊り下げ持ち手(2)の単一の固定足(46)を作成し、そこからリングで相互に接続された一対のアーム(48、48’)が延在し、及び/又は、
-前記第1の正面層(8)の前記正面(10)は、前記2次ラベル(34)の外側で剥離促進剤の第1(12)及び第2(18)の相互に重ね合わせられた層でコーティングされる、
請求項6~9のうちのいずれか一項に記載のラベル。
発明の詳細な説明
【技術分野】
【0001】
[0001][技術分野]
続きを表示(約 1,100 文字)
【0002】
[0002]本発明は、上下逆さまの位置でボトルを吊り下げるための持ち手を有するラベルを製造するための方法、及び例えばそのような方法によって得ることができる持ち手を有するラベルに関する。
【背景技術】
【0003】
[0003][背景技術]
【0004】
[0004]ボトルに適用可能な持ち手を有するラベルは、先行技術文献EP0356574A2に例示されており、それにおいて、そのような持ち手は、使用されていないときにラベルの上縁から遊離して突出する。
【0005】
[0005]そのような解決策は、技術的に複雑でコストが掛かるという主な欠点を有する。このタイプの更なる解決策は、例えば、US 2006/057313 A1、US 5 878 901 A、US 5 135 125 A、CN 201 685 500 Uから知られている。
【0006】
[0006]類似の解決策がUS2006057313に開示されている。この文献の図2bは、それらの厚さ全体を通して切断された層が、ここでは参照番号10によって示されるシリコーンコーティングされた裏打ち層上に配置されて、シリコーンコーティングされた裏打ち層上に完全に載置される持ち手が得られることを示す。
【0007】
[0007]文献WO2018220660は、シリコーンコーティングされた裏打ち層(この文献の図5において参照番号5によって示される)上に載置されている単層から成るラベルを示す。支持持ち手がこの単層に切り込まれ、このシリコーンコーティングされた裏打ち層上に完全に載置される。
【0008】
[0008]代わりに、2つの別個の粘着フィルムを接合することによって作られた持ち手を有するラベルが、同じ所有者による先行文献EP2246266A1から知られている。
【0009】
[0009]そのような文書に示されるように、下側フィルムは、注入容器を識別するために必要とされる文言を備え、その一方で、透明な上側フィルムは、下側フィルムに粘着様式で接合され、容器の内容物を患者に投与するときに容器を上下逆さまに回転させるための持ち手を作る。
【0010】
[0010]この先行技法に関連する欠点は、ラベルがボトルに適用されるとき、表面上に配置された任意の印刷された文字が、ラベリングマシンにおいてボトル及びラベルが受ける機械的応力に起因して損傷を受ける傾向があることである。
(【0011】以降は省略されています)
この特許をJ-PlatPat(特許庁公式サイト)で参照する
関連特許
個人
教育のAI化
27日前
個人
英語教材
1か月前
個人
回転式カード学習具
3か月前
個人
時刻表示機能つき手帳
4か月前
日本精機株式会社
表示装置
3か月前
日本精機株式会社
表示装置
2か月前
日本精機株式会社
表示装置
1か月前
個人
計算用教具
2か月前
中国電力株式会社
標示旗
2か月前
日本精機株式会社
車両用表示装置
3か月前
個人
インフィニティミラー
28日前
日本精機株式会社
車両用表示装置
1か月前
日本精機株式会社
車両用表示装置
3か月前
日本精機株式会社
車両用表示装置
3か月前
個人
モデルで薔薇の花嫁様を描く為
2か月前
個人
微細構造を模した理科学習教材
1か月前
日本精機株式会社
車両用センサ装置
2か月前
日榮新化株式会社
対象物質感知シート
27日前
シャープ株式会社
表示装置
2か月前
ニチレイマグネット株式会社
サイン器具
1か月前
株式会社一弘社
情報表示板
3か月前
株式会社ウメラボ
学習支援システム
1か月前
株式会社ウメラボ
学習支援システム
2か月前
個人
音楽教材
3か月前
日本精機株式会社
表示装置及びその製造方法
1か月前
株式会社半導体エネルギー研究所
半導体装置
4か月前
ニチレイマグネット株式会社
磁着式電飾装置
2か月前
朝日インテック株式会社
ラベルシート
1か月前
シャープ株式会社
表示装置
1か月前
リンテック株式会社
表示体
1か月前
朝日インテック株式会社
生体モデル装置
1か月前
株式会社リコー
画像投射システム
2か月前
株式会社イリオスNOTO
シート保管具
1か月前
学校法人関西医科大学
腹腔鏡手術訓練装置
2か月前
個人
サインポスト
4か月前
シチズンファインデバイス株式会社
液晶表示装置
3か月前
続きを見る
他の特許を見る