TOP
|
特許
|
意匠
|
商標
特許ウォッチ
Twitter
他の特許を見る
公開番号
2025175138
公報種別
公開特許公報(A)
公開日
2025-11-28
出願番号
2025157804,2021149528
出願日
2025-09-24,2021-09-14
発明の名称
シリコン単結晶の製造方法
出願人
株式会社SUMCO
代理人
個人
,
個人
主分類
C30B
29/06 20060101AFI20251120BHJP(結晶成長)
要約
【課題】マルチ引き上げなどの長時間の結晶引き上げに使用しても消耗しにくいルツボ保護シートを用いたシリコン単結晶の製造方法を提供する。
【解決手段】
1回の引き上げバッチでシリコン原料を加熱するヒータの通電時間が500時間以上となるCZ法によるシリコン単結晶の製造方法であって、石英ルツボとカーボン製の支持ルツボとの間にカーボン製のルツボ保護シートを敷設した状態でシリコン単結晶の引き上げを行い、前記ルツボ保護シートは、容積が2000cc且つ通気口の開口面積が490mm
2
である測定タンクを用意し、当該測定タンク内を200Pa以下に減圧した状態で前記通気口を前記ルツボ保護シートの一方の主面側に接続し、前記ルツボ保護シートの他方の主面側を大気開放したとき、当該大気開放を開始してから30分経過時の前記測定タンク内の圧力変化量が104.9Pa以下となるものである。
【選択図】図3
特許請求の範囲
【請求項1】
1回の引き上げバッチでシリコン原料を加熱するヒータの通電時間が500時間以上となるCZ法によるシリコン単結晶の製造方法であって、
石英ルツボとカーボン製の支持ルツボとの間にカーボン製のルツボ保護シートを敷設した状態でシリコン単結晶の引き上げを行い、
前記ルツボ保護シートは、容積が2000cc且つ通気口の開口面積が490mm
2
である測定タンクを用意し、当該測定タンク内を200Pa以下に減圧した状態で前記通気口を前記ルツボ保護シートの一方の主面側に接続し、前記ルツボ保護シートの他方の主面側を大気開放したとき、当該大気開放を開始してから30分経過時の前記測定タンク内の圧力変化量が104.9Pa以下となるものであることを特徴とするシリコン単結晶の製造方法。
続きを表示(約 1,100 文字)
【請求項2】
前記圧力変化量が53.5Pa以下である、請求項1に記載のシリコン単結晶の製造方法。
【請求項3】
1回の引き上げバッチで3本以上のシリコン単結晶を引き上げる、請求項1又は2に記載のシリコン単結晶の製造方法。
【請求項4】
前記シリコン単結晶の酸素濃度スペックの上下限の幅が3×10
17
atoms/cm
3
(ASTM F-121(1979))以下である、請求項1又は2に記載のシリコン単結晶の製造方法。
【請求項5】
前記シリコン単結晶の直径が300mm以上である、請求項1又は2に記載のシリコン単結晶の製造方法。
【請求項6】
カーボン製のルツボ保護シートを用意するステップと、
容積が200cc且つ通気口の開口面積が490mm
2
である測定タンクを用意し、当該測定タンク内を200Pa以下に減圧した状態で前記通気口を前記ルツボ保護シートの一方の主面側に接続し、前記ルツボ保護シートの他方の主面側を大気開放したとき、当該大気開放を開始してから30分経過時の前記測定タンク内の圧力変化量を測定するステップと、
前記ルツボ保護シートの前記圧力変化量が104.9Pa以下である場合に、当該ルツボ保護シートを石英ルツボとカーボン製の支持ルツボとの間に敷設するステップと、
前記ルツボ保護シートを介して前記支持ルツボ内に収容された前記石英ルツボを用いてCZ法によるシリコン単結晶の1回の引き上げバッチを行うステップとを備え、
前記1回の引き上げバッチでシリコン原料を加熱するヒータの通電時間が500時間以上であることを特徴とするシリコン単結晶の製造方法。
【請求項7】
前記ルツボ保護シートを前記石英ルツボと前記カーボン製の支持ルツボとの間に敷設するステップは、前記ルツボ保護シートの前記圧力変化量が53.5Pa以下である場合に行われる、請求項6に記載のシリコン単結晶の製造方法。
【請求項8】
前記1回の引き上げバッチで3本以上のシリコン単結晶を引き上げる、請求項6又は7に記載のシリコン単結晶の製造方法。
【請求項9】
前記シリコン単結晶の酸素濃度スペックの上下限の幅が3×10
17
atoms/cm
3
(ASTM F-121(1979))以下である、請求項6又は7に記載のシリコン単結晶の製造方法。
【請求項10】
前記シリコン単結晶の直径が300mm以上である、請求項6又は7に記載のシリコン単結晶の製造方法。
発明の詳細な説明
【技術分野】
【0001】
本発明は、チョクラルスキー法(CZ法)によるシリコン単結晶の引き上げに用いられるルツボ保護シート及びこれを用いたシリコン単結晶の製造方法に関する。
続きを表示(約 2,200 文字)
【背景技術】
【0002】
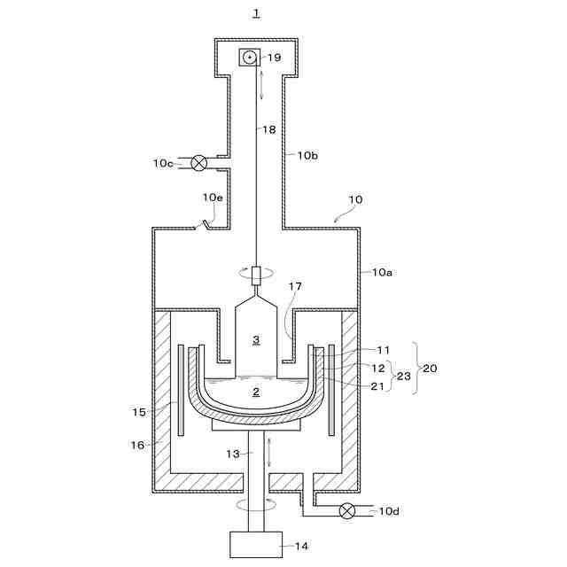
半導体デバイスの基板材料となるシリコン単結晶の多くはCZ法により製造されている。CZ法ではルツボ内に収容されたシリコン融液に種結晶を浸漬し、種結晶及びルツボを回転させながら種結晶を徐々に上昇させることにより、種結晶の下端に単結晶を成長させる。CZ法によれば直径300mm以上の大口径シリコン単結晶を高い歩留りで製造することが可能である。
【0003】
CZ法においてシリコン融液を収容するルツボは、内側を石英ルツボとし、外側を黒鉛製の支持ルツボとする二重構造であり、石英ルツボは支持ルツボに収容された状態で引き上げ炉内に設置される。例えば、特許文献1には、炭素繊維強化炭素複合素材(カーボンコンポジット)製の支持ルツボが記載されている。
【0004】
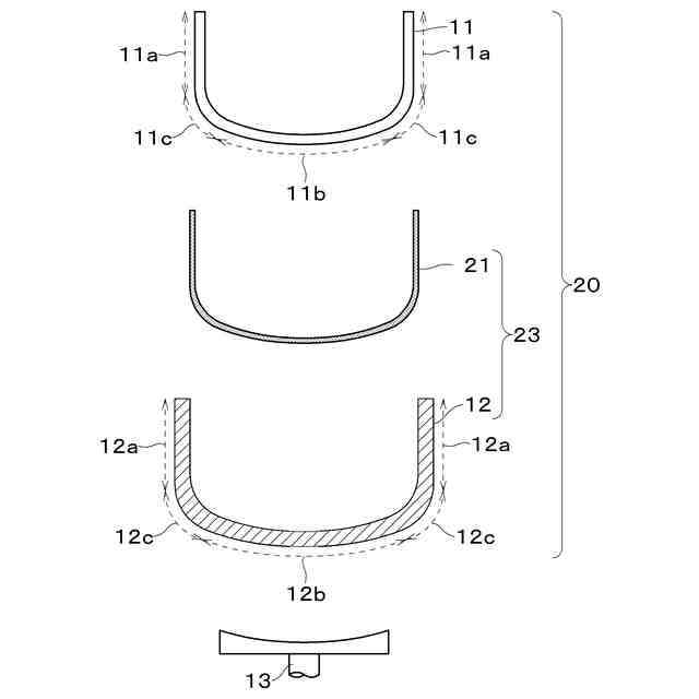
石英ルツボはガラス製であり割れや欠けが生じやすいので、支持ルツボに収容する際の取扱いには十分な注意が必要である。また石英ルツボから発生するSiOガス等がカーボン製の支持ルツボと反応して支持ルツボのSiC化や減肉等が発生するという問題もある。
【0005】
このような問題に対処するため、石英ルツボと支持ルツボとの間にカーボン製の保護シートを介在させることが行われている(例えば、特許文献1参照)。カーボンコンポジット製の成型体である支持ルツボは高価であるためその消耗をできるだけ抑えることが好ましく、カーボンシートを介在させた場合には支持ルツボと石英ルツボとの反応を抑えて支持ルツボの寿命を延ばすことができる。また、支持ルツボ内に石英ルツボを設置する際に石英ルツボに対する衝撃を緩衝することができ、また支持ルツボから石英ルツボを取り出しやすくすることもできる。
【0006】
シリコン単結晶引き上げ用ルツボ保護シートに関し、例えば特許文献2には、膨張黒鉛からなり、面方向の熱伝導率が120W/(m・K)であり、厚さ方向から34.3MPaの加圧力で加圧圧縮したときの圧縮率が20%以上であるルツボ保護シートが記載されている。また、特許文献3には、膨張黒鉛からなり、総灰分が100massppm以下であり、混入している複数の不純物のうち、特定元素の重量割合が3massppm以下であるルツボ保護シートが記載されている。特許文献4には、ガス透過率が1.0×10
-4
cm
2
/s以下であり、かさ密度が0.5~1.6Mg/m
3
の黒鉛膨張シートからなるルツボ保護シートが記載されている。
【先行技術文献】
【特許文献】
【0007】
特開2013-245155号公報
特開2008-19138号公報
特開2008-81388号公報
特開2009-215162号公報
【発明の概要】
【発明が解決しようとする課題】
【0008】
近年は結晶引き上げ技術の向上によりいわゆるマルチ引き上げ工程を実施する機会が多くなっている。マルチ引き上げでは、1回の引き上げバッチで複数本のシリコン単結晶を引き上げるため、結晶引き上げ時間が非常に長く、ヒータ通電時間が500時間を超えることもある。このように結晶引き上げ時間が非常に長くなると、炉内部品にかかる熱負荷が非常に大きくなり、結晶引き上げの途中でルツボ保護シートが完全に消耗し、これにより支持ルツボの消耗が進むだけでなく、シリコン単結晶中の酸素濃度が急激に低下して所望の酸素濃度スペックを満たさなくなるという問題がある。近年では、要求される酸素濃度スペック(製造仕様)の上下限の幅が狭くなる傾向があり、酸素濃度スペック(製造仕様)の上下限の幅が3×10
17
atoms/cm
3
以下(ASTM F-121(1979))という非常に狭いスペックが要求される場合があることから、酸素濃度のスペック外れの問題が顕著である。
【0009】
なお、スペック(製造仕様)とは、シリコン単結晶の製造前に客先仕様に基づいて予め設定される単結晶の品質に関わる仕様のことであり、シリコン単結晶を製造するにあたって、シリコン単結晶の品質として許容される範囲を言う。酸素濃度スペックとはシリコン単結晶の酸素濃度に関する許容範囲であり、一般的に、酸素濃度スペックは、その上限値と下限値が定められ、その範囲内の酸素濃度になるようにシリコン単結晶が製造される。その範囲内の酸素濃度の単結晶部分は合格品であり、他の品質条件を満たせば、その後の加工によりウェーハ製品となり出荷されるが、その範囲外の酸素濃度の単結晶部分は不合格品でありウェーハ製品とならない。
【0010】
上述の酸素濃度のスペック外れの問題は、従来でもマルチ引き上げの1本目及び2本目では生じることがなく、3本目を引き上げたときに初めて生じる問題であり、ヒータ通電時間が500時間以上と極めて長時間に及ぶことで分かってきた新たな課題である。また、上記問題は、酸素濃度スペック(製造仕様)の上下限の幅が3×10
17
atoms/cm
3
以下のシリコン単結晶を製造する場合に生じる問題であり、狭い酸素濃度スペックが要求されることで顕著になった課題である。
(【0011】以降は省略されています)
この特許をJ-PlatPat(特許庁公式サイト)で参照する
関連特許
株式会社SUMCO
シリコン単結晶の製造方法
3日前
株式会社SUMCO
原料供給方法、シリコン単結晶製造方法、原料供給制御装置、および、シリコン単結晶製造システム
1か月前
SECカーボン株式会社
坩堝
7か月前
株式会社CUSIC
SiC積層体の製造方法
5か月前
SECカーボン株式会社
結晶成長装置
7か月前
アムジエン・インコーポレーテツド
SLC30A8発現を阻害するためのRNAiコンストラクト及びその使用方法
1か月前
住友金属鉱山株式会社
結晶育成装置
3か月前
学校法人 東洋大学
マルチカラー結晶の結晶成長方法
6か月前
株式会社FLOSFIA
構造体および構造体の製造方法
3か月前
株式会社SUMCO
単結晶の製造方法
5か月前
富士電機株式会社
半導体装置及びその製造方法
11日前
信越化学工業株式会社
炭化金属被覆材料
5か月前
コマディール・エス アー
サファイア棒状体の製造方法
6か月前
セイコーエプソン株式会社
人工水晶製造装置
3か月前
信越半導体株式会社
半導体ウェーハの製造方法
1か月前
株式会社C&A
処理装置および方法
6か月前
株式会社レゾナック
SiCエピタキシャルウェハ
6か月前
日本碍子株式会社
AlN単結晶基板及びデバイス
2か月前
住友金属鉱山株式会社
圧電性酸化物単結晶基板の製造方法
6か月前
住友金属鉱山株式会社
圧電性酸化物単結晶基板の製造方法
5か月前
信越半導体株式会社
3C-SiC膜の結晶性評価方法
8か月前
住友金属鉱山株式会社
単結晶の育成方法及びその装置
1か月前
住友電気工業株式会社
炭化珪素基板の製造方法
4か月前
住友電気工業株式会社
炭化珪素基板の製造方法
4か月前
住友化学株式会社
窒化物積層体の製造方法および窒化物積層体
4か月前
旭化成株式会社
結晶の製造方法、六方晶系半導体結晶及び素子
6か月前
信越半導体株式会社
3C-SiC単結晶基板の評価方法
4か月前
株式会社SUMCO
単結晶シリコンインゴットの製造方法
5か月前
サイクリスタル ゲーエムベーハー
バルクSiC結晶の製造方法
2か月前
株式会社Kanazawa Diamond
ダイヤモンド
6か月前
グローバルウェーハズ・ジャパン株式会社
半導体基板の製造方法
5か月前
三菱マテリアル電子化成株式会社
シリコンインゴット
1か月前
株式会社プロテリアル
炭化珪素単結晶の製造方法
7か月前
学校法人 名城大学
結晶成長用基板の作製方法
3か月前
信越半導体株式会社
SiGe基板の作製方法及びSiGe基板
27日前
住友化学株式会社
窒化物結晶基板の製造方法、および窒化物結晶基板
7か月前
続きを見る
他の特許を見る