TOP
|
特許
|
意匠
|
商標
特許ウォッチ
Twitter
他の特許を見る
10個以上の画像は省略されています。
公開番号
2025174292
公報種別
公開特許公報(A)
公開日
2025-11-28
出願番号
2024080477
出願日
2024-05-16
発明の名称
吸収性物品
出願人
王子ホールディングス株式会社
代理人
弁理士法人秀和特許事務所
主分類
A61F
13/539 20060101AFI20251120BHJP(医学または獣医学;衛生学)
要約
【課題】本発明は、着用者が排出した尿等の排出液を吸収体全体に拡散させる吸収性物品を提供することを目的とする。
【解決手段】吸収性物品は、吸収マットと、吸収マットの着用者の肌面側に配置された第1透水性シートと、を有する吸収体と、吸収体の肌面側から直線状に圧搾して形成された圧搾溝と、第1透水性シートの肌面側に接着された一又は複数の第2透水性シートと、着用者が排出した排出液が第2透水性シートの肌面側から流入する流入部と、圧搾溝の延在方向において、流入部の第1透水性シートから肌面側の第2透水性シートまでの少なくとも1つの透水性シート間に該透水性シート同士が互いに非接着である非接着部と、を備える。
【選択図】図6
特許請求の範囲
【請求項1】
吸収マットと、前記吸収マットの着用者の肌面側に配置された第1透水性シートと、を有する吸収体と、
前記吸収体の前記肌面側から直線状に圧搾して形成された圧搾溝と、
前記第1透水性シートの前記肌面側に接着された一又は複数の第2透水性シートと、
前記着用者が排出した排出液が前記第2透水性シートの前記肌面側から流入する流入部と、
前記流入部に延在する前記圧搾溝に配置された前記第1透水性シートから前記肌面側の前記第2透水性シートまでの少なくとも1つの透水性シート間に設けられ、該透水性シート同士が互いに非接着である非接着部と、を備える、
吸収性物品。
続きを表示(約 1,000 文字)
【請求項2】
前記流入部は、前記着用者の尿道口又は肛門に対応する領域である、
請求項1に記載の吸収性物品。
【請求項3】
前記圧搾溝は、複数設けられ、
複数の前記圧搾溝は、互いに交差する交差部を有し、
前記非接着部は、前記交差部の前記肌面側に設けられる、
請求項1又は2に記載の吸収性物品。
【請求項4】
前記圧搾溝は、複数設けられ、
複数の前記圧搾溝が重なって互いに異なる方向に延在する基点となる基部を有し、
前記非接着部は、前記基部の前記肌面側に設けられる、
請求項1又は2に記載の吸収性物品。
【請求項5】
前記第2透水性シートは、伸長可能であり、
前記第2透水性シートの伸長方向は、前記第1透水性シートに含まれる繊維の配向方向と交差する方向又は直交する方向である、
請求項1又は2に記載の吸収性物品。
【請求項6】
前記第1透水性シートと前記第2透水性シートとを接着し、前記第1透水性シートと前記第2透水性シートとの間に互いに離間して設けられた複数の接着部を備え、
前記複数の接着部のうちの少なくとも一部の延在方向は、前記第1透水性シートに含まれる繊維の配向方向と同一である、
請求項1又は2に記載の吸収性物品。
【請求項7】
前記第1透水性シートと前記第2透水性シートとの間に互いに離間して設けられ、前記第1透水性シートと前記第2透水性シートとを接着する一続きの線状の接着剤によって構成された、複数の接着部を備え、
前記第1透水性シートに含まれる繊維の配向方向に沿って、前記接着剤の一部と複数の前記非接着部とが交互に並んで配置されている、
請求項1又は2に記載の吸収性物品。
【請求項8】
前記第1透水性シートを平面視した場合に、前記接着剤が螺旋形状又は蛇行形状に塗布されている、
請求項7に記載の吸収性物品。
【請求項9】
前記複数の接着部のうちの一つと前記複数の接着部のうちの他の一つとが隣接して配置されている、
請求項7に記載の吸収性物品。
【請求項10】
前記第1透水性シートを平面視した場合に、前記複数の接着部のうちの一つの前記接着剤の一部と前記複数の接着部のうちの他の一つの前記接着剤の一部とが重なっている、
請求項7に記載の吸収性物品。
発明の詳細な説明
【技術分野】
【0001】
本発明は、吸収性物品に関する。
続きを表示(約 1,900 文字)
【背景技術】
【0002】
使い捨ておむつや、吸収性パッド、生理用品等の吸収性物品が開発されている。吸収性物品は、着用者が排出した尿等の排出液を吸収する吸収体を備えている。例えば、特許文献1には、圧搾によって形成された圧搾溝を備える吸収性物品が開示されている。
【先行技術文献】
【特許文献】
【0003】
特開2019-103782号公報
【発明の概要】
【発明が解決しようとする課題】
【0004】
圧搾溝は、着用者が排出した尿等の排出液を吸収体全体に拡散し、尿等の排出液を吸収体の全体で効率よく吸収することを目的として形成されることが多い。しかしながら、尿等の排出液は、圧搾溝を通過中に吸収体に吸収されるため、吸収体全体に拡散できない虞がある。
【0005】
本発明は、着用者が排出した尿等の排出液を吸収体全体に拡散させる吸収性物品を提供することを目的とする。
【課題を解決するための手段】
【0006】
本発明の一側面に係る吸収性物品は、
吸収マットと、前記吸収マットの着用者の肌面側に配置された第1透水性シートと、を有する吸収体と、
前記吸収体の前記肌面側から直線状に圧搾して形成された圧搾溝と、
前記第1透水性シートの前記肌面側に接着された一又は複数の第2透水性シートと、
前記着用者が排出した排出液が前記第2透水性シートの前記肌面側から流入する流入部と、
前記圧搾溝の延在方向において、前記流入部の前記第1透水性シートから前記肌面側の第2透水性シートまでの少なくとも1つの透水性シート間に該透水性シート同士が互いに非接着である非接着部と、を備える。
【発明の効果】
【0007】
本発明によれば、着用者が排出した尿等の排出液を吸収体全体に拡散可能となる。
【図面の簡単な説明】
【0008】
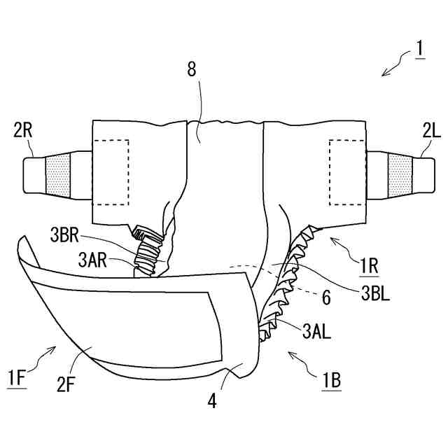
図1は、実施形態に係るおむつの外観斜視図である。
図2は、実施形態に係るおむつの分解斜視図である。
図3は、実施形態に係るおむつの平面図である。
図4は、実施形態に係るおむつの断面図である。
図5は、実施形態に係るおむつに設けられた圧搾溝を示した図である。
図6は、実施形態に係るおむつに設けられた圧搾溝を拡大した拡大図である。
図7は、実施形態に係るおむつに設けられた上層コアラップシートの肌面側に塗布する接着剤の接着パターンを示した平面図(その1)である。
図8は、実施形態に係るおむつに設けられた圧搾溝に生じる裂け目を示した平面図。
図9は、実施形態に係るおむつのトップシートの伸長方向と上層コアラップシートの繊維配向方向との関係を示す図である。
図10は、実施形態に係るおむつに設けられた上層コアラップシートの肌面側に塗布する接着剤の接着パターンを示した平面図(その2)である。
図11は、実施形態に係るおむつに設けられた上層コアラップシートの肌面側に塗布する接着剤の接着パターンを示した平面図(その3)である。
図12は、実施形態に係るおむつに設けられた圧搾溝の形状を示した図である。
【発明を実施するための形態】
【0009】
以下、本発明の実施形態について説明する。以下に示す実施形態は、本願発明の一態様であり、本願発明の技術的範囲を限定するものではない。
【0010】
<実施形態>
本実施形態では、テープ型使い捨ておむつ(本願でいう「吸収性物品」の一例であり、以下、単に「おむつ」という)について、着用者の腹部に対向して配置される前身頃と背部に対向して配置される後身頃とを結ぶ方向を長手方向とする。これらの前身頃(長手方向の一側)と後身頃(長手方向の他側)との間(長手方向の中央)には、着用者の股下に配置(股間に対向して配置)される股下部が位置する。また、おむつが着用者に着用された状態(以下、「着用状態」と略称する)において、着用者の肌に向かう側(着用された状態で内側)を肌面側とし、肌面側の反対側(着用された状態で外側)を非肌面側とする。さらに、肌面側と非肌面側とを結ぶ方向を厚み方向とし、長手方向と厚み方向の何れにも直交する方向を幅方向とする。そのほか、厚み方向から視ることを平面視とする。また、おむつの左右方向は、着用状態において、着用者の右手側が右方向、着用者の左手側が左方向とする。
(【0011】以降は省略されています)
この特許をJ-PlatPat(特許庁公式サイト)で参照する
関連特許
個人
貼付剤
1か月前
個人
簡易担架
16日前
個人
短下肢装具
4か月前
個人
足踏み器具
23日前
個人
腋臭防止剤
16日前
個人
前腕誘導装置
4か月前
個人
排尿補助器具
1か月前
個人
嚥下鍛錬装置
4か月前
個人
汚れ防止シート
2か月前
個人
バッグ式オムツ
5か月前
個人
胸骨圧迫補助具
2か月前
個人
ウォート指圧法
1か月前
個人
歯の修復用材料
5か月前
個人
矯正椅子
6か月前
個人
アイマスク装置
3か月前
個人
腰ベルト
1か月前
個人
排尿排便補助器具
18日前
個人
湿布連続貼り機。
3か月前
個人
哺乳瓶冷まし容器
4か月前
個人
美容セット
25日前
個人
陣痛緩和具
4か月前
個人
歯の保護用シール
6か月前
株式会社八光
剥離吸引管
6か月前
個人
性行為補助具
4か月前
株式会社コーセー
化粧料
1か月前
個人
エア誘導コルセット
3か月前
個人
治療用酸化防御装置
2か月前
株式会社大野
骨壷
5か月前
株式会社ニデック
眼科装置
2か月前
個人
形見の製造方法
5か月前
個人
シリンダ式歩行補助具
4か月前
株式会社ダリヤ
毛髪化粧料
2か月前
株式会社ニデック
眼科装置
1か月前
株式会社ニデック
眼科装置
2か月前
個人
手指運動ツール
3か月前
個人
精力増強キット
2か月前
続きを見る
他の特許を見る