TOP
|
特許
|
意匠
|
商標
特許ウォッチ
Twitter
他の特許を見る
公開番号
2025173294
公報種別
公開特許公報(A)
公開日
2025-11-27
出願番号
2024078809
出願日
2024-05-14
発明の名称
タイヤの摩擦性能推定装置、推定方法及び推定プログラム
出願人
住友ゴム工業株式会社
代理人
個人
,
個人
主分類
B60C
19/00 20060101AFI20251119BHJP(車両一般)
要約
【課題】タイヤの摩擦性能を推定する技術を提供する。
【解決手段】タイヤの摩擦性能推定装置は、推定対象となる対象タイヤの接地面の接地圧分布と、前記対象タイヤの溝深さと、前記対象タイヤを構成するゴム部材の粘弾性とを含む入力データを学習済みの機械学習モデルに入力し、前記学習済みの機械学習モデルから出力データを導出する導出部を備える。前記出力データは、前記対象タイヤのウェット路面における摩擦係数に対応する。
【選択図】図1
特許請求の範囲
【請求項1】
推定対象となる対象タイヤの接地面の接地圧分布と、前記対象タイヤの溝深さと、前記対象タイヤを構成するゴム部材の粘弾性とを含む入力データを学習済みの機械学習モデルに入力し、前記学習済みの機械学習モデルから出力データを導出する導出部
を備え、
前記出力データは、前記対象タイヤのウェット路面における摩擦係数に対応する、
タイヤの摩擦性能推定装置。
続きを表示(約 1,600 文字)
【請求項2】
前記接地圧分布は、画像データとして構成される、
請求項1に記載のタイヤの摩擦性能推定装置。
【請求項3】
前記ゴム部材の粘弾性は、ASTM D4065及びASTM D4473に基づき、静的ひずみ10%、動的ひずみ2.5%、周波数10Hz、温度0℃の条件で測定された正接損失である、
請求項1または2に記載のタイヤの摩擦性能推定装置。
【請求項4】
1または複数のコンピュータにより実行されるタイヤの摩擦性能推定方法であって、
推定対象となる対象タイヤの接地面の接地圧分布と、前記対象タイヤの溝深さと、前記対象タイヤを構成するゴム部材の粘弾性とを含む入力データを学習済みの機械学習モデルに入力し、前記学習済みの機械学習モデルから出力データを導出すること
を含み、
前記出力データは、前記対象タイヤのウェット路面における摩擦係数に対応する、
タイヤの摩擦性能推定方法。
【請求項5】
推定対象となる対象タイヤの接地面の接地圧分布と、前記対象タイヤの溝深さと、前記対象タイヤを構成するゴム部材の粘弾性とを含む入力データを学習済みの機械学習モデルに入力し、前記学習済みの機械学習モデルから出力データを導出すること
を1または複数のコンピュータに実行させ、
前記出力データは、前記対象タイヤのウェット路面における摩擦係数に対応する、
タイヤの摩擦性能推定プログラム。
【請求項6】
タイヤの接地面の接地圧分布と、前記タイヤの溝深さと、前記タイヤを構成するゴム部材の粘弾性とを含む第1データと、前記タイヤのウェット路面における摩擦係数の実測値を含む第2データとが組み合わせられたデータセットを複数含む学習用データセットを記憶する記憶部と、
前記第1データを機械学習モデルに入力し、前記機械学習モデルからの出力データを導出するとともに、前記出力データと前記第1データに組み合わせられている前記第2データとの誤差が小さくなるように前記機械学習モデルを定義するパラメータを調整する学習部と
を備える、
学習済みモデルの生成装置。
【請求項7】
1または複数のコンピュータにより実行される、学習済みモデルの生成方法であって、
タイヤの接地面の接地圧分布と、前記タイヤの溝深さと、前記タイヤを構成するゴム部材の粘弾性とを含む第1データと、前記タイヤのウェット路面における摩擦係数の実測値を含む第2データとが組み合わせられたデータセットを複数含む学習用データセットを記憶することと、
前記第1データを機械学習モデルに入力し、前記機械学習モデルからの出力データを導出するとともに、前記出力データと前記第1データに組み合わせられている前記第2データとの誤差が小さくなるように前記機械学習モデルを定義するパラメータを調整することと
を含む、
学習済みモデルの生成方法。
【請求項8】
タイヤの接地面の接地圧分布と、前記タイヤの溝深さと、前記タイヤを構成するゴム部材の粘弾性とを含む第1データと、前記タイヤのウェット路面における摩擦係数の実測値を含む第2データとが組み合わせられたデータセットを複数含む学習用データセットを記憶することと、
前記第1データを機械学習モデルに入力し、前記機械学習モデルからの出力データを導出するとともに、前記出力データと前記第1データに組み合わせられている前記第2データとの誤差が小さくなるように前記機械学習モデルを定義するパラメータを調整することと
を1または複数のコンピュータに実行させる、
学習済みモデルの生成プログラム。
発明の詳細な説明
【技術分野】
【0001】
本発明は、タイヤの摩擦性能を推定する技術に関する。
続きを表示(約 1,400 文字)
【背景技術】
【0002】
特許文献1は、ゴム部材の摩擦性能を精度よく評価するための方法を開示する。特許文献1では、当該方法によるゴム部材の評価結果が、同ゴム部材からなるタイヤを装着した実車走行試験結果と高い精度で相関することが検証されている。このため、特許文献1に記載の方法によれば、実際にタイヤを製造することなく、タイヤの実路面でのグリップ性能を明瞭に評価することができる。
【先行技術文献】
【特許文献】
【0003】
特開2020-169933号公報
【発明の概要】
【発明が解決しようとする課題】
【0004】
ところで、タイヤのグリップ性能の1つには、ウェット路面における摩擦係数がある。一般に、タイヤのウェット路面における摩擦係数を測定するための試験は、前処理を必要とし、それだけでも多くの工数を要する。この点、特許文献1では上記ゴム部材の評価結果とタイヤのウェット路面における摩擦係数との相関は検証されていない。つまり、タイヤのウェット路面における摩擦係数を推定する方法は、これまで提案されていなかった。
【0005】
本発明は、タイヤのウェット路面における摩擦係数を推定する技術を提供することを目的とする。
【課題を解決するための手段】
【0006】
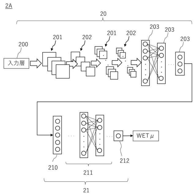
第1観点に係るタイヤの摩擦性能推定装置は、推定対象となる対象タイヤの接地面の接地圧分布と、前記対象タイヤの溝深さと、前記対象タイヤを構成するゴム部材の粘弾性とを含む入力データを学習済みの機械学習モデルに入力し、前記学習済みの機械学習モデルから出力データを導出する導出部を備える。前記出力データは、前記対象タイヤのウェット路面における摩擦係数に対応する。
【0007】
第2観点に係るタイヤの摩擦性能推定装置は、第1観点に係るタイヤの摩擦性能推定装置であって、前記接地圧分布は、画像データとして構成される。
【0008】
第3観点に係るタイヤの摩擦性能推定装置は、第1観点または第2観点に係るタイヤの摩擦性能推定装置であって、前記ゴム部材の粘弾性は、ASTM D4065及びASTM D4473に基づき、静的ひずみ10%、動的ひずみ2.5%、周波数10Hz、温度0℃の条件で測定された正接損失である。
【0009】
第4観点に係るタイヤの摩擦性能推定方法は、1または複数のコンピュータにより実行されるタイヤの摩擦性能推定方法であって、推定対象となる対象タイヤの接地面の接地圧分布と、前記対象タイヤの溝深さと、前記対象タイヤを構成するゴム部材の粘弾性とを含む入力データを学習済みの機械学習モデルに入力し、前記学習済みの機械学習モデルから出力データを導出することを含む。前記出力データは、前記対象タイヤのウェット路面における摩擦係数に対応する。
【0010】
第5観点に係るタイヤの摩擦性能推定プログラムは、推定対象となる対象タイヤの接地面の接地圧分布と、前記対象タイヤの溝深さと、前記対象タイヤを構成するゴム部材の粘弾性とを含む入力データを学習済みの機械学習モデルに入力し、前記学習済みの機械学習モデルから出力データを導出することを1または複数のコンピュータに実行させる。前記出力データは、前記対象タイヤのウェット路面における摩擦係数に対応する。
(【0011】以降は省略されています)
この特許をJ-PlatPat(特許庁公式サイト)で参照する
関連特許
住友ゴム工業株式会社
タイヤ
1か月前
住友ゴム工業株式会社
タイヤ
1か月前
住友ゴム工業株式会社
タイヤ
29日前
住友ゴム工業株式会社
タイヤ
1か月前
住友ゴム工業株式会社
タイヤ
1か月前
住友ゴム工業株式会社
タイヤ
1か月前
住友ゴム工業株式会社
タイヤ
1か月前
住友ゴム工業株式会社
タイヤ
21日前
住友ゴム工業株式会社
タイヤ
1か月前
住友ゴム工業株式会社
タイヤ
1か月前
住友ゴム工業株式会社
タイヤ
1か月前
住友ゴム工業株式会社
タイヤ
1か月前
住友ゴム工業株式会社
タイヤ
1か月前
住友ゴム工業株式会社
タイヤ
8日前
住友ゴム工業株式会社
タイヤ
29日前
住友ゴム工業株式会社
ラケット
9日前
住友ゴム工業株式会社
ゴルフボール
1か月前
住友ゴム工業株式会社
ゴルフボール
29日前
住友ゴム工業株式会社
空気入りタイヤ
1か月前
住友ゴム工業株式会社
空気入りタイヤ
1か月前
住友ゴム工業株式会社
空気入りタイヤ
1か月前
住友ゴム工業株式会社
空気入りタイヤ
1か月前
住友ゴム工業株式会社
バイアスタイヤ
1か月前
住友ゴム工業株式会社
重荷重用タイヤ
1か月前
住友ゴム工業株式会社
重荷重用タイヤ
1か月前
住友ゴム工業株式会社
空気入りタイヤ
1か月前
住友ゴム工業株式会社
空気入りタイヤ
29日前
住友ゴム工業株式会社
空気入りタイヤ
1か月前
住友ゴム工業株式会社
空気入りタイヤ
1か月前
住友ゴム工業株式会社
重荷重用タイヤ
1か月前
住友ゴム工業株式会社
モデリング方法
1か月前
住友ゴム工業株式会社
モデリング方法
1か月前
住友ゴム工業株式会社
重荷重用タイヤ
8日前
住友ゴム工業株式会社
重荷重用タイヤ
8日前
住友ゴム工業株式会社
重荷重用タイヤ
8日前
住友ゴム工業株式会社
重荷重用タイヤ
8日前
続きを見る
他の特許を見る