TOP
|
特許
|
意匠
|
商標
特許ウォッチ
Twitter
他の特許を見る
10個以上の画像は省略されています。
公開番号
2025173054
公報種別
公開特許公報(A)
公開日
2025-11-27
出願番号
2024078390
出願日
2024-05-14
発明の名称
混合ガスグリッド保守システム及び混合ガスグリッド保守方法
出願人
株式会社日立製作所
代理人
弁理士法人信友国際特許事務所
主分類
F17D
5/02 20060101AFI20251119BHJP(ガスまたは液体の貯蔵または分配)
要約
【課題】混合ガスグリッドに対して適切な保守方針を定めて、漏洩リスクと保守負担を低減できるようにする。
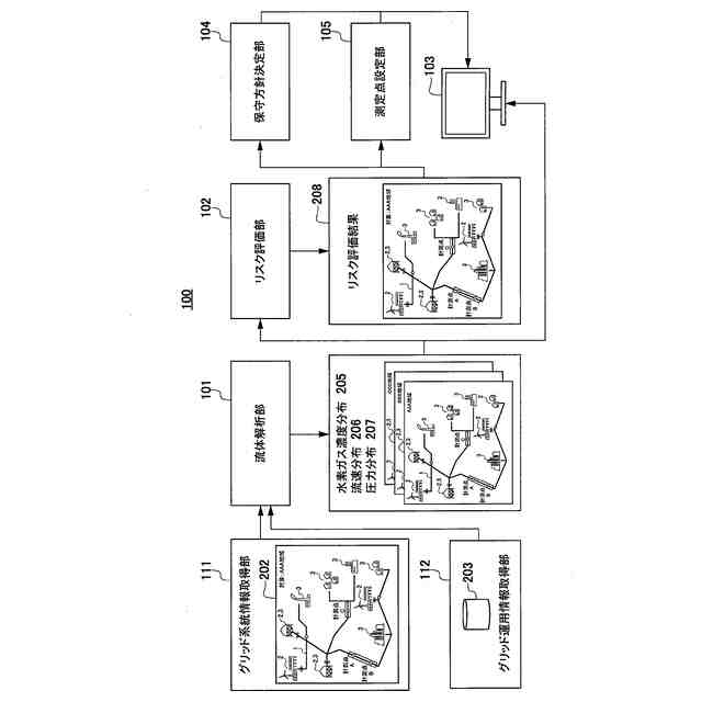
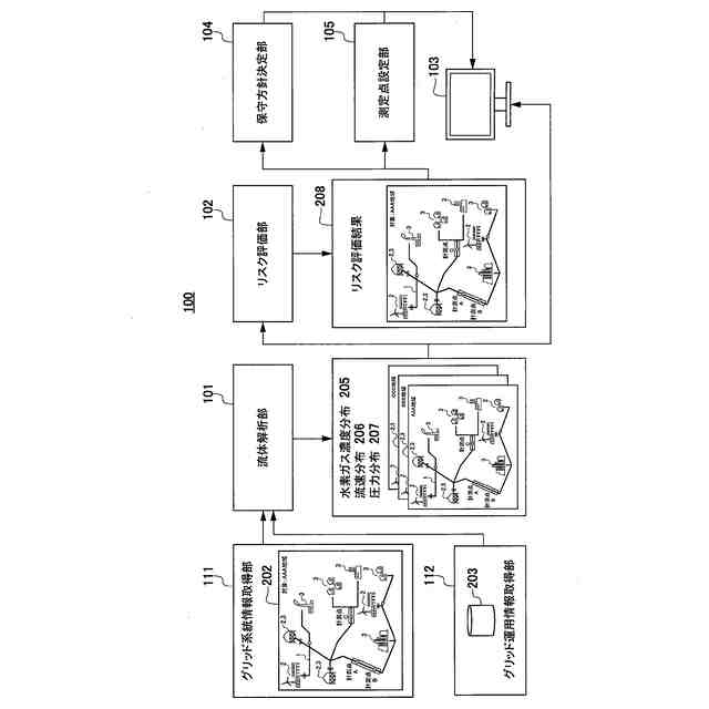
【解決手段】混合ガスパイプラインの系統情報を取得するグリッド系統情報取得部と、混合ガスパイプラインの運用情報を取得するグリッド運用情報取得部と、グリッド系統情報取得部が取得した系統情報と、グリッド運用情報取得部が取得した運用情報を入力として、流体解析によりガスグリッドの各系統内の水素濃度分布を算出する流体解析部と、流体解析部が算出した水素濃度分布に基づいて、水素濃度が高い場所を高リスク部として抽出するリスク評価部と、リスク評価部で得たリスク評価結果を出力または表示する出力部と、を備える。
【選択図】図1
特許請求の範囲
【請求項1】
水素を含む混合ガスを搬送する混合ガスパイプラインで構成されるガスグリッドの保守方針を決定する混合ガスグリッド保守システムであって、
前記混合ガスパイプラインの系統情報を取得するグリッド系統情報取得部と、
前記混合ガスパイプラインの運用情報を取得するグリッド運用情報取得部と、
前記グリッド系統情報取得部が取得した系統情報と、前記グリッド運用情報取得部が取得した運用情報を入力として、流体解析により前記ガスグリッドの各系統内の水素濃度分布を算出する流体解析部と、
前記流体解析部が算出した水素濃度分布に基づいて、水素濃度が高い場所を高リスク部として抽出するリスク評価部と、
前記リスク評価部で得たリスク評価結果を出力または表示する出力部と、を備える
混合ガスグリッド保守システム。
続きを表示(約 1,300 文字)
【請求項2】
前記流体解析部は、ガス中の水素の濃度、圧力、及び流速に基づいて、前記ガスグリッドの各系統内の水素充填量を算出し、
前記リスク評価部は、配管内の空間分布を基準としてリスクを評価する
請求項1に記載の混合ガスグリッド保守システム。
【請求項3】
前記リスク評価部は、混合ガス中の水素の濃度、圧力、及び流速の配管内の空間分布と時間変動に対する最大値、最小値、及び変動幅を基準にリスクを評価する
請求項1に記載の混合ガスグリッド保守システム。
【請求項4】
前記リスク評価部で算出された濃度、圧力、及び流速の空間分布及び時間変動を基に得たリスク値から、点検時間帯の候補を抽出する点検時間設定部を備え、
前記出力部は、前記点検時間設定部が抽出した点検時間帯の候補を出力または表示する
請求項1に記載の混合ガスグリッド保守システム。
【請求項5】
前記出力部は、前記点検時間設定部で抽出した候補の時間帯、またはその時間帯に関係した周期に対するリスク値またはリスク値の平均値を出力または表示し、
さらに、前記時間帯または前記周期の選択を行う入力部を備える
請求項4に記載の混合ガスグリッド保守システム。
【請求項6】
前記混合ガスパイプラインで構成されるグリッドに設置した計測点の計測データと、前記流体解析部による流体解析結果とを比較して異常検知を行う異常検知部を備える
請求項1に記載の混合ガスグリッド保守システム。
【請求項7】
前記出力部は、前記リスク評価部によるリスク評価結果と、リスク評価結果に基づいた保守方針として、保守機器の候補を出力または表示する
請求項1に記載の混合ガスグリッド保守システム。
【請求項8】
前記出力部は、前記ガスグリッドのグリッド形状を示す表示と、前記グリッド形状を示す表示の中の計測点の水素濃度を出力または表示する
請求項1に記載の混合ガスグリッド保守システム。
【請求項9】
前記出力部は、前記異常検知部による異常の検知の有無と、異常を検知した計測点の位置を表示する
請求項6に記載の混合ガスグリッド保守システム。
【請求項10】
水素を含む混合ガスを搬送する混合ガスパイプラインで構成されるガスグリッドの保守方針を決定する混合ガスグリッド保守方法であって、
前記混合ガスパイプラインの系統情報を取得するグリッド系統情報取得処理と、
前記混合ガスパイプラインの運用情報を取得するグリッド運用情報取得処理と、
前記グリッド系統情報取得処理により取得した系統情報と、前記グリッド運用情報取得処理により取得した運用情報を入力として、流体解析により前記ガスグリッドの各系統内の水素濃度分布を算出する流体解析処理と、
前記流体解析処理により算出した水素濃度分布に基づいて、水素濃度が高い場所を高リスク部として抽出するリスク評価処理と、
前記リスク評価処理により得たリスク評価結果を出力または表示する出力処理と、を含む
混合ガスグリッド保守方法。
発明の詳細な説明
【技術分野】
【0001】
本発明は、混合ガスグリッド保守システム及び混合ガスグリッド保守方法に関する。
続きを表示(約 1,700 文字)
【背景技術】
【0002】
脱炭素化に向けて、天然ガスなどの既存のガスグリッドである導管ネットワークに水素を注入し、混合ガスとして水素を輸送するプロジェクトが進められている。
混合ガスとして水素を輸送する場合、ガスグリッド内には天然ガスと水素とが混在することになる。水素は天然ガスの主成分であるメタンに比べて分子サイズが小さく、天然ガスよりも漏洩の懸念が大きい。
【0003】
ガスグリッド内の天然ガスと水素との比率(水素濃度)は常時一定ではなく、例えば以下の要因1,2により空間的・時間的に変化する。
(要因1)トランジションに向けて設備投資が行われ水素使用量や水素製造可能量が変化する。
(要因2)余剰電力による水の電気分解から得られた水素を用いる場合、その製造量は一定ではなく天候、時間帯、電力使用状況に応じて変化する。
【0004】
また、天然ガスを輸送するグリッドのほか、今後は二酸化炭素の回収用途のパイプラインが実現する可能性がある。二酸化炭素ガスグリッドへの水素注入や、天然ガスグリッド中に水素に加えて、二酸化炭素などの他ガス種を混在させて混合ガスとして輸送することも考えられる。既存グリッド内のガス種類が、天然ガス以外の場合にも、同様に水素が注入されることで漏洩の懸念が大きくなる。
【0005】
ガスグリッドは、可燃性ガスを輸送していることから、適切に保守され、漏洩や損傷が生じないように維持される必要がある。しかし、天然ガスや都市ガスを輸送するガスグリッドは広域にわたっており、そのすべてを常に監視・点検することは困難である。
【0006】
特許文献1には、パイプまたはパイプラインの漏洩を検出するために、測定ポイントで取得されたデータ数値群のパターンを特定することで、流れ移送物体の測定セクションにおける漏洩部の存在の可能性を判定する技術についての記載がある。
【先行技術文献】
【特許文献】
【0007】
特開2022-521488号公報
【発明の概要】
【発明が解決しようとする課題】
【0008】
ガスグリッドは広域に位置することから、まんべんなく漏洩評価を行うことは困難である。さらに混合ガスグリッドにおいては、メタンよりも漏洩しやすい水素を含むことから、点検・保守の負荷が大きくなる。そのため、混合ガスグリッドに対して適切な保守方針を定め、漏洩リスクと保守負担を低減する必要がある。
特に、水素を含む混合ガスを搬送するガスグリッドの場合、混合ガスの濃度が空間的・時間的に変化する可能性があり、従来の天然ガスなどを搬送するガスグリッドとは異なる管理が必要になっている。
【0009】
本発明は、混合ガスのグリッド輸送時の課題を解決できる混合ガスグリッド保守システム及び混合ガスグリッド保守方法を提供することを目的とする。
【課題を解決するための手段】
【0010】
上記課題を解決するために、例えば請求の範囲に記載の構成を採用する。
本願は、上記課題を解決する手段を複数含んでいるが、その一例を挙げるならば、混合ガスグリッド保守システムとして、水素を含む混合ガスを搬送する混合ガスパイプラインで構成されるガスグリッドの保守方針を決定するものである。
そして、一例としての混合ガスグリッド保守システムは、混合ガスパイプラインの系統情報を取得するグリッド系統情報取得部と、混合ガスパイプラインの運用情報を取得するグリッド運用情報取得部と、グリッド系統情報取得部が取得した系統情報と、グリッド運用情報取得部が取得した運用情報を入力として、流体解析によりガスグリッドの各系統内の水素濃度分布を算出する流体解析部と、流体解析部が算出した水素濃度分布に基づいて、水素濃度が高い場所を高リスク部として抽出するリスク評価部と、リスク評価部で得たリスク評価結果を出力または表示する出力部と、を備える。
【発明の効果】
(【0011】以降は省略されています)
この特許をJ-PlatPat(特許庁公式サイト)で参照する
関連特許
株式会社石井鐵工所
低温タンクの揚液装置
7か月前
株式会社石井鐵工所
低温タンクの揚液装置
4か月前
川崎重工業株式会社
竪型タンク
6か月前
川崎重工業株式会社
三重殻タンク
8か月前
川崎重工業株式会社
三重殻タンク
8か月前
川崎重工業株式会社
極低温流体用配管設備
1か月前
トヨタ自動車株式会社
水素タンク
4か月前
トヨタ自動車株式会社
水素充填装置
6か月前
株式会社タツノ
充填ノズル
2か月前
株式会社タツノ
充填ノズル
3か月前
岩谷産業株式会社
燃料ガス充填設備
2か月前
帝人株式会社
繊維補強圧力容器及びその製造方法
3か月前
株式会社神戸製鋼所
水素吸蔵合金容器
3か月前
川崎重工業株式会社
低温流体の移送システム
6か月前
豊田合成株式会社
圧力容器
7か月前
トヨタ自動車株式会社
水素消費システム
5か月前
トヨタ自動車株式会社
水素消費システム
5か月前
トヨタ自動車株式会社
タンクモジュール
7か月前
川崎重工業株式会社
三重殻タンクのパージ方法
8か月前
トヨタ自動車株式会社
カートリッジタンク
6か月前
オリオン機械株式会社
燃料供給装置および発電システム
5か月前
トヨタ自動車株式会社
水素タンクシステム
5か月前
オリオン機械株式会社
燃料供給装置および発電システム
7か月前
JFEエンジニアリング株式会社
エネルギー貯蔵システム
5か月前
鹿島建設株式会社
水素貯蔵システム
4か月前
トヨタ自動車株式会社
高圧タンクの製造方法
8か月前
JFEエンジニアリング株式会社
エネルギー貯蔵システム
3か月前
JFEエンジニアリング株式会社
エネルギー貯蔵システム
4か月前
トヨタ自動車株式会社
水素タンクの支持構造
7か月前
JFEエンジニアリング株式会社
エネルギー貯蔵システム
3か月前
JFEエンジニアリング株式会社
エネルギー貯蔵システム
3か月前
株式会社 商船三井
貨物タンク
5か月前
三浦工業株式会社
ガス気化システム
8か月前
トヨタ自動車株式会社
ガスタンク
1か月前
JFEエンジニアリング株式会社
液化二酸化炭素冷却システム
2か月前
株式会社神戸製鋼所
熱交換システム
21日前
続きを見る
他の特許を見る