TOP
|
特許
|
意匠
|
商標
特許ウォッチ
Twitter
他の特許を見る
10個以上の画像は省略されています。
公開番号
2025172526
公報種別
公開特許公報(A)
公開日
2025-11-26
出願番号
2024078078
出願日
2024-05-13
発明の名称
回路寿命予測装置、回路寿命予測システムおよび回路寿命予測方法
出願人
株式会社日立製作所
代理人
弁理士法人湘洋特許事務所
主分類
H02M
3/00 20060101AFI20251118BHJP(電力の発電,変換,配電)
要約
【課題】電力変換回路の寿命を簡便に予測する技術を提供する。
【解決手段】 1以上のプロセッサと、1以上のメモリリソースと、を有する回路寿命予測装置であって、前記プロセッサは、寿命予測の対象とする電力変換回路を備えた電子システムの電力変換回路の電力変換効率のモニタデータを取得するモニタデータ取得部と、モニタデータを用いて電力変換回路の電力変換効率の将来の変化を予測する近似式算出部と、電力変換効率が所定の寿命しきい値に到達するまでの時間を余寿命として算出する余寿命算出部と、を備えることを特徴とする。
【選択図】図1
特許請求の範囲
【請求項1】
1以上のプロセッサと、1以上のメモリリソースと、を有する回路寿命予測装置であって、
前記プロセッサは、
寿命予測の対象とする電力変換回路を備えた電子システムの前記電力変換回路の電力変換効率のモニタデータを取得するモニタデータ取得部と、
前記モニタデータを用いて前記電力変換回路の前記電力変換効率の将来の変化を予測する近似式算出部と、
前記電力変換効率が所定の寿命しきい値に到達するまでの時間を余寿命として算出する余寿命算出部と、
を備えることを特徴とする回路寿命予測装置。
続きを表示(約 1,800 文字)
【請求項2】
請求項1に記載の回路寿命予測装置であって、
前記プロセッサは、
前記モニタデータを所定の期間蓄積して長期的な傾向を示すトレンドデータを算出するトレンド算出部を備え、
前記近似式算出部は、前記トレンドデータに所定以上近似する回帰式を算出し、
前記余寿命算出部は、前記回帰式を用いて前記余寿命を算出する、
ことを特徴とする回路寿命予測装置。
【請求項3】
請求項1に記載の回路寿命予測装置であって、
前記電子システムには、
前記電力変換回路の入力電圧情報、入力電流情報、出力電圧情報および出力電流情報を取得し前記電力変換効率を演算するモニタモジュールが設けられ、
前記モニタデータ取得部は、前記モニタモジュールから出力される前記モニタデータを取得する、
ことを特徴とする回路寿命予測装置。
【請求項4】
請求項1に記載の回路寿命予測装置であって、
前記電子システムには、
前記電力変換回路の入力電圧情報、入力電流情報、出力電圧情報および出力電流情報を取得し前記電力変換効率を演算するモニタモジュールが設けられ、
前記モニタモジュールは、電圧センサにより電圧を取得して前記入力電圧情報と前記出力電圧情報を取得し、電流センサにより電流を取得して前記入力電流情報と前記出力電流情報を取得し、
前記モニタデータ取得部は、前記モニタモジュールから出力される前記モニタデータを取得する、
ことを特徴とする回路寿命予測装置。
【請求項5】
請求項2に記載の回路寿命予測装置であって、
前記トレンド算出部は、所定期間における前記モニタデータの平均値を前記トレンドデータとして算出する、
ことを特徴とする回路寿命予測装置。
【請求項6】
請求項2に記載の回路寿命予測装置であって、
前記トレンド算出部は、前記モニタデータについて所定数のサンプル値を蓄積した中で最大値、最小値、もしくは平均値のデータを前記トレンドデータとして算出する、
ことを特徴とする回路寿命予測装置。
【請求項7】
請求項2に記載の回路寿命予測装置であって、
前記トレンド算出部は、前記モニタデータについて所定数のサンプル値を蓄積した中で加算平均、移動平均または指数平滑移動平均値のデータを前記トレンドデータとして算出する、
ことを特徴とする回路寿命予測装置。
【請求項8】
請求項1に記載の回路寿命予測装置であって、
前記電子システムには、
前記電力変換回路の入力電圧情報、入力電流情報、出力電圧情報および出力電流情報を取得し前記電力変換効率を演算するモニタモジュールが設けられ、
前記モニタデータ取得部は、前記出力電圧情報により特定される電圧または前記出力電流情報により特定される電流が所定以上となる場合に、前記モニタモジュールから出力される前記電力変換効率を前記モニタデータとして取得する、
ことを特徴とする回路寿命予測装置。
【請求項9】
請求項3に記載の回路寿命予測装置であって、
前記モニタモジュールは、
不揮発性メモリを含み、
前記モニタデータを前記不揮発性メモリに格納し、
前記電子システムが再利用品として別システムに適用される状況においても、前記モニタデータを継続して格納する、
ことを特徴とする回路寿命予測装置。
【請求項10】
1以上のプロセッサと、1以上のメモリリソースと、を有する回路寿命予測装置を用いる回路寿命予測システムであって、
前記プロセッサは、
寿命予測の対象とする電力変換回路を備えた電子システムの前記電力変換回路の電力変換効率のモニタデータを取得するステップと、
前記モニタデータを用いて前記電力変換回路の前記電力変換効率の将来の変化を予測する近似式算出ステップと、
前記電力変換効率が所定の寿命しきい値に到達するまでの時間を余寿命として算出する余寿命算出ステップと、
を実行することを特徴とする回路寿命予測システム。
(【請求項11】以降は省略されています)
発明の詳細な説明
【技術分野】
【0001】
本発明は、回路寿命予測装置、回路寿命予測システムおよび回路寿命予測方法に関する。
続きを表示(約 2,000 文字)
【背景技術】
【0002】
産業システムのライフサイクルにおいても、環境負荷を低減させる機運が高まりつつある。具体的には、AC/DC変換、DC/AC変換、DC/DC変換等の、電子システムで一般的に使用されている電力変換回路の寿命を推定する技術が求められつつある。電力変換回路の寿命を推定できるようになれば、電子システムを再利用する際の定量的な判断材料とすることができる。
【0003】
また、現在広く実施されている定期メンテナンス(Time Based Maintenance)を廃止し、状態基準メンテナンス(Condition Based Maintenance)へ移行することが可能になるため、無駄なく安全に再利用が可能となる。電力変換回路の寿命予測に関連する技術として、有寿命品である電解コンデンサの寿命予測や、電力変換回路の制御パラメータの変動から劣化を検知するといった技術がある。
【0004】
特許文献1には、対象となるスイッチング電力変換回路の制御パラメータであるスイッチング時間のDuty比をモニタすることで、劣化を検出する技術が記載されている。
【先行技術文献】
【特許文献】
【0005】
特開2019-62689号公報
【非特許文献】
【0006】
安部征哉、財津俊行著、「スイッチング電源制御設計の基礎」日経BP出版、2015年3月15日、p.19-22
【発明の概要】
【発明が解決しようとする課題】
【0007】
しかしながら、特許文献1に記載の技術では、警告または停止に至る劣化をスイッチング時間のDuty比の変化がしきい値を超えるか否かにより判断しており、寿命の予測までは不可能である。また、対象としている電力変換回路はPWM(Pulse Width Modulation)制御によるスイッチング電源であるためDuty比にのみ言及しており、Duty比以外が制御パラメータになるPFM(Pulse Frequency Modulation)制御などのスイッチング電力変換回路にはそのまま適用はできない。本発明の目的は、電力変換回路の寿命を簡便に予測する技術を提供することを目的とする。
【課題を解決するための手段】
【0008】
本願は、上記課題の少なくとも一部を解決する手段を複数含んでいるが、その例を挙げるならば、以下のとおりである。上記の課題を解決する本発明の一態様に係る回路寿命予測装置は、1以上のプロセッサと、1以上のメモリリソースと、を有する回路寿命予測装置であって、前記プロセッサは、寿命予測の対象とする電力変換回路を備えた電子システムの前記電力変換回路の電力変換効率のモニタデータを取得するモニタデータ取得部と、前記モニタデータを用いて前記電力変換回路の前記電力変換効率の将来の変化を予測する近似式算出部と、前記電力変換効率が所定の寿命しきい値に到達するまでの時間を余寿命として算出する余寿命算出部と、を備えることを特徴とする。
【発明の効果】
【0009】
本発明によれば、電力変換回路の寿命を簡便に予測する技術を提供することができる。上記した以外の課題、構成および効果は、以下の発明を実施するための形態の説明により明らかにされる。
【図面の簡単な説明】
【0010】
回路寿命予測システムの構成例を示す図である。
診断対象電子システムのハードウェア構成の例を示す図である。
回路寿命予測装置のハードウェア構成の例を示す図である。
メモリリソースに含まれる情報のデータ構造の例を示す図である。
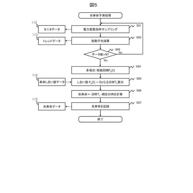
余寿命予測処理の処理フローの例を示す図である。
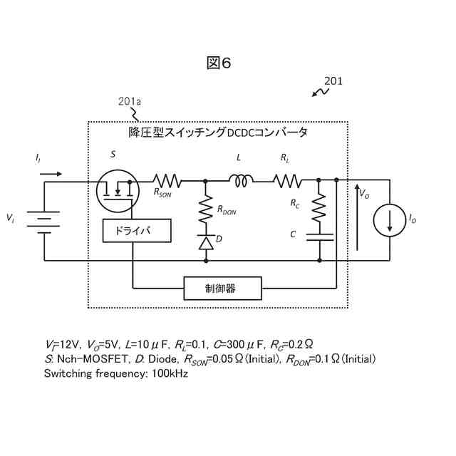
電力変換回路の例を示す図である。
出力電流に対する電力変換効率の例を示す図である。
抵抗の経年劣化の例を示す図である。
モニタデータとトレンドデータの取得の例を示す図である。
近似式による余寿命予測の例を示す図である。
回路寿命予測システムの変形例の構成例を示す図である。
余寿命予測処理(最大効率基準)の処理フローの例を示す図である。
一時モニタデータと最大モニタデータの取得の例を示す図である。
回路寿命予測システムの別の変形例の構成例を示す図である。
余寿命予測処理(負荷時基準)の処理フローの例を示す図である。
高負荷電流時の電力変換効率の経年劣化の例を示す図である。
余寿命予測結果画面の例を示す図である。
【発明を実施するための形態】
(【0011】以降は省略されています)
この特許をJ-PlatPat(特許庁公式サイト)で参照する
関連特許
株式会社日立製作所
鉄道車両
1か月前
株式会社日立製作所
放射線モニタ
1か月前
株式会社日立製作所
システム検証方法
22日前
株式会社日立製作所
電力変換システム
7日前
株式会社日立製作所
ガス分離システム
1か月前
株式会社日立製作所
鉄道車両用空調装置
21日前
株式会社日立製作所
調停案提示システム
1か月前
株式会社日立製作所
部品管理装置及び方法
1か月前
株式会社日立製作所
乗降床及び乗客コンベア
20日前
株式会社日立製作所
店舗管理装置および方法
22日前
株式会社日立製作所
施設管理装置および方法
7日前
株式会社日立製作所
生産ライン設計システム
15日前
株式会社日立製作所
乗りかご及びエレベーター
23日前
株式会社日立製作所
飲食店提案装置および方法
22日前
株式会社日立製作所
署名照合システム及び方法
28日前
株式会社日立製作所
データ変換装置および方法
1か月前
株式会社日立製作所
検索システム及び検索方法
22日前
株式会社日立製作所
乗りかご及びエレベーター
22日前
株式会社日立製作所
ソースコードを生成する方法
15日前
株式会社日立製作所
情報処理装置、情報処理方法
1か月前
株式会社日立製作所
宇宙機、地上局及びアンテナ
7日前
株式会社日立製作所
IT運用管理装置および方法
今日
株式会社日立製作所
生体認証装置、生体認証方法
21日前
株式会社日立製作所
ソフトエラー率評価システム
8日前
株式会社日立製作所
膜分離設備設計支援システム
7日前
株式会社日立製作所
蒸発乾固装置および蒸発乾固方法
1か月前
株式会社日立製作所
スカートモール及び乗客コンベア
7日前
株式会社日立製作所
購入関連行動分析装置および方法
21日前
株式会社日立製作所
水素製造制御システムおよび方法
1日前
株式会社日立製作所
治療効果予測システムおよび方法
1か月前
株式会社日立製作所
ガス分離システムの劣化診断装置
7日前
株式会社日立製作所
立体構造宇宙機及びその制御方法
20日前
株式会社日立製作所
広告支援装置および広告支援方法
今日
株式会社日立製作所
物体検出装置および物体検出方法
28日前
株式会社日立製作所
計算機システム及びデータ送信方法
29日前
株式会社日立製作所
単体テスト装置及び単体テスト方法
23日前
続きを見る
他の特許を見る