TOP
|
特許
|
意匠
|
商標
特許ウォッチ
Twitter
他の特許を見る
10個以上の画像は省略されています。
公開番号
2025172159
公報種別
公開特許公報(A)
公開日
2025-11-20
出願番号
2025149967,2021188755
出願日
2025-09-10,2021-11-19
発明の名称
制御システム、制御システムの動作方法およびプログラム
出願人
株式会社コナミデジタルエンタテインメント
代理人
弁理士法人旺知国際特許事務所
主分類
G06T
19/00 20110101AFI20251113BHJP(計算;計数)
要約
【課題】相異なる多様な情報サービスを利用者が利用してきた状況を当該利用者のアバターの外観に反映させる。
【解決手段】制御システムは、第1情報サービスを提供する第1システムから、利用者による第1情報サービスの利用において第1条件が成立した場合に、第1情報を取得する第1情報取得部と、第1情報サービスとは異なる第2情報サービスを提供する第2システムから、利用者による第2情報サービスの利用において第2条件が成立した場合に、第2情報を取得する第2情報取得部と、第1情報に対応する第1オブジェクトと第2情報に対応する第2オブジェクトとを含む複数のオブジェクトのうちの1以上のオブジェクトであって、交流サービスにおいて前記利用者を表すアバターの動作を変化させる1以上のオブジェクトを、当該アバターに適用するアバター処理部とを具備する。
【選択図】図8
特許請求の範囲
【請求項1】
第1情報サービスを提供する第1システムから、利用者による前記第1情報サービスの利用において第1条件が成立した場合に、第1情報を取得する第1情報取得部と、
前記第1情報サービスとは異なる第2情報サービスを提供する第2システムから、前記利用者による前記第2情報サービスの利用において第2条件が成立した場合に、第2情報を取得する第2情報取得部と、
前記第1情報に対応する第1オブジェクトと前記第2情報に対応する第2オブジェクトとを含む複数のオブジェクトのうちの1以上のオブジェクトであって、交流サービスにおいて前記利用者を表すアバターの動作を変化させる1以上のオブジェクトを、当該アバターに適用するアバター処理部と
を具備する制御システム。
続きを表示(約 1,300 文字)
【請求項2】
前記第1情報サービスは、前記利用者に第1ゲームを提供するゲームサービスであり、
前記第2情報サービスは、前記第1ゲームとはタイトルが相違する第2ゲームを前記利用者に提供するゲームサービスである
請求項1の制御システム。
【請求項3】
前記アバター処理部は、前記第1オブジェクトと前記第2オブジェクトとを前記アバターに並列に適用可能である
請求項1または請求項2の制御システム。
【請求項4】
第3情報サービスを提供する第3システムから、前記利用者による前記第3情報サービスの利用において第3条件が成立した場合に、第3情報を取得する第3情報取得部を具備し、
前記複数のオブジェクトは、前記第1情報と前記第3情報との組合せに対応する第3オブジェクトを含む
請求項1から請求項3の何れかの制御システム。
【請求項5】
第3情報サービスを提供する第3システムから、前記利用者による前記第3情報サービスの利用において第3条件が成立した場合に、第3情報を取得する第3情報取得部を具備し、
前記複数のオブジェクトは、第3オブジェクトを含み、
前記アバター処理部は、前記第3情報に応じて前記第3オブジェクトを変更し、変更後の第3オブジェクトを前記アバターに適用する
請求項1から請求項3の何れかの制御システム。
【請求項6】
第1情報サービスを提供する第1システムから、利用者による前記第1情報サービスの利用において第1条件が成立した場合に、第1情報を取得することと、
前記第1情報サービスとは異なる第2情報サービスを提供する第2システムから、前記利用者による前記第2情報サービスの利用において第2条件が成立した場合に、第2情報を取得することと、
前記第1情報に対応する第1オブジェクトと前記第2情報に対応する第2オブジェクトとを含む複数のオブジェクトのうちの1以上のオブジェクトであって、交流サービスにおいて前記利用者を表すアバターの動作を変化させる1以上のオブジェクトを、当該アバターに適用することと
を含む制御システムの動作方法。
【請求項7】
第1情報サービスを提供する第1システムから、利用者による前記第1情報サービスの利用において第1条件が成立した場合に、第1情報を取得する第1情報取得部、
前記第1情報サービスとは異なる第2情報サービスを提供する第2システムから、前記利用者による前記第2情報サービスの利用において第2条件が成立した場合に、第2情報を取得する第2情報取得部、および、
前記第1情報に対応する第1オブジェクトと前記第2情報に対応する第2オブジェクトとを含む複数のオブジェクトのうちの1以上のオブジェクトであって、交流サービスにおいて前記利用者を表すアバターの動作を変化させる1以上のオブジェクトを、当該アバターに適用するアバター処理部、
としてコンピュータシステムを機能させるプログラム。
発明の詳細な説明
【技術分野】
【0001】
本開示は、利用者を表すアバターを利用する技術に関する。
続きを表示(約 2,500 文字)
【背景技術】
【0002】
例えばSNS(Social Networking Service)等の交流サービスにおいては、各利用者を表すアバター(avatar)が利用される。例えば特許文献1には、利用者の行動を検出し、検出の結果に応じた外観のアバターを生成する技術が開示されている。
【先行技術文献】
【特許文献】
【0003】
特許第6102939号公報
【発明の概要】
【発明が解決しようとする課題】
【0004】
ところで、近年の情報通信技術の発展により、SNSまたはゲームサービス等の多様な情報サービスが利用者に提供されている。特許文献1においては、利用者の現実の行動を検出した結果がアバターに反映されるに過ぎず、相異なる多様な情報サービスを利用者が利用してきた履歴はアバターに反映されない。以上の事情を考慮して、本開示のひとつの態様は、相異なる多様な情報サービスを利用者が利用してきた状況を当該利用者のアバターの外観に反映させることを目的とする。
【課題を解決するための手段】
【0005】
以上の課題を解決するために、本開示のひとつの態様に係る制御システムは、第1情報サービスを提供する第1システムから、利用者による前記第1情報サービスの利用において第1条件が成立した場合に、第1情報を取得する第1情報取得部と、前記第1情報サービスとは異なる第2情報サービスを提供する第2システムから、前記利用者による前記第2情報サービスの利用において第2条件が成立した場合に、第2情報を取得する第2情報取得部と、前記第1情報に対応する第1オブジェクトと前記第2情報に対応する第2オブジェクトとを含む複数のオブジェクトのうちの1以上のオブジェクトを、交流サービスにおいて前記利用者を表すアバターに適用するアバター処理部とを具備する。
【0006】
本開示のひとつの態様に係る情報システムは、第1情報サービスを提供する第1システムと、前記第1情報サービスとは異なる第2情報サービスを提供する第2システムと、交流サービスを提供する制御システムとを具備し、前記第1システムは、利用者による前記第1情報サービスの利用において第1条件が成立した場合に、前記制御システムに第1情報を送信し、前記第2システムは、前記利用者による前記第2情報サービスの利用において第2条件が成立した場合に、前記制御システムに第2情報を送信し、前記制御システムは、前記第1システムから前記第1情報を取得する第1情報取得部と、前記第2システムから前記第2情報を取得する第2情報取得部と、前記第1情報に対応する第1オブジェクトと前記第2情報に対応する第2オブジェクトとを含む複数のオブジェクトのうちの1以上のオブジェクトを、前記交流サービスにおいて前記利用者を表すアバターに適用するアバター処理部とを含む。
【0007】
本開示のひとつの態様に係る制御システムの動作方法は、第1情報サービスを提供する第1システムから、利用者による前記第1情報サービスの利用において第1条件が成立した場合に、第1情報を取得することと、前記第1情報サービスとは異なる第2情報サービスを提供する第2システムから、前記利用者による前記第2情報サービスの利用において第2条件が成立した場合に、第2情報を取得することと、前記第1情報に対応する第1オブジェクトと前記第2情報に対応する第2オブジェクトとを含む複数のオブジェクトのうちの1以上のオブジェクトを、交流サービスにおいて前記利用者を表すアバターに適用することとを含む。
【0008】
本開示のひとつの態様に係るプログラムは、第1情報サービスを提供する第1システムから、利用者による前記第1情報サービスの利用において第1条件が成立した場合に、第1情報を取得する第1情報取得部、前記第1情報サービスとは異なる第2情報サービスを提供する第2システムから、前記利用者による前記第2情報サービスの利用において第2条件が成立した場合に、第2情報を取得する第2情報取得部、および、前記第1情報に対応する第1オブジェクトと前記第2情報に対応する第2オブジェクトとを含む複数のオブジェクトのうちの1以上のオブジェクトを、交流サービスにおいて前記利用者を表すアバターに適用するアバター処理部、としてコンピュータシステムを機能させる。
【図面の簡単な説明】
【0009】
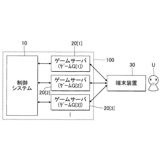
第1実施形態に係る情報システムの構成を例示するブロック図である。
端末装置の構成を例示するブロック図である。
交流サービス(プロフィールサービス)に関する交流画面の模式図である。
交流サービス(チャットサービス)に関する交流画面の模式図である。
交流サービス(仮想空間サービス)に関する交流画面の模式図である。
設定画面の模式図である。
ゲームサーバの構成を例示するブロック図である。
情報システムの機能的な構成を例示するブロック図である。
制御システムの構成を例示するブロック図である。
登録処理の手順を例示するフローチャートである。
利用者がゲームを開始するときの動作を例示するフローチャートである。
アバターの設定に関する動作のフローチャートである。
交流サービスに関する動作のフローチャートである。
情報システムが実行する動作の説明図である。
第2実施形態の情報システムが実行する動作の説明図である。
第3実施形態の情報システムが実行する動作の説明図である。
【発明を実施するための形態】
【0010】
図面を参照しながら本開示の実施の形態を説明する。以下に記載する実施の形態は、技術的に好適な種々の限定を含む。本開示の範囲は、以下に例示する形態には限定されない。
(【0011】以降は省略されています)
この特許をJ-PlatPat(特許庁公式サイト)で参照する
関連特許
個人
詐欺保険
1か月前
個人
縁伊達ポイン
1か月前
個人
職業自動販売機
11日前
個人
5掛けポイント
18日前
個人
RFタグシート
29日前
個人
地球保全システム
1か月前
個人
ペルソナ認証方式
26日前
個人
QRコードの彩色
1か月前
個人
自動調理装置
28日前
個人
情報処理装置
21日前
個人
冷凍食品輸出支援構造
2か月前
個人
表変換編集支援システム
2か月前
個人
農作物用途分配システム
1か月前
個人
残土処理システム
1か月前
個人
インターネットの利用構造
25日前
個人
タッチパネル操作指代替具
1か月前
個人
サービス情報提供システム
13日前
個人
知的財産出願支援システム
1か月前
個人
知財出願支援AIシステム
2か月前
個人
行動時間管理システム
2か月前
個人
パスワード管理支援システム
2か月前
個人
携帯端末障害問合せシステム
1か月前
個人
スケジュール調整プログラム
1か月前
個人
エリアガイドナビAIシステム
26日前
個人
海外支援型農作物活用システム
2か月前
個人
食品レシピ生成システム
1か月前
株式会社キーエンス
受発注システム
1か月前
個人
AIキャラクター制御システム
2か月前
株式会社キーエンス
受発注システム
1か月前
株式会社キーエンス
受発注システム
1か月前
個人
システム及びプログラム
2か月前
キヤノン株式会社
表示システム
1か月前
サクサ株式会社
中継装置
2か月前
トヨタ自動車株式会社
通知装置
1か月前
キヤノン株式会社
情報処理装置
5日前
個人
音声・通知・再配達UX制御構造
1か月前
続きを見る
他の特許を見る