TOP
|
特許
|
意匠
|
商標
特許ウォッチ
Twitter
他の特許を見る
10個以上の画像は省略されています。
公開番号
2025172026
公報種別
公開特許公報(A)
公開日
2025-11-20
出願番号
2025077798
出願日
2025-05-08
発明の名称
カレンダローラ用ベアリング・ブロック・アセンブリ、そのシステムおよび方法
出願人
テスラ,インコーポレイテッド
代理人
弁理士法人広江アソシエイツ特許事務所
主分類
F16C
23/06 20060101AFI20251113BHJP(機械要素または単位;機械または装置の効果的機能を生じ維持するための一般的手段)
要約
【課題】カレンダロールのための支持が改善されたベアリング・ブロック・アセンブリを提案する。
【解決手段】第1の側の第1の接触面222は、ベース面214から第1の角度で延在し、第2の側の第2の接触面は、ベース面から第2の角度で延在する。ハウジング210内には、第1のベアリングブロック表面232および第1のベアリング孔を有する第1のベアリングブロック230と、第2のベアリングブロック表面および第2のベアリング孔を有する第2のベアリングブロックと、予圧面および第3のベアリング孔を有する第3のベアリングブロックとがある。第1のベアリングブロック表面は第1の接触面の上に配設され、第2のベアリングブロック表面は第2の接触面の上に配設され、予圧面は予圧アクセスポートとベース面との間に位置決めされる。
【選択図】図2D
特許請求の範囲
【請求項1】
カレンダロールを支持するためのベアリング・ブロック・アセンブリであって、
予圧アクセスポートと、ベース面と、前記ベース面に対して垂直な中央平面によって分離された第1の側および第2の側とを備えるハウジングであって、第1の接触面が、前記ベース面から第1の角度で延在し、前記第1の側に配置され、第2の接触面が、前記ベース面から第2の角度で延在し、前記第2の側に配置される、ハウジングと、
前記ハウジング内に配設され、第1のベアリングブロック表面および第1のベアリング孔を備える第1のベアリングブロックであって、前記第1のベアリングブロック表面が前記第1の接触面の上に配設される、第1のベアリングブロックと、
前記ハウジング内に配設され、第2のベアリングブロック表面および第2のベアリング孔を備える第2のベアリングブロックであって、前記第2のベアリングブロック表面が前記第2の接触面の上に配設される、第2のベアリングブロックと、
前記ハウジング内に配設され、予圧面および第3のベアリング孔を備える第3のベアリングブロックであって、前記予圧面が前記予圧アクセスポートと前記ベース面との間に位置決めされる、第3のベアリングブロックと
を備える、ベアリング・ブロック・アセンブリ。
続きを表示(約 750 文字)
【請求項2】
前記ハウジングが、前記第1の接触面および前記第2の接触面をさらに備える、請求項1に記載のベアリング・ブロック・アセンブリ。
【請求項3】
前記第1の接触面が第1の支持ブロック上に配設され、前記第2の接触面が第2の支持ブロック上に配設され、前記第1および第2の支持ブロックが前記ハウジング内に位置決めされる、請求項1に記載のベアリング・ブロック・アセンブリ。
【請求項4】
前記第1の角度および前記第2の角度の各々が一致した角度である、請求項1に記載のベアリング・ブロック・アセンブリ。
【請求項5】
予圧力付与装置をさらに備える、請求項1に記載のベアリング・ブロック・アセンブリ。
【請求項6】
前記予圧力付与装置が前記予圧面に接触する、請求項5に記載のベアリング・ブロック・アセンブリ。
【請求項7】
前記ハウジング内に配設された第4のベアリングブロックをさらに備え、前記第4のベアリングブロックが第4のベアリング孔を備える、請求項1に記載のベアリング・ブロック・アセンブリ。
【請求項8】
前記第1のベアリングブロックおよび前記第2のベアリングブロックが、前記第3のベアリングブロックと前記第4のベアリングブロックとの間に配設される、請求項7に記載のベアリング・ブロック・アセンブリ。
【請求項9】
複数のベアリングをさらに備える、請求項1に記載のベアリング・ブロック・アセンブリ。
【請求項10】
前記複数のベアリングの各々がローラベアリングである、請求項9に記載のベアリング・ブロック・アセンブリ。
(【請求項11】以降は省略されています)
発明の詳細な説明
【技術分野】
【0001】
本開示は、一般に、ベアリング・ブロック・アセンブリ、特に、カレンダロールを支持するためのベアリング・ブロック・アセンブリに関する。
続きを表示(約 2,500 文字)
【背景技術】
【0002】
ベアリング・ブロック・アセンブリは、円筒ローラを支持するために様々な用途で使用されている。カレンダ加工用途では、これらのアセンブリのベアリングはカレンダロールを支持し、一方でカレンダロールは、硬質材料をカレンダ加工するために必要である高荷重を受ける。例えば、ベアリングは、隣接するベアリング・ブロック・アセンブリ間に張力を加えることによって水平方向に支持され得る。しかしながら、そのようなアセンブリは、カソード電池活物質(例えば、リチウムニッケルマンガンコバルト酸化物(「NMC」))などの硬質材料をカレンダ加工するときにベアリングを十分に支持しないことがある。
【0003】
したがって、カレンダロールのための支持が改善されたベアリング・ブロック・アセンブリが必要とされている。
【発明の概要】
【課題を解決するための手段】
【0004】
本開示のシステム、方法、およびデバイスは各々、いくつかの革新的な実施形態を有し、そのうちの1つだけが本明細書に開示された望ましい属性のすべてを単独で担うものではない。本明細書に記載の主題の1つまたは複数の実装形態の詳細は、添付の図面および以下の説明に記載されている。
【0005】
いくつかの態様では、本明細書に記載の技術は、カレンダロールを支持するためのベアリング・ブロック・アセンブリに関する。アセンブリは、予圧アクセスポートと、ベース面と、ベース面に対して垂直な中央平面によって分離された第1の側および第2の側とを有するハウジングを含み、ここで第1の接触面は、ベース面から第1の角度で延在し、第1の側に配置され、第2の接触面は、ベース面から第2の角度で延在し、第2の側に配置され、第1のベアリングブロックは、ハウジング内に配設され、第1のベアリングブロック表面および第1のベアリング孔を有し、ここで第1のベアリングブロック表面は第1の接触面の上に配設され、第2のベアリングブロックは、ハウジング内に配設され、第2のベアリングブロック表面および第2のベアリング孔を有し、ここで第2のベアリングブロック表面は第2の接触面の上に配設され、第3のベアリングブロックは、ハウジング内に配設され、予圧面および第3のベアリング孔を有し、ここで予圧面は予圧アクセスポートとベース面との間に位置決めされる。
【0006】
いくつかの実施形態では、ハウジングは、第1の接触面および第2の接触面を含む。いくつかの実施形態では、第1の接触面は第1の支持ブロック上に配設され、第2の接触面は第2の支持ブロック上に配設され、第1および第2の支持ブロックはハウジング内に位置決めされる。いくつかの実施形態では、第1の角度および第2の角度の各々は一致した角度である。いくつかの実施形態では、ハウジングは予圧力付与装置を含む。いくつかの実施形態では、予圧力付与装置は予圧面に接触する。いくつかの実施形態では、アセンブリは、ハウジング内に配設された第4のベアリングブロックを含み得、第4のベアリングブロックは第4のベアリング孔を備える。いくつかの実施形態では、第1のベアリングブロックおよび第2のベアリングブロックは、第3のベアリングブロックと第4のベアリングブロックとの間に配設される。いくつかの実施形態では、アセンブリは複数のベアリングを含み得る。いくつかの実施形態では、複数のベアリングの各々はローラベアリングである。いくつかの実施形態では、複数のベアリングは、第1のベアリング孔に配設された第1の対のベアリングと、第2のベアリング孔に配設された第2の対のベアリングと、第3のベアリング孔に配設された第3の対のベアリングと、第4のベアリング孔に配設された第4の対のベアリングとを含む。いくつかの態様では、本明細書に記載の技術は、カレンダロールを支持するためのシステムに関する。システムは、ベアリング・ブロック・アセンブリと、第1、第2、および第3のベアリング孔内に配設された第1のジャーナルを有するカレンダロールとを含み得る。いくつかの実施形態では、システムはまた、追加のベアリング孔を有する追加のベアリング・ブロック・アセンブリを含み、ここでカレンダロールは、追加のベアリング孔内に配設された第2のジャーナルを有する。
【0007】
いくつかの態様では、本明細書に記載の技術は、カレンダロールを支持するための方法に関する。本方法は、第1の表面に予圧力を加えることであって、それによって、予圧力が、カレンダロールのジャーナルに当接して配設された第1のベアリングに伝達され、第1の反力が、ジャーナルに当接して配設された第2のベアリングに加えられ、第2の反力が、第3の方向においてジャーナルに当接して配設された第3のベアリングに加えられ、ここで予圧力は第1の方向におけるものであり、第1の反力は第2の方向におけるものであり、第2の反力は第3の方向におけるものであり、ここで第1の方向、第2の方向、および第3の方向の各々は異なる方向である、加えることを含む。
【0008】
いくつかの実施形態では、本方法は、カレンダロールの振動を低減することを含む。いくつかの実施形態では、予圧力は少なくともおよそ100kNである。いくつかの実施形態では、第1の方向は重力と同じ方向におけるものである。いくつかの実施形態では、第1の反力は、垂直成分と水平成分とを含む。いくつかの実施形態では、第2の反力は、垂直成分と水平成分とを含む。いくつかの実施形態では、本方法は、第1のベアリング、第2のベアリング、および第3のベアリングの遊びを低減することを含む。
【図面の簡単な説明】
【0009】
本発明は、同様の参照符号が同様の要素を参照する添付の図面を参照して説明される。
【0010】
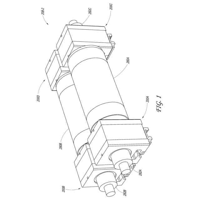
いくつかの実施形態による、隣接するベアリング・ブロック・アセンブリおよび隣接するカレンダロールの対を備えるカレンダロールシステムの斜視図である。
(【0011】以降は省略されています)
特許ウォッチbot のツイートを見る
この特許をJ-PlatPat(特許庁公式サイト)で参照する
関連特許
個人
留め具
1か月前
個人
鍋虫ねじ
3か月前
個人
回転伝達機構
3か月前
個人
紛体用仕切弁
3か月前
個人
ホース保持具
7か月前
個人
トーションバー
7か月前
個人
差動歯車用歯形
5か月前
個人
給排気装置
1か月前
個人
ジョイント
2か月前
株式会社不二工機
電磁弁
6か月前
株式会社不二工機
電磁弁
4か月前
個人
ナット
2か月前
個人
ナット
19日前
個人
ボルトナットセット
8か月前
個人
地震の揺れ回避装置
4か月前
個人
吐出量監視装置
2か月前
個人
ゲート弁バルブ
4日前
兼工業株式会社
バルブ
20日前
カヤバ株式会社
緩衝器
1か月前
カヤバ株式会社
ダンパ
5か月前
カヤバ株式会社
緩衝器
4か月前
カヤバ株式会社
ダンパ
5か月前
カヤバ株式会社
緩衝器
8か月前
株式会社三協丸筒
枠体
8か月前
カヤバ株式会社
緩衝器
4か月前
柿沼金属精機株式会社
分岐管
3か月前
株式会社ノーリツ
分配弁
6か月前
株式会社ノーリツ
分配弁
6か月前
アズビル株式会社
回転弁
2か月前
株式会社不二工機
電磁弁
3か月前
株式会社奥村組
制振機構
1か月前
株式会社奥村組
制振機構
1か月前
株式会社三五
ドライブシャフト
1か月前
株式会社フジキン
ボールバルブ
5か月前
株式会社ニフコ
クリップ
1か月前
株式会社ノーリツ
分配弁
1か月前
続きを見る
他の特許を見る