TOP
|
特許
|
意匠
|
商標
特許ウォッチ
Twitter
他の特許を見る
10個以上の画像は省略されています。
公開番号
2025172017
公報種別
公開特許公報(A)
公開日
2025-11-20
出願番号
2025077291
出願日
2025-05-07
発明の名称
加工装置及びワーク加工方法
出願人
高松機械工業株式会社
代理人
個人
,
個人
,
個人
,
個人
主分類
B23B
5/00 20060101AFI20251113BHJP(工作機械;他に分類されない金属加工)
要約
【課題】ワークの両端面加工と外周面加工を一つの装置で行うことができる加工装置を提供すること。
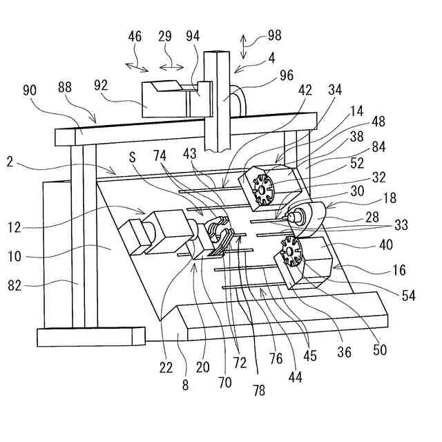
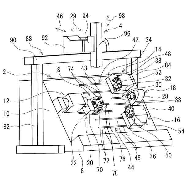
【解決手段】旋盤本体2と、旋盤本体の片側に配設された主軸部12と、旋盤本体2の他側に配設された芯押し台18と、第1及び第2タレット装置14,16と、ワークを保持するためのグリッパ装置20とを備えたNC旋盤(加工装置)。主軸部12はフェイスドライバ(ワーク保持駆動手段)を備え、芯押し台18は芯押しセンタを備え、また第1及び第2タレット装置14,16は、第1及び第2タレット52,54を備え、第1及び第2タレット52,54には、ワーク端面を加工する第1及び端面加工工具、ワークセンタを穴加工する第1及び第2センタ穴加工工具並びにワーク外径を加工する第1及び第2外径加工工具が設けられ、グリッパ装置20は、ワークを把持するためのグリッパ手段72を有している。
【選択図】図1
特許請求の範囲
【請求項1】
加工装置本体と、前記加工装置本体の片側に配設された主軸部と、前記加工装置本体の他側に前記主軸部に対向して配設された芯押し台と、複数の加工工具が取り付けられる第1及び第2タレット装置と、ワークを保持するためのグリッパ装置とを備えた加工装置であって、
前記主軸部は、回転自在に支持された主軸と、前記主軸と一体的に回動されるワーク保持駆動手段とを備えており、
前記芯押し台は、前記主軸部に近接及び離隔する方向に移動自在に前記加工装置本体に装着され且つ前記主軸部側の前記ワーク保持駆動手段と協働して前記ワークを保持する芯押しセンタを備えており、
前記第1タレット装置は、前記主軸部の前記ワーク保持駆動手段と前記芯押し台の前記芯押しセンタとを結ぶ加工中心軸線に平行に往復移動自在に前記加工装置本体に装着された第1タレットを備え、前記第1タレットには、前記ワークの片端部を加工するための第1加工工具が取り付けられており、
前記第2タレット装置は、前記加工中心軸線に平行に往復移動自在に前記加工装置本体に装着された第2タレットを備え、前記第2タレットには、前記ワークの他端部を加工するための第2加工工具が取り付けられており、
また、前記第1タレット装置の前記第1タレット及び/又は前記第2タレット装置の前記第2タレットには、前記ワークの外周面を外径加工するための第1外径加工工具及び/又は第2外径加工工具が取り付けられており、
更に、前記グリッパ装置は、前記加工中心軸線に平行に往復移動自在に前記加工装置本体に装着され且つ前記ワークを把持するグリッパ手段を備えていることを特徴とする加工装置。
続きを表示(約 3,100 文字)
【請求項2】
前記第1タレット装置に取り付けられる前記第1加工工具は、前記ワークの片端面を端面加工する第1端面加工工具及び/又は前記ワークの前記片端面をセンタ穴加工する第1センタ穴加工工具を含み、また前記第2タレット装置に取り付けられる前記第2加工工具は、前記ワークの他端面を端面加工する第2端面加工工具及び/又は前記ワークの前記他端面をセンタ穴加工する第2センタ穴加工工具を含んでいることを特徴とする請求項1に記載の加工装置。
【請求項3】
前記第1タレット装置側の前記第1端面加工工具は前記第1タレットの第1工具取付部に取り付けられ、前記第1センタ穴加工工具は前記第1タレットの第2工具取付部に取り付けられ、前記第1外径加工工具は前記第1タレットの第3工具取付部に取り付けられ、また前記第2タレット装置側の前記第2端面加工工具は前記第2タレットの第1工具取付部に取り付けられ、前記第2センタ穴加工工具は前記第2タレットの第2工具取付部に取り付けられ、前記第2外径加工工具は前記第2タレットの第3工具取付部に取り付けられていることを特徴とする請求項2に記載の加工装置。
【請求項4】
加工装置本体と、前記加工装置本体の片側に配設された主軸部と、前記加工装置本体の他側に前記主軸部に対向して配設された芯押し台と、複数の加工工具が取り付けられるタレット装置と、ワークを保持するためのグリッパ装置とを備えた加工装置であって、
前記主軸部は、回転自在に支持された主軸と、前記主軸と一体的に回動されるワーク保持駆動手段とを備えており、
前記芯押し台は、前記主軸部に近接及び離隔する方向に移動自在に前記加工装置本体に装着され且つ前記主軸部側の前記ワーク保持手段と協働して前記ワークを保持する芯押しセンタを備えており、
前記タレット装置は、前記主軸部の前記ワーク保持手段と前記芯押し台の前記芯押しセンタとを結ぶ加工中心軸線に平行に往復移動自在に前記加工装置本体に装着され且つ周方向に複数の工具取付部を有するタレットを備え、前記タレットには、前記ワークの片端部を加工するための第1加工工具及び前記ワークの他端部を加工するための第2加工工具が設けられているとともに、前記ワークの外周面を外径加工するための外径加工工具が設けられており、
また、前記グリッパ装置は、前記加工中心軸線に平行に往復移動自在に前記加工装置本体に装着され且つ前記ワークを把持するグリッパ手段を備えていることを特徴とする加工装置。
【請求項5】
前記第1加工工具は、前記ワークの片端面を端面加工する第1端面加工工具及び/又は前記ワークの前記片端面をセンタ穴加工する第1センタ穴加工工具を含み、また前記第2加工工具は、前記ワークの他端面を端面加工する第2端面加工工具及び/又は前記ワークの前記他端面をセンタ穴加工する第2センタ穴加工工具を含んでいることを特徴とする請求項4に記載の加工装置。
【請求項6】
前記第1端面加工工具は前記タレットの第1工具取付部に取り付けられ、前記第1センタ穴加工工具は前記タレットの第2工具取付部に取り付けられ、前記第2端面加工工具は前記タレットの第3工具取付部に取り付けられ、前記第2センタ穴加工工具は前記タレットの第4工具取付部に取り付けられ、前記外径加工工具は前記タレットの第5工具取付部に取り付けられていることを特徴とする請求項5に記載の加工装置。
【請求項7】
加工装置本体と、前記加工装置本体の片側に配設された主軸部と、前記加工装置本体の他側に前記主軸部に対向して配設された芯押し台と、複数の加工工具が取り付けられる第1及び第2タレット装置と、ワークを保持するためのグリッパ装置とを備えた加工装置であって、
前記主軸部は、回転自在に支持された主軸と、前記主軸と一体的に回動されるワーク保持駆動手段とを備えており、
前記芯押し台は、前記主軸部に近接及び離隔する方向に移動自在に前記加工装置本体に装着され且つ前記主軸部側の前記ワーク保持駆動手段と協働して前記ワークを保持する芯押しセンタを備えており、
前記第1及び第2タレット装置は、前記主軸部の前記ワーク保持駆動手段と前記芯押し台の前記芯押しセンタとを結ぶ加工中心軸線に平行に往復移動自在に前記加工装置本体に装着された第1及び第2タレットを備え、前記第1及び第2タレットの一方には、前記ワークの片端部を加工するための第1加工工具、前記ワークの他端部を加工するための第2加工工具及び前記ワークの外周面を外径加工するための第1外径加工工具が設けられており、
また、前記グリッパ装置は、前記第1及び第2タレットの他方に取り付けられ、前記ワークを保持するグリッパ手段を備えていることを特徴とする加工装置。
【請求項8】
前記第1加工工具は、前記ワークの片端面を端面加工する第1端面加工工具及び/又は前記ワークの前記片端面をセンタ穴加工する第1センタ穴加工工具を含み、また前記第2加工工具は、前記ワークの他端面を端面加工する第2端面加工工具及び/又は前記ワークの前記他端面をセンタ穴加工する第2センタ穴加工工具を含んでいることを特徴とする請求項7に記載の加工装置。
【請求項9】
前記第1及び第2タレットの一方は、少なくとも第1~第5工具取付部を有し、前記第1端面加工工具は一方のタレットの前記第1工具取付部に取り付けられ、前記第1センタ穴加工工具は前記一方のタレットの前記第2工具取付部に取り付けられ、前記第2端面加工工具は前記一方のタレットの前記第3工具取付部に取り付けられ、前記第2センタ穴加工工具は前記一方のタレットの前記第4工具取付部に取り付けられ、前記第1外径加工工具は前記一方のタレットの前記第5工具取付部に取り付けられており、また前記第1及び第2タレットの他方は、少なくとも第1及び第2工具取付部を有し、前記グリッパ装置は他方のタレットの前記第1工具取付部に取り付けられ、更に前記他方のタレットの前記第2工具取付部に第2外径加工工具が取り付けられることを特徴とする請求項8に記載の加工装置。
【請求項10】
加工装置本体の片側に配設された主軸部と、前記加工装置本体の他側に前記主軸部に対向して配設された芯押し台と、複数の加工工具が取り付けられる第1及び第2タレット装置と、ワークを保持するためのグリッパ装置とを備えた加工装置を用いてワークの両端部を加工した後にその外周面を外径加工するワーク加工方法であって、
加工すべきワークを前記加工装置本体に装着された前記グリッパ装置で把持するワーク把持工程と、前記ワーク把持工程の後に前記ワークの一端部を前記第1タレット装置に取り付けた第1加工工具によって加工する片側加工工程と、前記片側加工工程の後に前記ワークの他端部を前記第2タレット装置に取り付けた第2加工工具によって加工する他側加工工程と、前記他側加工工程の後に前記主軸部に装着されたワーク保持駆動手段と前記芯押し台の芯押しセンタにより前記ワークの両端部を保持するワーク保持工程と、前記ワーク保持工程の後に前記ワークを回転させた状態で前記第1タレットに取り付けた第1外径加工工具及び/又は前記第2タレットに取り付けた第2外径加工工具によって前記ワークの外周面を外径加工する外径加工工程と、を含むことを特徴とするワーク加工方法。
(【請求項11】以降は省略されています)
発明の詳細な説明
【技術分野】
【0001】
本発明は、ワークの両端面を加工した後その外周面を加工するのに適した加工装置及びワーク加工方法に関する。
続きを表示(約 2,200 文字)
【背景技術】
【0002】
例えば、ワークの両端面及びその外周面を加工する場合、ワークの両端面を加工する専用の両端加工装置(例えば、両端加工機)と、ワークの外周面を加工する外周加工装置(例えば、NC旋盤)とを用いて加工していた。
【0003】
両端加工装置の一例としては、例えば津根精機株式会社から製造販売されているもの(例えば、非特許文献1参照)を用い、この両端加工装置を用いてワークの両端面を切削加工及び/又はセンタ穴加工を行っている。
【0004】
そして、両端加工したワークの外周面を外径加工する加工装置としては、例えば各社から製造販売されているNC旋盤を用い、このNC旋盤の主軸部に装着されたフェイスドライバと芯押し台の芯押しセンタにより両端加工されたワークを保持し、主軸部からの回転駆動力をフェイスドライバを介してワークに伝達し、切削加工工具をワークの外周面に作用させて外径加工を行っている。
【先行技術文献】
【非特許文献】
【0005】
製品カタログ(https://www.tsune.co.jp/support/catalog/pdf/tmb.pdf)
【発明の概要】
【発明が解決しようとする課題】
【0006】
しかしながら、従来のワーク加工では、ワークの両端を加工する例えば両端加工装置及びワークの外周面を加工する例えばNC旋盤の2種類の加工装置を必要とするために、加工工程が二つとなって一連の加工作業で行うことができず、ワークの加工効率が悪くなる問題がある。また、二つの加工装置が必要なことから設備費用が高くなるとともに、設備設置のために広いスペースが必要となる問題がある。
【0007】
本発明の目的は、ワークの両端面加工とその外周面加工とを一つの装置で行うことができる加工装置を提供することである。
【0008】
また、本発明の他の目的は、一つの加工装置でもってワークの両端面及び外周面の加工を行うことができるワーク加工方法を提供することである。
【課題を解決するための手段】
【0009】
本発明の第1の加工装置は、加工装置本体と、前記加工装置本体の片側に配設された主軸部と、前記加工装置本体の他側に前記主軸部に対向して配設された芯押し台と、複数の加工工具が取り付けられる第1及び第2タレット装置と、ワークを保持するためのグリッパ装置とを備えた加工装置であって、
前記主軸部は、回転自在に支持された主軸と、前記主軸と一体的に回動されるワーク保持駆動手段とを備えており、
前記芯押し台は、前記主軸部に近接及び離隔する方向に移動自在に前記加工装置本体に装着され且つ前記主軸部側の前記ワーク保持駆動手段と協働して前記ワークを保持する芯押しセンタを備えており、
前記第1タレット装置は、前記主軸部の前記ワーク保持駆動手段と前記芯押し台の前記芯押しセンタとを結ぶ加工中心軸線に平行に往復移動自在に前記加工装置本体に装着された第1タレットを備え、前記第1タレットには、前記ワークの片端部を加工するための第1加工工具が取り付けられており、
前記第2タレット装置は、前記加工中心軸線に平行に往復移動自在に前記加工装置本体に装着された第2タレットを備え、前記第2タレットには、前記ワークの他端部を加工するための第2加工工具が取り付けられており、
また、前記第1タレット装置の前記第1タレット及び/又は前記第2タレット装置の前記第2タレットには、前記ワークの外周面を外径加工するための第1外径加工工具及び/又は第2外径加工工具が取り付けられており、
更に、前記グリッパ装置は、前記加工中心軸線に平行に往復移動自在に前記加工装置本体に装着され且つ前記ワークを把持するグリッパ手段を備えていることを特徴とする。
【0010】
本発明の第2の加工装置は、加工装置本体と、前記加工装置本体の片側に配設された主軸部と、前記加工装置本体の他側に前記主軸部に対向して配設された芯押し台と、複数の加工工具が取り付けられるタレット装置と、ワークを保持するためのグリッパ装置とを備えた加工装置であって、
前記主軸部は、回転自在に支持された主軸と、前記主軸と一体的に回動されるワーク保持駆動手段とを備えており、
前記芯押し台は、前記主軸部に近接及び離隔する方向に移動自在に前記加工装置本体に装着され且つ前記主軸部側の前記ワーク保持手段と協働して前記ワークを保持する芯押しセンタを備えており、
前記タレット装置は、前記主軸台の前記ワーク保持手段と前記芯押し台の前記芯押しセンタとを結ぶ加工中心軸線に平行に往復移動自在に前記加工装置本体に装着され且つ周方向に複数の工具取付部を有するタレットを備え、前記タレットには、前記ワークの片端部を加工するための第1加工工具及び前記ワークの他端部を加工するための第2加工工具が設けられているとともに、前記ワークの外周面を外径加工するための外径加工工具が設けられており、
また、前記グリッパ装置は、前記加工中心軸線に平行に往復移動自在に前記加工装置本体に装着され且つ前記ワークを把持するグリッパ手段を備えていることを特徴とする。
(【0011】以降は省略されています)
この特許をJ-PlatPat(特許庁公式サイト)で参照する
関連特許
高松機械工業株式会社
工作機械
1か月前
高松機械工業株式会社
加工装置及びワーク加工方法
4日前
個人
フライス盤
2か月前
個人
加工機
6か月前
麗豊実業股フン有限公司
ラクトバチルス・パラカセイNB23菌株及びそれを筋肉量の増加や抗メタボリック症候群に用いる用途
6か月前
株式会社北川鉄工所
回転装置
5か月前
日東精工株式会社
ねじ締め機
3か月前
株式会社不二越
ドリル
6か月前
日東精工株式会社
ねじ締め機
2か月前
日東精工株式会社
ねじ締め機
5か月前
日東精工株式会社
ねじ締め機
1か月前
キヤノン電子株式会社
加工装置
17日前
ダイニチ工業株式会社
配膳治具
20日前
株式会社ダイヘン
溶接電源装置
3か月前
日東精工株式会社
ねじ締め装置
2か月前
株式会社ダイヘン
溶接電源装置
4か月前
株式会社ダイヘン
溶接電源装置
4か月前
日東精工株式会社
ねじ締め装置
4か月前
株式会社FUJI
工作機械
1か月前
日東精工株式会社
ねじ整列トレー
12日前
株式会社FUJI
工作機械
1か月前
株式会社FUJI
工作機械
4か月前
個人
切削油供給装置
3か月前
株式会社FUJI
工作機械
5か月前
株式会社アンド
半田付け方法
6か月前
睦月電機株式会社
金属表面処理方法
17日前
株式会社アンド
半田付け方法
6か月前
中国電力株式会社
養生シート
1か月前
キヤノン電子株式会社
加工システム
3か月前
個人
型枠製造装置のフレーム
1か月前
株式会社アンド
半田付け方法
2か月前
株式会社富田製作所
支持構造
25日前
株式会社ツガミ
工作機械
2か月前
株式会社向洋技研
スタッドの製造方法
19日前
村田機械株式会社
レーザ加工機
6か月前
株式会社トヨコー
被膜除去方法
6か月前
続きを見る
他の特許を見る