TOP
|
特許
|
意匠
|
商標
特許ウォッチ
Twitter
他の特許を見る
10個以上の画像は省略されています。
公開番号
2025172009
公報種別
公開特許公報(A)
公開日
2025-11-20
出願番号
2025076408
出願日
2025-05-01
発明の名称
表示装置
出願人
三星ディスプレイ株式會社
,
Samsung Display Co.,Ltd.
代理人
個人
主分類
G09F
9/00 20060101AFI20251113BHJP(教育;暗号方法;表示;広告;シール)
要約
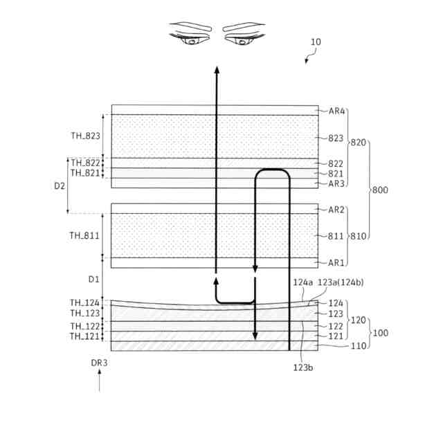
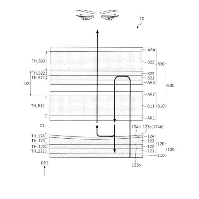
【課題】光学モジュールの厚さを最小化した表示装置を提供する。
【解決手段】表示モジュール、および前記表示モジュール上に配置されるウィンドウモジュールを含む表示パネル、および前記表示パネル上に配置され、第1光学モジュールおよび第2光学モジュールを含む光学モジュールを含み、前記ウィンドウモジュールは、前記表示モジュール上に配置される第1偏光フィルム、前記第1偏光フィルム上に配置される第1位相遅延フィルム、前記第1位相遅延フィルム上に配置されるウィンドウ、および前記ウィンドウ上に配置される半透過反射膜を含み、前記第1光学モジュールは前記半透過反射膜上に配置される第1レンズを含み、前記第2光学モジュールは、前記第1レンズ上に配置される第2位相遅延フィルム、前記第2位相遅延フィルム上に配置される第2偏光フィルム、および前記第2偏光フィルム上に配置される第2レンズ、を含む表示装置が提供される。
【選択図】図9
特許請求の範囲
【請求項1】
表示モジュール、および前記表示モジュール上に配置されるウィンドウモジュールを含む表示パネル、および
前記表示パネル上に配置され、第1光学モジュールおよび第2光学モジュールを含む光学モジュールを含み、
前記ウィンドウモジュールは、
前記表示モジュール上に配置される第1偏光フィルム、
前記第1偏光フィルム上に配置される第1位相遅延フィルム、
前記第1位相遅延フィルム上に配置されるウィンドウ、および
前記ウィンドウ上に配置される半透過反射膜を含み、
前記第1光学モジュールは前記半透過反射膜上に配置される第1レンズを含み、
前記第2光学モジュールは、
前記第1レンズ上に配置される第2位相遅延フィルム、
前記第2位相遅延フィルム上に配置される第2偏光フィルム、および
前記第2偏光フィルム上に配置される第2レンズ、を含む、表示装置。
続きを表示(約 730 文字)
【請求項2】
前記半透過反射膜は、曲面を含む、請求項1に記載の表示装置。
【請求項3】
前記ウィンドウは、前記半透過反射膜に隣接する第1面を含み、
前記ウィンドウの前記第1面は、曲面である、請求項2に記載の表示装置。
【請求項4】
前記第1面の曲率半径は、100mm以上である、請求項3に記載の表示装置。
【請求項5】
前記第1偏光フィルムおよび前記第2偏光フィルムは、線偏光フィルムであり、
前記第1偏光フィルムの第1偏光軸と前記第2偏光フィルムの第2偏光軸は、互いに垂直である、請求項1に記載の表示装置。
【請求項6】
前記第1偏光フィルムは、吸収型偏光フィルムであり、
前記第2偏光フィルムは、反射型偏光フィルムである、請求項5に記載の表示装置。
【請求項7】
前記第2レンズ上に配置される第3偏光フィルムをさらに含み、
前記第3偏光フィルムの第3偏光軸は、前記第2偏光軸と平行な方向に延びる、請求項5に記載の表示装置。
【請求項8】
前記第3偏光フィルムは、吸収型偏光フィルムである、請求項7に記載の表示装置。
【請求項9】
前記第1位相遅延フィルムおよび前記第2位相遅延フィルムは、λ/4板であり、
前記第1位相遅延フィルムの第1光軸と前記第2位相遅延フィルムの第2光軸は、互いに逆方向にねじれている、請求項1に記載の表示装置。
【請求項10】
前記第1レンズおよび前記第2レンズは、拡大レンズである、請求項1に記載の表示装置。
(【請求項11】以降は省略されています)
発明の詳細な説明
【技術分野】
【0001】
本発明は表示装置に関する。
続きを表示(約 1,400 文字)
【背景技術】
【0002】
ヘッドマウント型表示装置(Head Mounted Display,HMD)は、ユーザの頭部にメガネやヘルメットの形態で着用し、ユーザの目の前の近距離に焦点が形成される映像表示装置である。ヘッドマウント型表示装置は、仮想現実(Virtual Reality,VR)または拡張現実(Augmented Reality,AR)を実現することができる。
【0003】
ヘッドマウント型表示装置は、小型の表示装置が表示する映像を複数のレンズを用いて拡大して表示する。したがって、ヘッドマウント型表示装置に適用される表示装置は、高解像度の映像、例えば3000PPI(Pixels Per Inch)以上の解像度を有する映像を提供する必要がある。これのため、ヘッドマウント型表示装置に適用される表示装置として、高解像度の小型有機発光表示装置であるOLEDoS(Organic Light Emitting Diode on Silicon)が利用されている。OLEDoSは、CMOS(Complementary Metal Oxide Semiconductor)を含む半導体ウェハ基板上に有機発光ダイオード(Organic Light Emitting Diode,OLED)を配置して映像を表示する装置である。
【発明の概要】
【発明が解決しようとする課題】
【0004】
本発明が解決しようとする課題は、光学モジュールの厚さを最小化した表示装置を提供することにある。
【0005】
本発明が解決しようとする他の課題は、出光率が向上した表示装置を提供することにある。
【0006】
本発明の課題は以上で言及した課題に制限されず、言及されていないまた他の技術的課題は、以下の記載から当業者に明確に理解されるものである。
【課題を解決するための手段】
【0007】
前記課題を解決するための一実施形態による表示装置は、表示モジュール、および前記表示モジュール上に配置されるウィンドウモジュールを含む表示パネル、および前記表示パネル上に配置され、第1光学モジュールおよび第2光学モジュールを含む光学モジュールを含み、前記ウィンドウモジュールは、前記表示モジュール上に配置される第1偏光フィルム、前記第1偏光フィルム上に配置される第1位相遅延フィルム、前記第1位相遅延フィルム上に配置されるウィンドウ、および前記ウィンドウ上に配置される半透過反射膜を含み、前記第1光学モジュールは前記半透過反射膜上に配置される第1レンズを含み、前記第2光学モジュールは、前記第1レンズ上に配置される第2位相遅延フィルム、前記第2位相遅延フィルム上に配置される第2偏光フィルム、および前記第2偏光フィルム上に配置される第2レンズを含む。
【0008】
前記半透過反射膜は、曲面を含み得る。
【0009】
前記ウィンドウは、前記半透過反射膜に隣接する第1面を含み、前記ウィンドウの前記第1面は曲面であり得る。
【0010】
前記第1面の曲率半径は、100mm以上であり得る。
(【0011】以降は省略されています)
この特許をJ-PlatPat(特許庁公式サイト)で参照する
関連特許
三星ディスプレイ株式會社
表示装置
4日前
三星ディスプレイ株式會社
ウィンドウ及びそれを含む電子装置
18日前
三星ディスプレイ株式會社
樹脂組成物、接着部材、及び接着部材を含む表示装置
25日前
三星ディスプレイ株式會社
金属酸化物ナノ粒子複合体、それを含む組成物、発光素子、電子装置、及び電子機器
18日前
個人
教育のAI化
17日前
個人
英語教材
1か月前
個人
回転式カード学習具
2か月前
日本精機株式会社
表示装置
3か月前
個人
時刻表示機能つき手帳
3か月前
日本精機株式会社
表示装置
20日前
日本精機株式会社
表示装置
2か月前
個人
計算用教具
1か月前
中国電力株式会社
標示旗
2か月前
日本精機株式会社
車両用表示装置
26日前
日本精機株式会社
車両用表示装置
3か月前
日本精機株式会社
車両用表示装置
3か月前
個人
インフィニティミラー
18日前
日本精機株式会社
車両用表示装置
3か月前
個人
微細構造を模した理科学習教材
1か月前
個人
モデルで薔薇の花嫁様を描く為
2か月前
日本精機株式会社
車両用センサ装置
1か月前
日榮新化株式会社
対象物質感知シート
17日前
株式会社一弘社
情報表示板
2か月前
シャープ株式会社
表示装置
2か月前
ニチレイマグネット株式会社
サイン器具
1か月前
株式会社ウメラボ
学習支援システム
1か月前
個人
音楽教材
3か月前
株式会社ウメラボ
学習支援システム
1か月前
ニチレイマグネット株式会社
磁着式電飾装置
2か月前
日本精機株式会社
表示装置及びその製造方法
20日前
株式会社半導体エネルギー研究所
半導体装置
3か月前
朝日インテック株式会社
ラベルシート
1か月前
株式会社リコー
画像投射システム
2か月前
リンテック株式会社
表示体
1か月前
株式会社イリオスNOTO
シート保管具
1か月前
朝日インテック株式会社
生体モデル装置
20日前
続きを見る
他の特許を見る