TOP
|
特許
|
意匠
|
商標
特許ウォッチ
Twitter
他の特許を見る
10個以上の画像は省略されています。
公開番号
2025172007
公報種別
公開特許公報(A)
公開日
2025-11-20
出願番号
2025076107
出願日
2025-05-01
発明の名称
マッサージ器
出願人
株式会社アテックス
代理人
個人
,
個人
,
個人
,
個人
主分類
A61H
7/00 20060101AFI20251113BHJP(医学または獣医学;衛生学)
要約
【課題】使用者がリラックスした状態で頭部のマッサージを受けることができるマッサージ器を提供する。
【解決手段】本発明は、使用者の頭部をマッサージするためのマッサージ器2である。マッサージ器2は、本体部100と、本体部100に設けられた膨張部200と、膨張部200の膨張収縮を制御するための制御部300と、を含んでいる。本体部100は、使用者の頸部及び後頭部を支持するための支持部110と、使用者の頭頂部及び側頭部を包囲するための周囲部120とを含んでいる。膨張部200は、周囲部120に設けられた少なくとも1つの頭部エアバッグを含んでいる。
【選択図】図10
特許請求の範囲
【請求項1】
使用者の頭部をマッサージするためのマッサージ器であって、
本体部と、
前記本体部に設けられた膨張部と、
前記膨張部の膨張収縮を制御するための制御部と、を含み、
前記本体部は、前記使用者の頸部及び後頭部を支持するための支持部と、前記使用者の頭頂部及び側頭部を包囲するための周囲部とを含み、
前記膨張部は、前記周囲部に設けられた少なくとも1つの頭部エアバッグを含む、
マッサージ器。
続きを表示(約 890 文字)
【請求項2】
前記本体部は、前記支持部の下方側の平坦な底面部を含む、請求項1に記載のマッサージ器。
【請求項3】
前記支持部は、前記頸部を支持する第1支持部と、前記後頭部を支持する第2支持部とを含み、
前記第2支持部の前記底面部からの高さは、前記第1支持部の前記底面部からの高さよりも小さい、請求項2に記載のマッサージ器。
【請求項4】
前記頭部エアバッグは、前記頭頂部に対向する位置に設けられた少なくとも1つの頭頂部エアバッグと、前記側頭部に対向する位置に設けられた一対の側頭部エアバッグとを含む、請求項1ないし3のいずれか1項に記載のマッサージ器。
【請求項5】
前記制御部は、前記側頭部エアバッグを膨張させた状態で、前記頭頂部エアバッグを膨張させる、請求項4に記載のマッサージ器。
【請求項6】
前記膨張部は、前記支持部に設けられた少なくとも1つの頸部エアバッグを含む、請求項1ないし3のいずれか1項に記載のマッサージ器。
【請求項7】
前記頸部エアバッグは、左右方向の一方側に位置する第1エアブラダと、他方側に位置する第2エアブラダとを含み、
前記第1エアブラダと前記第2エアブラダとは、互いに独立して膨張収縮可能である、請求項6に記載のマッサージ器。
【請求項8】
前記頸部エアバッグは、前記頭頂部側の第1端部を起点として、前記第1端部とは反対側の第2端部を扇状に膨張させる扇形エアバッグである、請求項6に記載のマッサージ器。
【請求項9】
前記頭部エアバッグは、前記頸部エアバッグの膨張量に応じて、前記使用者の前記頭部の異なる経穴を押圧する、請求項6に記載のマッサージ器。
【請求項10】
前記制御部は、前記膨張部に空気を供給するためのエアポンプを含み、
前記エアポンプは、前記本体部から離れたケース内に設けられる、請求項1ないし3のいずれか1項に記載のマッサージ器。
(【請求項11】以降は省略されています)
発明の詳細な説明
【技術分野】
【0001】
本発明は、使用者の頭部をマッサージするためのマッサージ器に関する。
続きを表示(約 1,500 文字)
【背景技術】
【0002】
従来、使用者の頭部をマッサージするためのマッサージ器が知られている。例えば、下記特許文献1は、頭部を覆う頭部覆体に頭部をマッサージするマッサージ機構を備えた頭部マッサージ機を提案している。
【先行技術文献】
【特許文献】
【0003】
特開2015-205040号公報
【発明の概要】
【発明が解決しようとする課題】
【0004】
しかしながら、特許文献1のマッサージ器は、頭部に装着して使用者が立った状態か座った状態で使用するものであることから、マッサージ器自体の重さが使用者の頭部や首部に負荷され、使用者がリラックスしてマッサージを受けることができなかった。
【0005】
本発明は、以上のような実状に鑑み案出されたもので、使用者がリラックスした状態で頭部のマッサージを受けることができるマッサージ器を提供することを主たる目的としている。
【課題を解決するための手段】
【0006】
本発明は、使用者の頭部をマッサージするためのマッサージ器であって、本体部と、前記本体部に設けられた膨張部と、前記膨張部の膨張収縮を制御するための制御部と、を含み、前記本体部は、前記使用者の頸部及び後頭部を支持するための支持部と、前記使用者の頭頂部及び側頭部を包囲するための周囲部とを含み、前記膨張部は、前記周囲部に設けられた少なくとも1つの頭部エアバッグを含む、マッサージ器である。
【発明の効果】
【0007】
本発明のマッサージ器は、上述の構成を備えることにより、使用者がリラックスした状態で頭部のマッサージを受けることができる。
【図面の簡単な説明】
【0008】
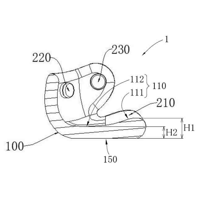
本発明のマッサージ器の一実施形態を示す斜視図である。
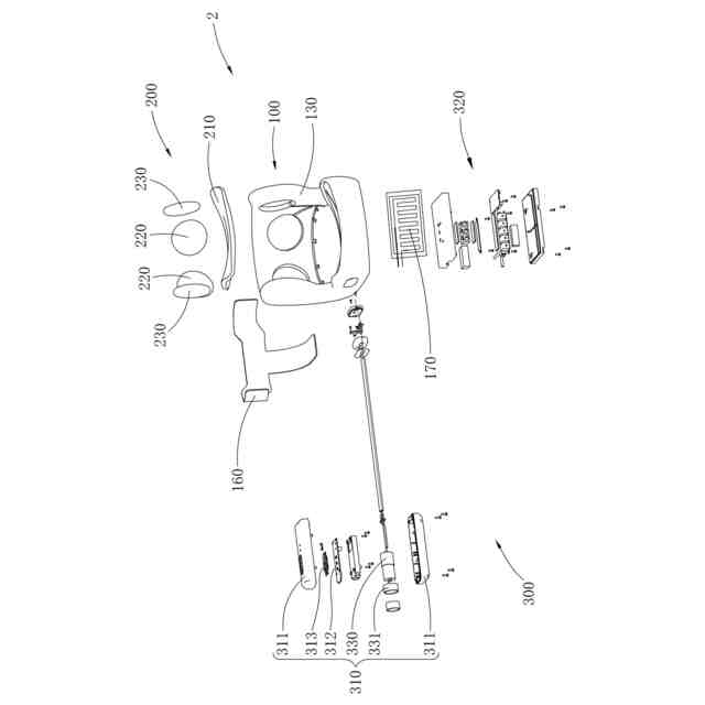
マッサージ器の分解斜視図である。
制御部の分解斜視図である。
電磁弁の分解斜視図である。
マッサージ器の断面図である。
頸部エアバッグが膨張した状態のマッサージ器の断面図である。
頸部エアバッグが膨張した状態のマッサージ器の正面図である。
第2エアブラダが膨張した状態のマッサージ器の正面図である。
第2実施形態のマッサージ器の部分透視斜視図である。
マッサージ器の分解斜視図である。
頸部エアバッグが膨張した状態のマッサージ器の断面図である。
第3実施形態のマッサージ器の斜視図である。
【発明を実施するための形態】
【0009】
以下、本発明の実施の一形態が図面に基づき詳細に説明される。
以下に説明される本発明の異なる実施形態において発明された技術的特徴は、矛盾を構成しない限り、互いに組み合わせることができる。本実施形態に基づき当業者が創作的な労力を要しない前提の下で得られる他のすべての実施形態は、本発明の保護範囲に属する。
【0010】
本明細書で用いられるすべての用語(技術用語及び科学用語を含む)は、本発明が属する分野の一般的な技術者が通常理解する意味と同じ意味を有し、本発明を制限するものではない。また、本明細書で用いられる用語は、本明細書の文脈及び関連分野におけるこれらの用語の意味と一致する意味であると理解されるべきであり、本明細書において明示的に定義されない限り、理想化された、又は過度に形式的な意味で理解されるべきものではない。
(【0011】以降は省略されています)
この特許をJ-PlatPat(特許庁公式サイト)で参照する
関連特許
株式会社アテックス
マッサージ器
1か月前
株式会社アテックス
マッサージ器
4日前
株式会社アテックス
芝草の刈取装置
3日前
個人
貼付剤
28日前
個人
簡易担架
10日前
個人
短下肢装具
4か月前
個人
足踏み器具
17日前
個人
腋臭防止剤
10日前
個人
洗井間専家。
8か月前
個人
排尿補助器具
1か月前
個人
白内障治療法
8か月前
個人
前腕誘導装置
4か月前
個人
嚥下鍛錬装置
4か月前
個人
ウォート指圧法
1か月前
個人
腰ベルト
1か月前
個人
ホバーアイロン
7か月前
個人
矯正椅子
5か月前
個人
バッグ式オムツ
5か月前
個人
胸骨圧迫補助具
2か月前
個人
歯の修復用材料
5か月前
個人
アイマスク装置
2か月前
個人
汚れ防止シート
1か月前
個人
湿布連続貼り機。
3か月前
個人
美容セット
19日前
個人
シャンプー
7か月前
個人
哺乳瓶冷まし容器
4か月前
個人
陣痛緩和具
4か月前
個人
歯の保護用シール
5か月前
三生医薬株式会社
錠剤
8か月前
個人
排尿排便補助器具
12日前
個人
車椅子持ち上げ器
8か月前
個人
エア誘導コルセット
2か月前
個人
服薬支援装置
8か月前
個人
性行為補助具
3か月前
株式会社コーセー
化粧料
1か月前
株式会社八光
剥離吸引管
5か月前
続きを見る
他の特許を見る