TOP
|
特許
|
意匠
|
商標
特許ウォッチ
Twitter
他の特許を見る
10個以上の画像は省略されています。
公開番号
2025171980
公報種別
公開特許公報(A)
公開日
2025-11-20
出願番号
2025068714,2024077408
出願日
2025-04-18,2024-05-10
発明の名称
通信制御装置、通信制御方法および通信制御プログラム
出願人
NECプラットフォームズ株式会社
代理人
個人
,
個人
主分類
H04W
16/14 20090101AFI20251113BHJP(電気通信技術)
要約
【課題】他の用途の信号が受信される可能性がある通信周波数帯域における通信の切断期間を短くする。
【解決手段】本開示にかかる通信制御装置は、第1~第3の送受信装置に、第1の通信チャネルにおける通信装置との間のMIMOによるデータ通信を行わせ、第1または第2の送受信装置に第1の通信チャネル以外の電波信号の監視を行わせ、第3の送受信装置に、第1の通信チャネル以外の他の電波信号の監視を行わせ、第1の通信チャネルにおいて他の電波信号が受信され、第2の通信チャネルにおいて他の電波信号が受信されなかったときに、第1の通信チャネルにおけるデータ通信を、第2の通信チャネルにおける通信装置と、第1~第3の送受信装置との間のMIMOによるデータ通信に移行させ、第1および第2の通信チャネルと異なる第3の通信チャネルにおける他の電波信号の受信の監視を第3の送受信装置に行わせる。
【選択図】図3
特許請求の範囲
【請求項1】
1以上のプロセッサを備える通信制御装置であって、
前記1以上のプロセッサは、
第1の送受信装置と、前記第1の送受信装置と異なる第2の送受信装置と、前記第1の送受信装置および前記第2の送受信装置と異なる第3の送受信装置とに、MIMOを利用して、異なるデータストリームの第1の通信チャネルにおける通信装置との間の1つのデータ通信を行わせ、
少なくとも前記第1の送受信装置および前記第2の送受信装置のいずれかに、前記第1の通信チャネルにおけるデータ通信に用いられる電波信号以外の他の電波信号の受信の監視を行わせ、
前記第3の送受信装置に、前記第1の通信チャネルと異なる第2の通信チャネルにおける前記他の電波信号の受信の監視を行わせ、
前記第1の通信チャネルにおいて前記他の電波信号が受信されたときであって、前記第2の通信チャネルにおいて前記他の電波信号が受信されたとき以外に、前記第1の通信チャネルにおけるデータ通信を、前記第2の通信チャネルにおける前記通信装置と、前記第1の送受信装置、前記第2の送受信装置および前記第3の送受信装置との間のMIMOを利用したデータ通信に移行させ、
前記第1の通信チャネルおよび前記第2の通信チャネルと異なる第3の通信チャネルにおける前記他の電波信号の受信の監視を、前記第3の送受信装置に行わせる
ように構成される通信制御装置。
続きを表示(約 1,600 文字)
【請求項2】
少なくとも前記第1の送受信装置、前記第2の送受信装置および前記第3の送受信装置のいずれかは、CACによる監視から一定時間後に、前記他の電波信号の受信の監視をISMにより行う
請求項1に記載の通信制御装置。
【請求項3】
前記第3の送受信装置による前記CACによる監視の間は、前記第1の送受信装置および前記第2の送受信装置がMIMO以外によりデータ通信を行い、
少なくとも前記第1の送受信装置、前記第2の送受信装置および前記第3の送受信装置のいずれかによる前記ISMによる監視の間は、前記第1の送受信装置、前記第2の送受信装置および前記第2の送受信装置がMIMOを利用したデータ通信を行う
請求項2に記載の通信制御装置。
【請求項4】
第1の送受信装置と、前記第1の送受信装置と異なる第2の送受信装置と、前記第1の送受信装置および前記第2の送受信装置と異なる第3の送受信装置とに、MIMOを利用して、異なるデータストリームの第1の通信チャネルにおける通信装置との間の1つのデータ通信を行わせるステップと、
少なくとも前記第1の送受信装置および前記第2の送受信装置のいずれかに、前記第1の通信チャネルにおけるデータ通信に用いられる電波信号以外の他の電波信号の受信の監視を行わせるステップと、
前記第3の送受信装置に、前記第1の通信チャネルと異なる第2の通信チャネルにおける前記他の電波信号の受信の監視を行わせるステップと、
前記第1の通信チャネルにおいて前記他の電波信号が受信されたときであって、前記第2の通信チャネルにおいて前記他の電波信号が受信されたとき以外に、前記第1の通信チャネルにおけるデータ通信を、前記第2の通信チャネルにおける前記通信装置と、前記第1の送受信装置、前記第2の送受信装置および前記第3の送受信装置との間のMIMOを利用したデータ通信に移行させるステップと、
前記第1の通信チャネルおよび前記第2の通信チャネルと異なる第3の通信チャネルにおける前記他の電波信号の受信の監視を、前記第3の送受信装置に行わせるステップと
を含む通信制御方法。
【請求項5】
1以上のプロセッサを備える通信制御装置において実行される通信制御プログラムであって、
前記1以上のプロセッサに、
第1の送受信装置と、前記第1の送受信装置と異なる第2の送受信装置と、前記第1の送受信装置および前記第2の送受信装置と異なる第3の送受信装置とに、MIMOを利用して、異なるデータストリームの第1の通信チャネルにおける通信装置との間の1つのデータ通信を行わせるプロセスと、
少なくとも前記第1の送受信装置および前記第2の送受信装置のいずれかに、前記第1の通信チャネルにおけるデータ通信に用いられる電波信号以外の他の電波信号の受信の監視を行わせるプロセスと、
前記第3の送受信装置に、前記第1の通信チャネルと異なる第2の通信チャネルにおける前記他の電波信号の受信の監視を行わせるプロセスと、
前記第1の通信チャネルにおいて前記他の電波信号が受信されたときであって、前記第2の通信チャネルにおいて前記他の電波信号が受信されたとき以外に、前記第1の通信チャネルにおけるデータ通信を、前記第2の通信チャネルにおける前記通信装置と、前記第1の送受信装置、前記第2の送受信装置および前記第3の送受信装置との間のMIMOを利用したデータ通信に移行させるプロセスと、
前記第1の通信チャネルおよび前記第2の通信チャネルと異なる第3の通信チャネルにおける前記他の電波信号の受信の監視を、前記第3の送受信装置に行わせるプロセスと
を実行させる通信制御プログラム。
発明の詳細な説明
【技術分野】
【0001】
本発明は、通信制御装置、通信制御方法および通信制御プログラムに関する。
続きを表示(約 3,200 文字)
【背景技術】
【0002】
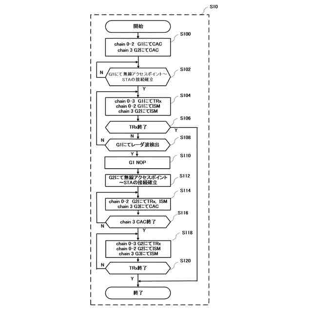
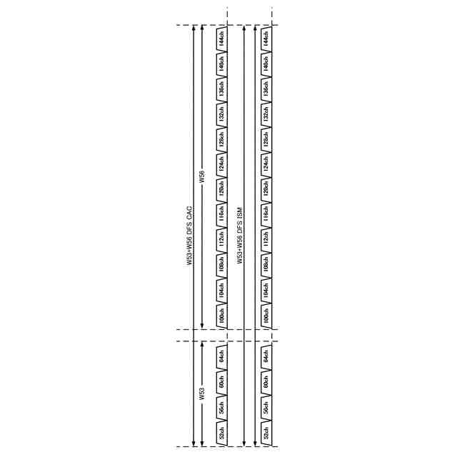
現在、IEEE(Institute of Electrical and Electronics Engineers)802.11規格準拠のWi-Fi(Wireless Fidelity)通信によりデータを通信する通信機器およびコンピュータなどが広く用いられている。Wi-Fi通信において用いられるデータ通信用の電波信号のうち、5GHzのW53バンドおよびW56バンドに含まれる通信チャネル(52ch~64ch,100ch~144ch;「ch」は「チャネル」)は、データ通信用以外の他の電波信号としてレーダー等の特定優先電波の影響を受ける可能性がある。従って、このような通信周波数帯域を使用するデータ通信のためには、動的周波数選択(DFS;Dynamic Frequency Selection)の機能を有することが義務づけられ、様々な規則が設けられている。
【0003】
この規則はNOP(Non-Occupancy Period)、CAC(Channel Availability Check)、ISM(In-Service Monitoring)およびCMT(Channel Move Time)などの事項を含む。NOPは、レーダ信号が受信された通信チャネルの使用を30分以上、禁止することである。CACは、通信チャネルを用いたデータ通信を開始する前にレーダ信号がないことを60秒以上、確認することである。ISMは、通信チャネルにおけるデータ通信中に常にレーダ信号が受信されるかを監視することである。例えば、特許文献1は、5GHzのW52バンドに含まれる通信チャネルにおけるデータ通信を、W53バンドおよびW56バンドに含まれる通信チャネルにおけるデータ通信に切り替える方法を開示する。
【先行技術文献】
【特許文献】
【0004】
特願2022-159672号公報
【発明の概要】
【発明が解決しようとする課題】
【0005】
なお、上記先行技術文献の各開示は、引用によりこの書類に組み込まれる。以下の分析は、本発明者らによってなされた。
【0006】
例えば、5GHzのW53バンドおよびW56バンドの通信チャネルにおいてデータ通信およびISMを行っているときに、使用中の通信チャネルにおいて、データ通信用の電波信号以外のレーダ信号が電波信号として受信されてしまうことがある。このようなときであっても、素早くデータ通信に用いられる通信チャネルを変更し、データ通信が接続される期間を短くしたいという要望がある。
【0007】
本発明の目的は、上記課題に鑑み、他の用途の信号が受信される可能性がある通信周波数帯域におけるデータ通信を行っているときに、データ通信が切断される期間を短くすることに寄与することである。
【課題を解決するための手段】
【0008】
本発明の第1の視点では、1以上のプロセッサを備える通信制御装置であって、前記1以上のプロセッサは、第1の送受信装置と、前記第1の送受信装置と異なる第2の送受信装置と、前記第1の送受信装置および前記第2の送受信装置と異なる第3の送受信装置とに、MIMOを利用して、異なるデータストリームの第1の通信チャネルにおける通信装置との間の1つのデータ通信を行わせ、少なくとも前記第1の送受信装置および前記第2の送受信装置のいずれかに、前記第1の通信チャネルにおけるデータ通信に用いられる電波信号以外の他の電波信号の受信の監視を行わせ、前記第3の送受信装置に、前記第1の通信チャネルと異なる第2の通信チャネルにおける前記他の電波信号の受信の監視を行わせ、前記第1の通信チャネルにおいて前記他の電波信号が受信されたときであって、前記第2の通信チャネルにおいて前記他の電波信号が受信されたとき以外に、前記第1の通信チャネルにおけるデータ通信を、前記第2の通信チャネルにおける前記通信装置と、前記第1の送受信装置、前記第2の送受信装置および前記第3の送受信装置との間のMIMOを利用したデータ通信に移行させ、前記第1の通信チャネルおよび前記第2の通信チャネルと異なる第3の通信チャネルにおける前記他の電波信号の受信の監視を、前記第3の送受信装置に行わせるように構成される通信制御装置が提供される。
【0009】
本発明の第2の視点では、第1の送受信装置と、前記第1の送受信装置と異なる第2の送受信装置と、前記第1の送受信装置および前記第2の送受信装置と異なる第3の送受信装置とに、MIMOを利用して、異なるデータストリームの第1の通信チャネルにおける通信装置との間の1つのデータ通信を行わせるステップと、少なくとも前記第1の送受信装置および前記第2の送受信装置のいずれかに、前記第1の通信チャネルにおけるデータ通信に用いられる電波信号以外の他の電波信号の受信の監視を行わせるステップと、前記第3の送受信装置に、前記第1の通信チャネルと異なる第2の通信チャネルにおける前記他の電波信号の受信の監視を行わせるステップと、前記第1の通信チャネルにおいて前記他の電波信号が受信されたときであって、前記第2の通信チャネルにおいて前記他の電波信号が受信されたとき以外に、前記第1の通信チャネルにおけるデータ通信を、前記第2の通信チャネルにおける前記通信装置と、前記第1の送受信装置、前記第2の送受信装置および前記第3の送受信装置との間のMIMOを利用したデータ通信に移行させるステップと、前記第1の通信チャネルおよび前記第2の通信チャネルと異なる第3の通信チャネルにおける前記他の電波信号の受信の監視を、前記第3の送受信装置に行わせるステップとを含む通信制御方法が提供される。
【0010】
本発明の第3の視点では、1以上のプロセッサを備える通信制御装置において実行される通信制御プログラムであって、前記1以上のプロセッサに、第1の送受信装置と、前記第1の送受信装置と異なる第2の送受信装置と、前記第1の送受信装置および前記第2の送受信装置と異なる第3の送受信装置とに、MIMOを利用して、異なるデータストリームの第1の通信チャネルにおける通信装置との間の1つのデータ通信を行わせるプロセスと、少なくとも前記第1の送受信装置および前記第2の送受信装置のいずれかに、前記第1の通信チャネルにおけるデータ通信に用いられる電波信号以外の他の電波信号の受信の監視を行わせるプロセスと、前記第3の送受信装置に、前記第1の通信チャネルと異なる第2の通信チャネルにおける前記他の電波信号の受信の監視を行わせるプロセスと、前記第1の通信チャネルにおいて前記他の電波信号が受信されたときであって、前記第2の通信チャネルにおいて前記他の電波信号が受信されたとき以外に、前記第1の通信チャネルにおけるデータ通信を、前記第2の通信チャネルにおける前記通信装置と、前記第1の送受信装置、前記第2の送受信装置および前記第3の送受信装置との間のMIMOを利用したデータ通信に移行させるプロセスと、前記第1の通信チャネルおよび前記第2の通信チャネルと異なる第3の通信チャネルにおける前記他の電波信号の受信の監視を、前記第3の送受信装置に行わせるプロセスとを実行させる通信制御プログラムが提供される。
なお、このプログラムは、コンピュータが読み取り可能な記憶媒体に記録することができる。記憶媒体は、半導体メモリ、ハードディスク、磁気記録媒体、光記録媒体等の非トランジトリ(non-transitory)でありうる。本発明は、コンピュータプログラム製品として具現されうる。
【発明の効果】
(【0011】以降は省略されています)
この特許をJ-PlatPat(特許庁公式サイト)で参照する
関連特許
個人
イヤーピース
17日前
個人
イヤーマフ
1か月前
個人
監視カメラシステム
1か月前
キーコム株式会社
光伝送線路
1か月前
個人
スイッチシステム
25日前
サクサ株式会社
中継装置
1か月前
サクサ株式会社
中継装置
1か月前
WHISMR合同会社
収音装置
2か月前
個人
スキャン式車載用撮像装置
1か月前
アイホン株式会社
電気機器
2か月前
キヤノン株式会社
撮像装置
2か月前
キヤノン電子株式会社
画像読取装置
2か月前
個人
ワイヤレスイヤホン対応耳掛け
2か月前
株式会社リコー
画像形成装置
2か月前
株式会社リコー
画像形成装置
1か月前
サクサ株式会社
無線通信装置
1か月前
キヤノン電子株式会社
画像読取装置
17日前
個人
映像表示装置、及びARグラス
26日前
キヤノン電子株式会社
画像読取装置
25日前
サクサ株式会社
無線システム
1か月前
キヤノン電子株式会社
画像読取装置
1か月前
株式会社リコー
画像形成装置
2か月前
サクサ株式会社
無線通信装置
1か月前
ヤマハ株式会社
放音制御装置
25日前
個人
発信機及び発信方法
1か月前
キヤノン株式会社
情報処理装置
4日前
キヤノン電子株式会社
シート搬送装置
17日前
キヤノン株式会社
画像処理装置
20日前
日本電気株式会社
海底分岐装置
1か月前
キヤノン株式会社
撮像システム
2か月前
シャープ株式会社
表示装置
17日前
株式会社NTTドコモ
端末
1か月前
沖電気工業株式会社
画像形成装置
1か月前
国立大学法人電気通信大学
小型光学装置
3か月前
有限会社フィデリックス
マイクロフォン
1か月前
大日本印刷株式会社
写真撮影装置
2か月前
続きを見る
他の特許を見る