TOP
|
特許
|
意匠
|
商標
特許ウォッチ
Twitter
他の特許を見る
公開番号
2025171920
公報種別
公開特許公報(A)
公開日
2025-11-20
出願番号
2024190002
出願日
2024-10-29
発明の名称
自動車ドア開放予告警告装置
出願人
宏裕汽車股ふん有限公司
代理人
TRY国際弁理士法人
主分類
B60Q
1/50 20060101AFI20251113BHJP(車両一般)
要約
【課題】自動車のドアが開かれる前に、自動車の周囲にいる人及び車両に対して事前に警告を行う、自動車ドア開放予告警告装置を提供する。
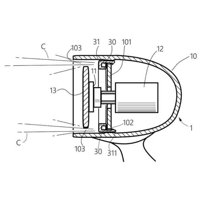
【解決手段】自動車ドア開放予告警告装置は、警告モジュール及び検出モジュール4を備える。警告モジュールは、自動車外部のドアミラー1上に設け、ドアミラー上に設けた発光部材と、発光部材と電気的に接続した信号受信素子とを有する。検出モジュールは、ドアオープン部材21が取り付けられたドアパネル凹槽2内に設け、制御回路基板40と、制御回路基板と電気的に接続した感知素子41及び信号発射素子43とを有する。使用者の指が感知範囲内に進入したことを感知素子が感知すると、信号発射素子が起動信号を信号受信素子に送信し、信号受信素子が起動信号を受信すると、発光部材が直ちに警告閃光を発する。発光部材は、ドアミラーのミラーボディ10内に設けた環状ライトである。
【選択図】図3
特許請求の範囲
【請求項1】
警告モジュール及び検出モジュールを備えた、自動車ドア開放予告警告装置であって、
前記警告モジュールは、自動車外部のドアミラー上に設け、前記ドアミラー上に設けた発光部材と、前記発光部材と電気的に接続した信号受信素子とを有し、
前記検出モジュールは、ドアオープン部材が取り付けられたドアパネル凹槽内に設け、制御回路基板と、前記制御回路基板と電気的に接続した感知素子及び信号発射素子とを有し、
使用者の指が感知範囲内に進入したことを前記感知素子が感知すると、前記信号発射素子が起動信号を前記信号受信素子に送信し、前記信号受信素子が起動信号を受信すると、前記発光部材が直ちに警告閃光を発することを特徴とする、自動車ドア開放予告警告装置。
続きを表示(約 780 文字)
【請求項2】
前記発光部材は、前記ドアミラーのミラーボディ内に設けた環状ライトであることを特徴とする請求項1に記載の自動車ドア開放予告警告装置。
【請求項3】
前記警告モジュールは、前記発光部材を搭載するとともに、前記ミラーボディ内に固定する発光部材固定ベースを含むことを特徴とする請求項2に記載の自動車ドア開放予告警告装置。
【請求項4】
前記発光部材固定ベースは、前記ミラーボディ内に係合する複数の係合部材を有することを特徴とする請求項3に記載の自動車ドア開放予告警告装置。
【請求項5】
前記発光部材は、前記ドアミラーのミラーボディの外部に設けた環状ライトであることを特徴とする請求項1に記載の自動車ドア開放予告警告装置。
【請求項6】
前記発光部材は、前記ミラーボディの開口縁部に設けることを特徴とする請求項5に記載の自動車ドア開放予告警告装置。
【請求項7】
前記発光部材は、前記ドアミラーのミラーボディの外部に設けた1つ又は複数の警告灯であることを特徴とする請求項1に記載の自動車ドア開放予告警告装置。
【請求項8】
前記信号発射素子は、有線方式又は無線方式により起動信号を前記信号受信素子に送信することを特徴とする請求項1に記載の自動車ドア開放予告警告装置。
【請求項9】
前記ドアオープン部材は、ドアハンドル又はドア開放ボタンであることを特徴とする請求項1に記載の自動車ドア開放予告警告装置。
【請求項10】
前記ドアパネル凹槽内には、前記検出モジュールを設置する収容空間を画成する槽底分離プレートを設けることを特徴とする請求項1に記載の自動車ドア開放予告警告装置。
(【請求項11】以降は省略されています)
発明の詳細な説明
【技術分野】
【0001】
本発明は、自動車ドア開放予告警告装置の技術分野に関し、特に、車内に座っている運転手又は乗客が手を伸ばしてドアを開こうとするときに、ドアミラーから閃光を発して警告する自動車ドア開放予告警告装置に関する。
続きを表示(約 1,200 文字)
【背景技術】
【0002】
従来、混んでいる道などで自動車から降りるためにドアを開く際、衝突事故が発生し易かった。例えば、歩行者又は自転車、オートバイ、自動車などの運転手は、道端に駐停車している自動車のドアがいつ開くか予測することは困難であり、自動車のドアが突然開くと、後方から来た人又は車両は反応できずに衝突し、怪我をするなど被害を受けることがあり、後方から来た人又は車両の速度が速いほど、人又は車両に与える損害は大きくなっていた。
【0003】
従来の自動車は、ドアが開く際、車外の人又は車両に警告信号を全く発しなかったため、歩行者又は走行車両は、道端に駐停車しているどの自動車のドアが突然開くか否かを予測することは困難であり、衝突の危険性があった。そのため、本発明者はこの問題に鑑み、自動車のドアを外側に開く際、車外の人又は車両に対して予め警告し、減速するか回避するように促す技術を発明した。
【発明の概要】
【発明が解決しようとする課題】
【0004】
本発明の目的は、自動車のドアが開かれる前に、自動車の周囲にいる人及び車両に対して事前に警告を行う、自動車ドア開放予告警告装置を提供することにある。
【課題を解決するための手段】
【0005】
上記課題を解決するために、本発明の第1の形態によれば、警告モジュール及び検出モジュールを備えた、自動車ドア開放予告警告装置であって、前記警告モジュールは、自動車外部のドアミラー上に設け、前記ドアミラー上に設けた発光部材と、前記発光部材と電気的に接続した信号受信素子とを有し、前記検出モジュールは、ドアオープン部材が取り付けられたドアパネル凹槽内に設け、制御回路基板と、前記制御回路基板と電気的に接続した感知素子及び信号発射素子とを有し、使用者の指が感知範囲内に進入したことを前記感知素子が感知すると、前記信号発射素子が起動信号を前記信号受信素子に送信し、前記信号受信素子が起動信号を受信すると、前記発光部材が直ちに警告閃光を発することを特徴とする、自動車ドア開放予告警告装置が提供される。
【0006】
前記発光部材は、前記ドアミラーのミラーボディ内に設けた環状ライトであることが好ましい。
【0007】
前記警告モジュールは、前記発光部材を搭載するとともに、前記ミラーボディ内に固定する発光部材固定ベースを含むことが好ましい。
【0008】
前記発光部材固定ベースは、前記ミラーボディ内に係合する複数の係合部材を有することが好ましい。
【0009】
前記発光部材は、前記ドアミラーのミラーボディの外部に設けた環状ライトであることが好ましい。
【0010】
前記発光部材は、前記ミラーボディの開口縁部に設けることが好ましい。
(【0011】以降は省略されています)
この特許をJ-PlatPat(特許庁公式サイト)で参照する
関連特許
宏裕汽車股ふん有限公司
自動車ドア開放予告警告装置
2日前
個人
タイヤレバー
3か月前
個人
前輪キャスター
2か月前
個人
上部一体型自動車
1か月前
個人
空間形成装置
23日前
個人
ホイルのボルト締結
4か月前
個人
タイヤ脱落防止構造
2か月前
個人
ルーフ付きトライク
3か月前
日本精機株式会社
表示装置
3か月前
日本精機株式会社
表示装置
3か月前
日本精機株式会社
表示装置
3か月前
個人
マスタシリンダ
1か月前
日本精機株式会社
表示装置
3か月前
個人
車両通過構造物
3か月前
日本精機株式会社
照明装置
18日前
個人
常設収納型サンバイザー
29日前
個人
乗合路線バスの客室装置
4か月前
個人
車両用スリップ防止装置
5か月前
個人
アクセルのソフトウェア
4か月前
日本精機株式会社
車載表示装置
1か月前
株式会社ニフコ
収納装置
2か月前
日本精機株式会社
車室演出装置
2か月前
株式会社ニフコ
保持装置
4か月前
個人
車載小物入れ兼雨傘収納具
4か月前
株式会社ニフコ
照明装置
3か月前
個人
円湾曲ホイール及び球体輪
4か月前
日本精機株式会社
車載表示装置
26日前
個人
音声ガイド、音声サービス
4か月前
日本精機株式会社
車載表示装置
4か月前
株式会社豊田自動織機
産業車両
3か月前
日本精機株式会社
車載表示装置
24日前
日本精機株式会社
画像投映装置
1か月前
日本精機株式会社
車載表示装置
2か月前
個人
回転窓ワイパー装置
23日前
株式会社豊田自動織機
産業車両
18日前
日本精機株式会社
車両用投影装置
2か月前
続きを見る
他の特許を見る