TOP
|
特許
|
意匠
|
商標
特許ウォッチ
Twitter
他の特許を見る
10個以上の画像は省略されています。
公開番号
2025171095
公報種別
公開特許公報(A)
公開日
2025-11-20
出願番号
2024076090
出願日
2024-05-08
発明の名称
情報処理装置、制御方法、及びプログラム
出願人
キヤノン株式会社
代理人
弁理士法人大塚国際特許事務所
主分類
G06F
3/04817 20220101AFI20251113BHJP(計算;計数)
要約
【課題】本発明は、例えば、パッケージング化された複数のアプリケーションをインストールする際に、所定画面においてインストールしたアプリケーションを好適に配置する仕組みを提供する。
【解決手段】本情報処理装置は、利用可能なサービスに対応するアプリケーション群をサーバから取得し、取得したアプリケーション群に複数のアプリケーションを含むパッケージが含まれるか否かを判断する。また、本情報処理装置は、判断の結果に従って、アプリケーション群にパッケージが含まれる場合、パッケージごとに複数のアプリケーションにそれぞれ対応する操作アイコンをまとめて配置した操作画面を生成する。
【選択図】 図10
特許請求の範囲
【請求項1】
情報処理装置であって、
利用可能なサービスに対応するアプリケーション群をサーバから取得する取得手段と、
前記取得手段によって取得したアプリケーション群に複数のアプリケーションを含むパッケージが含まれるか否かを判断する判断手段と、
前記判断手段による判断の結果に従って、前記アプリケーション群に前記パッケージが含まれる場合、パッケージごとに複数のアプリケーションにそれぞれ対応する操作アイコンをまとめて配置した操作画面を生成する生成手段と
を備えることを特徴とする情報処理装置。
続きを表示(約 970 文字)
【請求項2】
前記生成手段は、パッケージごとに異なる画面を生成して対応する操作アイコンを配置することを特徴とする請求項1に記載の情報処理装置。
【請求項3】
前記アプリケーション群のうちパッケージについてはパッケージごとにインストールし、パッケージ専用の設定を各アプリケーションに反映する制御手段をさらに備えることを特徴とする請求項2に記載の情報処理装置。
【請求項4】
前記パッケージごとの異なる画面には、該パッケージを識別する情報が表示されることを特徴とする請求項2に記載の情報処理装置。
【請求項5】
前記パッケージごとの異なる画面には、該パッケージを識別する背景色で表示されることを特徴とする請求項2に記載の情報処理装置。
【請求項6】
前記パッケージごとの異なる画面には、複数のパッケージ間で共通のアプリケーションが存在する場合、該共通のアプリケーションに対応する操作アイコンを配置せず、デフォルトの操作画面に共通の操作アイコンとして配置することを特徴とする請求項2に記載の情報処理装置。
【請求項7】
前記複数のパッケージ間で共通のアプリケーションのうち、パッケージごとに専用の設定が必要である場合は、前記パッケージごとに異なる画面に対応する操作アイコンが配置され、パッケージごとに専用の設定が必要でない場合は、前記パッケージごとに異なる画面に対応する操作アイコンが配置されないことを特徴とする請求項6に記載の情報処理装置。
【請求項8】
前記異なる画面に配置可能な操作アイコンの数より、パッケージに含まれる複数のアプリケーションに対応する操作アイコンの数が多い場合は、追加の画面を生成して操作アイコンを配置することを特徴とする請求項2に記載の情報処理装置。
【請求項9】
前記異なる画面に配置された操作アイコンは、他の画面への移動が制限されることを特徴とする請求項2に記載の情報処理装置。
【請求項10】
前記異なる画面に配置された操作アイコンは、他の画面への移動する際に複製が生成され、該異なる画面に維持されることを特徴とする請求項2に記載の情報処理装置。
(【請求項11】以降は省略されています)
発明の詳細な説明
【技術分野】
【0001】
本発明は、情報処理装置、制御方法、及びプログラムに関する。
続きを表示(約 2,400 文字)
【背景技術】
【0002】
ネットワーク機能を備えた画像形成装置では、デバイス情報やユーザの使用履歴を管理サーバに送信することにより、異常解析や課金システムといった様々なサービスが展開されている。例えば、インクなどの消耗品の管理を管理サーバで行い、残量が少なくなった際に自動で配送するサービスもその一例である。また、近年はサブスクリプション契約の導入により、サービスを契約するユーザに対して、デバイス本体及び消耗品を貸し出し、初期投資やメンテナンス費が発生しない定額提供を行うサービスも広まっている。
【0003】
また画像形成装置には、機能追加用のプラットフォームを提供し、そのプラットフォームで稼働するアプリケーションプログラム(以下、単にアプリケーションと称する。)のインストールにより、新規機能の追加を行えるものがある。特許文献1には、インストールされたアプリケーションのアイコンを標準アプリのアイコン配置情報から判定してアプリ一覧画面に配置する技術が提案されている。
【先行技術文献】
【特許文献】
【0004】
特開2012―27662号公報
【発明の概要】
【発明が解決しようとする課題】
【0005】
しかしながら、上記従来技術には以下の課題がある。パッケージング化されたアプリ群をインストールした場合、上記従来技術では、それらのアプリはアプリ一覧画面において標準アプリが配置されていない場所に配置され、場合によっては配置される位置が分散する虞もある。例えばパッケージング化されたアプリ群をそのままインストールすると、インストール前のアプリ一覧画面のアイコンの配置にそのまま連続してインストールされたアプリ群のアイコンが配置される。このようなアイコンの配置ではパッケージングに含まれるアプリの組み合わせを判別することは難しい。またパッケージングごとに配置される共通のアプリが、共通のものとしてまとめられるとアプリ起動後にパッケージングの設定を選択する必要が生じる。また、同じ名前や同じアイコンでパッケージングの設定がなされたアイコンが配置されると、ユーザはパッケージングの設定がなされたものがどちらかを確認する必要が生じる。何れのパッケージのものであるかを判別しやすいようにインストール時にアイコンの名称をパッケージングの名前にすることも可能であるが、限られた文字数でパッケージング名称の付与を行う必要があり、機能を示す文字列を含めることができない場合もあった。このような場合にはユーザはアイコンだけで機能の判別を行う必要があり煩わしいものであった。
【0006】
本発明は、上述の課題の少なくとも一つに鑑みて成されたものであり、パッケージング化された複数のアプリケーションをインストールする際に、所定画面においてインストールしたアプリケーションを好適に配置する仕組みを提供する。
【課題を解決するための手段】
【0007】
本発明は、例えば、情報処理装置であって、利用可能なサービスに対応するアプリケーション群をサーバから取得する取得手段と、前記取得手段によって取得したアプリケーション群に複数のアプリケーションを含むパッケージが含まれるか否かを判断する判断手段と、前記判断手段による判断の結果に従って、前記アプリケーション群に前記パッケージが含まれる場合、パッケージごとに複数のアプリケーションにそれぞれ対応する操作アイコンをまとめて配置した操作画面を生成する生成手段とを備えることを特徴とする。
【発明の効果】
【0008】
本発明によれば、パッケージング化された複数のアプリケーションをインストールする際に、所定画面においてインストールしたアプリケーションを好適に配置することができる。
【図面の簡単な説明】
【0009】
一実施形態に係るシステムの全体構成を示す図。
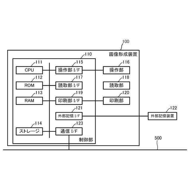
一実施形態に係る画像形成装置100のハードウェアの概略構成を示すブロック図。
一実施形態に係る画像形成装置100の操作部116を示す図。
一実施形態に係るデバイス管理サーバ200のハードウェアの概略構成を示すブロック図。
一実施形態に係るサービス管理サーバ300のハードウェアの概略構成を示すブロック図。
一実施形態に係るアプリ管理サーバ400のハードウェアの概略構成を示すブロック図。
一実施形態に係る契約形態と機能、アプリの使用可否の関連を示す表。
一実施形態に係る実施形態に係わる全体シーケンス図。
一実施形態に係るアプリパッケージインストール処理を示すフローチャート。
一実施形態に係る操作アイコン配置処理を示すフローチャート。
一実施形態に係る操作アイコン配置処理を示すフローチャート。
一実施形態に係る操作アイコン配置の例を示す図。
一実施形態に係る操作アイコン配置の例を示す図。
一実施形態に係る操作アイコン配置の例を示す図。
操作アイコンで共通のアプリを全て統合した配置の例を示す図。
一実施形態に係るアプリ単体でインストールした際のアイコン配置の例を示す図。
【発明を実施するための形態】
【0010】
以下、添付図面を参照して実施形態を詳しく説明する。なお、以下の実施形態は特許請求の範囲に係る発明を限定するものではない。実施形態には複数の特徴が記載されているが、これらの複数の特徴の全てが発明に必須のものとは限らず、また、複数の特徴は任意に組み合わせられてもよい。さらに、添付図面においては、同一若しくは同様の構成に同一の参照番号を付し、重複した説明は省略する。
(【0011】以降は省略されています)
この特許をJ-PlatPat(特許庁公式サイト)で参照する
関連特許
キヤノン株式会社
容器
28日前
キヤノン株式会社
容器
22日前
キヤノン株式会社
トナー
1か月前
キヤノン株式会社
トナー
1か月前
キヤノン株式会社
トナー
1か月前
キヤノン株式会社
トナー
1か月前
キヤノン株式会社
トナー
14日前
キヤノン株式会社
記録装置
14日前
キヤノン株式会社
記録装置
28日前
キヤノン株式会社
測距装置
16日前
キヤノン株式会社
測距装置
1か月前
キヤノン株式会社
定着装置
1か月前
キヤノン株式会社
現像容器
1か月前
キヤノン株式会社
記録装置
14日前
キヤノン株式会社
定着装置
7日前
キヤノン株式会社
定着装置
7日前
キヤノン株式会社
撮像装置
1日前
キヤノン株式会社
記録装置
7日前
キヤノン株式会社
定着装置
1日前
キヤノン株式会社
記録装置
1か月前
キヤノン株式会社
撮像装置
22日前
キヤノン株式会社
電子機器
14日前
キヤノン株式会社
定着装置
7日前
キヤノン株式会社
撮影装置
1か月前
キヤノン株式会社
現像装置
1か月前
キヤノン株式会社
撮像装置
1日前
キヤノン株式会社
電子機器
14日前
キヤノン株式会社
撮像装置
14日前
キヤノン株式会社
撮像装置
28日前
キヤノン株式会社
現像容器
1か月前
キヤノン株式会社
定着装置
1日前
キヤノン株式会社
表示装置
22日前
キヤノン株式会社
現像装置
1か月前
キヤノン株式会社
現像装置
1か月前
キヤノン株式会社
電子機器
9日前
キヤノン株式会社
撮像装置
15日前
続きを見る
他の特許を見る