TOP
|
特許
|
意匠
|
商標
特許ウォッチ
Twitter
他の特許を見る
公開番号
2025170581
公報種別
公開特許公報(A)
公開日
2025-11-19
出願番号
2024075282
出願日
2024-05-07
発明の名称
キャビテーション表面処理用ノズル、及びキャビテーション表面処理装置
出願人
株式会社スギノマシン
代理人
弁理士法人グローバル・アイピー東京
主分類
B23P
17/00 20060101AFI20251112BHJP(工作機械;他に分類されない金属加工)
要約
【課題】対象物表面に強い圧縮応力を付与でき、対象物表面の研削を促進できるキャビテーション表面処理用ノズルを提供する。
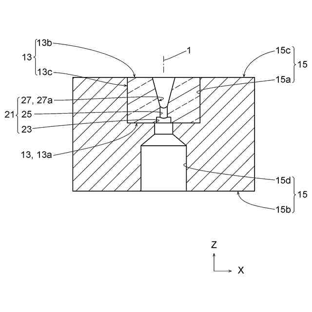
【解決手段】キャビテーション表面処理用ノズル10は、ノズルチップ13であって、液体が噴出し、噴射軸線1に垂直な第1平面13aと、噴射軸線1に垂直で、第1平面13aの反対面である第2平面13bと、ノズル孔21であって、第1平面13aに配置され、噴射軸線1に垂直な第1方向に延びる半円柱状の吐出溝23と、噴射軸線1に沿って延びて、吐出溝23に接続され、長径が第1方向に延びる楕円状の断面を有する直楕円柱状である噴出孔25と、噴射軸線1を中心軸とする直円錐面27aを有し、噴出孔25に接続される導入部27と、を有するノズル孔21と、を有するノズルチップ13を有する。
【選択図】図4
特許請求の範囲
【請求項1】
ノズルチップであって、
液体が噴出し、噴射軸線に垂直な第1平面と、
前記噴射軸線に垂直で、前記第1平面の反対面である第2平面と、
ノズル孔であって、
前記第1平面に配置され、前記噴射軸線に垂直な第1方向に延びる半円柱状の吐出溝と、
前記噴射軸線に沿って延びて、前記吐出溝に接続される噴出孔であって、長径が前記第1方向に延びる楕円状の断面を有する直楕円柱状である噴出孔と、
前記噴射軸線を中心軸とする直円錐面を有し、前記噴出孔に接続される導入部と、
を有するノズル孔と、
を有するノズルチップを有するキャビテーション表面処理用ノズル。
続きを表示(約 1,000 文字)
【請求項2】
前記ノズルチップは、前記第1平面と前記第2平面とを両端面とする柱状である、
請求項1に記載のキャビテーション表面処理用ノズル。
【請求項3】
直円筒状の支持台であって、
前記第2平面と実質的に同一平面である第1底面と、
前記第1底面に配置され、前記ノズルチップが配置され、前記ノズルチップと当接するノズルチップ室と、
前記第1底面の反対面である第2底面と、
前記第2底面から、前記噴出軸線に沿って延びて、前記ノズルチップ室に接続される噴流通過穴と、
を有する支持台を更に有する、
請求項1又は2に記載のキャビテーション表面処理用ノズル(10)。
【請求項4】
前記ノズルチップは、モース硬度が9以上である、
請求項1~3のいずれかに記載のキャビテーション表面処理用ノズル。
【請求項5】
前記支持台は、耐食合金又は高張力鋼である、
請求項1~4のいずれかに記載のキャビテーション表面処理用ノズル。
【請求項6】
前記支持台は、前記ノズルチップとは別体である、
請求項1~5の何れかに記載のキャビテーション表面処理用ノズル。
【請求項7】
前記支持台は、前記ノズルチップと一体である、
請求項1~5の何れかに記載のキャビテーション表面処理用ノズル。
【請求項8】
処理液を貯留する処理槽と、
前記処理槽内に配置され、ワークが設置されるテーブルと、
請求項1~4のいずれかに記載の前記キャビテーション表面処理用ノズルと、
前記キャビテーション表面処理用ノズルを装着可能なノズルパイプであって、前記テーブルに対して前後方向、上下方向及び左右方向に移動可能なノズルパイプと、
を有する、キャビテーション表面処理装置。
【請求項9】
前記ノズルパイプは、前記キャビテーション表面処理用ノズルが当接して、前記キャビテーション表面処理用ノズルが挿入されるノズル室を有し、
前記ノズルパイプの先端部に配置され、前記キャビテーション表面処理用ノズルを前記ノズルパイプに締結するノズルキャップを更に有する、
請求項8に記載のキャビテーション表面処理装置。
発明の詳細な説明
【技術分野】
【0001】
本発明は、キャビテーション表面処理用ノズル、及びキャビテーション表面処理装置に関する。
続きを表示(約 1,700 文字)
【背景技術】
【0002】
プレートと、中空ボディと、中空ボディに組付けられ、プレートを中空ボディに保持するキャップと、を有するノズルが知られている(US2024/0001549A1。以下、特許文献1)。
【発明の概要】
【発明が解決しようとする課題】
【0003】
特許文献1によれば、高い圧縮応力が付与されない場合や、表面研削量が小さい場合があった。
本発明は、対象物表面に強い圧縮応力を付与でき、対象物表面の研削を促進できるキャビテーション表面処理用ノズル、及びキャビテーション表面処理装置を提供することを目的とする。
【課題を解決するための手段】
【0004】
本発明の第1の観点は、
ノズルチップであって、
液体が噴出し、噴射軸線に垂直な第1平面と、
前記噴射軸線に垂直で、前記第1平面の反対面である第2平面と、
ノズル孔であって、
前記第1平面に配置され、前記噴射軸線に垂直な第1方向に延びる半円柱状の吐出溝と、
前記噴射軸線に沿って延びて、前記吐出溝に接続される噴出孔であって、長径が前記第1方向に延びる楕円状の断面を有する直楕円柱状である噴出孔と、
前記噴射軸線を中心軸とする直円錐面を有し、前記噴出孔に接続される導入部と、
を有するノズル孔と、
を有するノズルチップを有するキャビテーション表面処理用ノズルである。
【0005】
本発明の第2の観点は、
処理液を貯留する処理槽と、
前記処理槽内に配置され、ワークが設置されるテーブルと、
前記キャビテーション表面処理用ノズルと、
前記キャビテーション表面処理用ノズルを装着可能なノズルパイプであって、前記テーブルに対して前後方向、上下方向及び左右方向に移動可能なノズルパイプと、
を有する、キャビテーション表面処理である。
【0006】
ノズルチップは、例えば、宝石、人工宝石、人工宝石を主成分とする焼結体である。ノズルチップは、焼結ダイヤモンドなどの工業用グレードの多結晶材料または単結晶材料、またはモース硬度が8以上の天然材料または合成材料または結晶材料の付加製造混合物である。ノズルチップは、例えば、コランダム、ダイヤモンド、人工ダイヤモンド焼結体である。
2つの平面が実質的に同一とは、一つの平面から0.5mm以内の範囲の間に、他の平面が含まれていることをいう。
ノズルチップと支持台は、一体に形成されても良い。例えば、ノズルチップと支持台の材質は、同一であっても良い。
耐食合金は、例えば、ステンレス鋼、ニッケル鋼、ニッケルアルミナイドである。
噴射角は、5度~15度が望ましい。より望ましくは、噴射角は、7度~10度である。
【0007】
貯留槽に貯留される処理液は、例えば、防錆剤と水からなる。
貯留槽に貯留される処理液には、研磨材を懸濁されても良い。
【発明の効果】
【0008】
本発明によれば、対象物表面に強い圧縮応力を付与でき、対象物表面の研削を促進できる。
【図面の簡単な説明】
【0009】
本実施形態のキャビテーション表面処理用ノズルの斜視図
本実施形態のキャビテーション表面処理用ノズルの斜視図
図1のIII矢視図
図3のIV-IV線断面図
図3のV-V線断面図
本実施形態のキャビテーション表面処理装置
本実施形態のキャビテーション処理装置の拡大図
【発明を実施するための形態】
【0010】
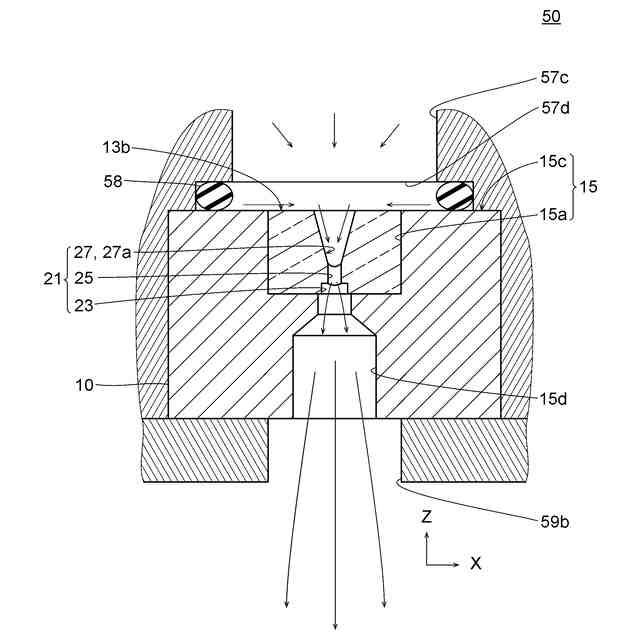
図1~5に示すように、本実施形態のノズル(キャビテーション表面処理用ノズル)10は、ノズルボディ11を有する。ノズルボディ11は、ノズルチップ13と、支持台15と、を有する。ノズル10は、噴射軸線1を有する。便宜上、第1方向をX、噴射軸線1の延びる方向をZ、XYに垂直な方向をYとする。
(【0011】以降は省略されています)
この特許をJ-PlatPat(特許庁公式サイト)で参照する
関連特許
個人
タップ
7か月前
個人
フライス盤
2か月前
個人
加工機
6か月前
麗豊実業股フン有限公司
ラクトバチルス・パラカセイNB23菌株及びそれを筋肉量の増加や抗メタボリック症候群に用いる用途
6か月前
日東精工株式会社
ねじ締め機
3か月前
株式会社北川鉄工所
回転装置
6か月前
日東精工株式会社
ねじ締め機
2か月前
日東精工株式会社
ねじ締め機
6か月前
株式会社不二越
ドリル
6か月前
日東精工株式会社
ねじ締め機
2か月前
株式会社ダイヘン
溶接電源装置
4か月前
日東精工株式会社
ねじ締め装置
2か月前
キヤノン電子株式会社
加工装置
1か月前
株式会社ダイヘン
溶接電源装置
4か月前
ダイニチ工業株式会社
配膳治具
1か月前
日東精工株式会社
ねじ締め装置
5か月前
株式会社ダイヘン
溶接電源装置
4か月前
株式会社FUJI
工作機械
5か月前
株式会社FUJI
工作機械
2か月前
株式会社FUJI
工作機械
5か月前
株式会社FUJI
工作機械
1か月前
日東精工株式会社
ねじ整列トレー
26日前
個人
切削油供給装置
3か月前
株式会社アンド
半田付け方法
6か月前
睦月電機株式会社
金属表面処理方法
1か月前
株式会社富田製作所
支持構造
1か月前
中国電力株式会社
養生シート
1か月前
株式会社アンド
半田付け方法
3か月前
キヤノン電子株式会社
加工システム
3か月前
個人
型枠製造装置のフレーム
2か月前
株式会社アンド
半田付け方法
6か月前
株式会社トヨコー
被膜除去方法
6か月前
大見工業株式会社
ドリル
4か月前
株式会社ツガミ
工作機械
3か月前
村田機械株式会社
レーザ加工機
6か月前
株式会社向洋技研
スタッドの製造方法
1か月前
続きを見る
他の特許を見る