TOP
|
特許
|
意匠
|
商標
特許ウォッチ
Twitter
他の特許を見る
10個以上の画像は省略されています。
公開番号
2025170439
公報種別
公開特許公報(A)
公開日
2025-11-18
出願番号
2025148591,2025026773
出願日
2025-09-08,2025-02-21
発明の名称
締結具
出願人
カワサキ企画株式会社
代理人
個人
,
個人
主分類
F16B
39/24 20060101AFI20251111BHJP(機械要素または単位;機械または装置の効果的機能を生じ維持するための一般的手段)
要約
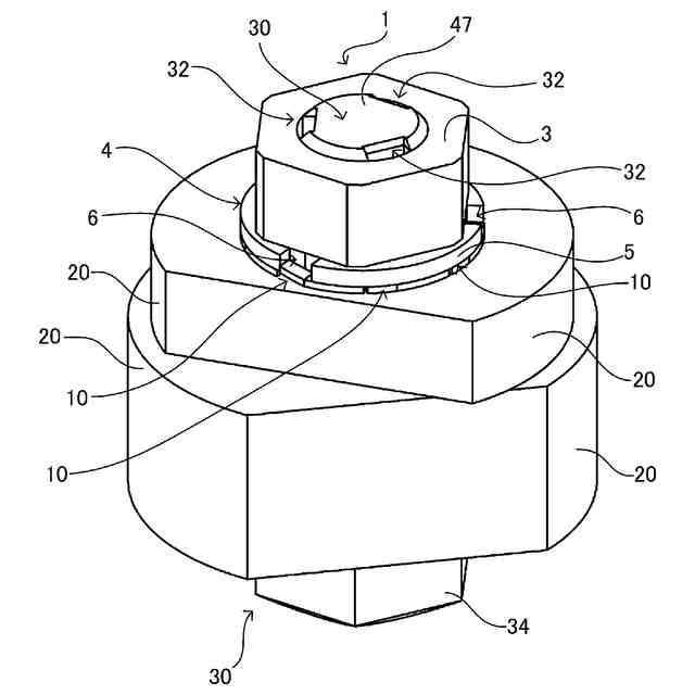
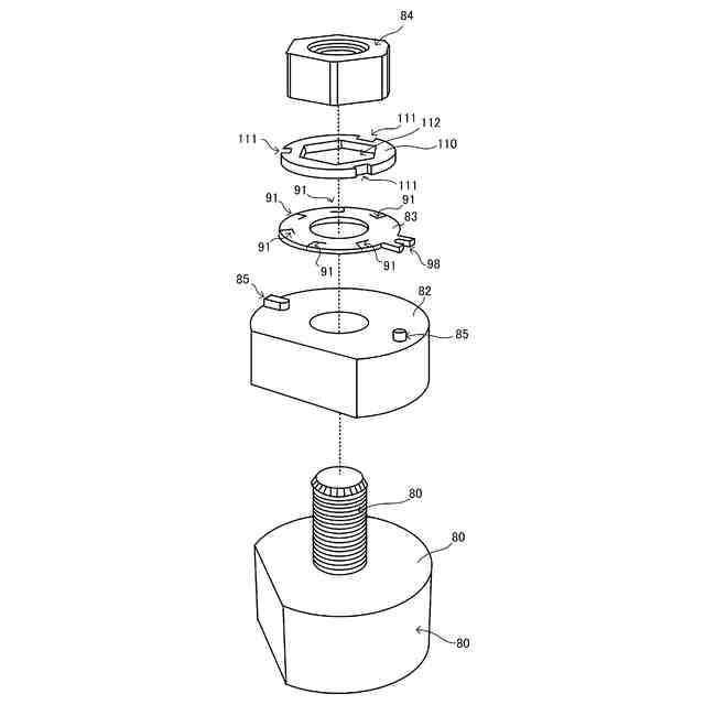
【課題】時間経過に伴う、締結の緩みを完全に抑制可能な、締結具を提供する。
【解決手段】被締結部材の締結の為の締結具であって、ボルトと、ワッシャーの環状部外端周縁部近傍に、前記ワッシャーの環状部外端周縁部より、切れ込みを設けることで形成される切込隆起部を、少なくとも一つ以上設け、また、前記ワッシャーの前記環状部外端周縁部より延出した、被締結部材と嵌合するための部材嵌合部を少なくとも一つ以上設けたワッシャーと、前記部材嵌合部に嵌合するための嵌合隆起部を、少なくとも一つ以上設けた被締結部材と、前記ワッシャーの前記切込隆起部が隆起した際嵌合するための、嵌合部を少なくとも一つ以上設けたナット鍔部と、前記ナット鍔部に接続する、或いは前記ナット鍔部と一体となるナットと、からなる、ものである。
【選択図】図16
特許請求の範囲
【請求項1】
被締結部材の締結の為の締結具であって、
ボルトと、
ワッシャーの環状部外端周縁部近傍に、前記ワッシャーの環状部外端周縁部より、切れ込みを設けることで形成される切込隆起部を、少なくとも一つ以上設け、また、前記ワッシャーの前記環状部外端周縁部より延出した、被締結部材と嵌合するための部材嵌合部を少なくとも一つ以上設けたワッシャーと、
前記部材嵌合部に嵌合するための嵌合隆起部を、少なくとも一つ以上設けた被締結部材と、
前記ワッシャーの前記切込隆起部が隆起した際嵌合するための、嵌合部を少なくとも一つ以上設けたナット鍔部と、
前記ナット鍔部に接続する、或いは前記ナット鍔部と一体となるナットと、
からなる締結具。
発明の詳細な説明
【技術分野】
【0001】
本発明は、回転しないワッシャーを介した緩まないナット機能を有する、締結具に関する。
続きを表示(約 1,200 文字)
【背景技術】
【0002】
ボルトおよびナットは、被締結部材の締結に広く用いられている締結具である。そして、ボルト及びナットに関し、被締結部材の十分な締結を図るため、より強固な締結性を持たせたり、あるいはナットレス構造でも十分な締結性を持たせたもの等、様々なボルト及びナットの改良技術が知れわたり、日々改良されている。
【0003】
そして、ボルト及びナットの改良技術の一例として、ナット本体に係止爪を設け、ボルトの案内面に係止爪の延設部が係止めされることにより、無理なく確実に緩み止め用の係止爪の作用が果たすことが可能な、ナット、及びボルトによる締結構造に関する先行技術が存在している(特許文献1)。
【0004】
また、ボルト及びナットの他の改良技術としては、波状に形成された締め付け面を有する右ネジナットと、波状に形成された締め付け面を有する左ネジナットにより、被締結部材を締結することにより、緩まない締結構造に関する技術が公知となっている(特許文献2)。
【先行技術文献】
【特許文献】
【0005】
特開2013―122289号公報
特開2023―124746号公報
【発明の概要】
【発明が解決しようとする課題】
【0006】
しかしながら、特許文献1に記載の技術では、ボルトの雄ねじに係止部材の係止爪の延設部が係合し、係止部材下部のナットがそれ以上回転することが出来ない態様となっているが、係止部材及びナットの、ボルトの回転方向への移動を完全に抑制した態様ではない。そのため、ナット及びボルトの緩み止めを完全に抑制出来ているとは言えない。可能であれば、ナットの回転方向への移動をより抑制した、緩み止めを行える態様が望ましい。
【0007】
また、特許文献1及び特許文献2に記載の技術では、ボルトに嵌合される構造である従来のナットが、自然現象等により生じる戻り回転により必ず緩むという現象を回避することは出来ない。
【0008】
また、十分な締結を目的とし、他の手法として、戻り回転による緩みを防ぐため、例えば過度なトルク加圧を行うことにより、十分な締結状態に置く等の対策が取られている場合もある。しかしながら、かかるような場合は、十分なトルク加圧を行った結果、被締結部材に大きな力が加わり、被締結部材の締結部が陥没し、その結果ナットも緩んでしまうといった問題が生じる。
【0009】
以上のように、従来のナットでは時間経過に伴い、必ずナットが緩んでいく現象が生じる。そのため、定期的な検査等により締結部の安全性の確認を日常的に行う必要がある。
【0010】
本発明は、以上の課題解決を目的とし、ボルト、ワッシャー、ナットに工夫を凝らすことにより、緩まないナット構造を提供する。
【課題を解決するための手段】
(【0011】以降は省略されています)
この特許をJ-PlatPat(特許庁公式サイト)で参照する
関連特許
個人
留め具
1か月前
個人
鍋虫ねじ
2か月前
個人
紛体用仕切弁
2か月前
個人
回転伝達機構
3か月前
個人
差動歯車用歯形
4か月前
個人
給排気装置
1か月前
個人
ジョイント
2か月前
株式会社不二工機
電磁弁
4か月前
個人
ナット
13日前
個人
地震の揺れ回避装置
3か月前
個人
ナット
2か月前
個人
吐出量監視装置
2か月前
柿沼金属精機株式会社
分岐管
3か月前
兼工業株式会社
バルブ
14日前
カヤバ株式会社
緩衝器
4か月前
カヤバ株式会社
緩衝器
4か月前
カヤバ株式会社
緩衝器
1か月前
カヤバ株式会社
ダンパ
4か月前
カヤバ株式会社
ダンパ
4か月前
株式会社不二工機
電動弁
1か月前
株式会社不二工機
電磁弁
2か月前
株式会社ニフコ
クリップ
1か月前
株式会社フジキン
ボールバルブ
5か月前
株式会社三五
ドライブシャフト
27日前
個人
固着具と固着具の固定方法
6か月前
株式会社ノーリツ
分配弁
1か月前
株式会社奥村組
制振機構
1か月前
株式会社奥村組
制振機構
1か月前
株式会社タカギ
水栓装置
3か月前
アズビル株式会社
回転弁
1か月前
株式会社ノナガセ
免震装置
28日前
個人
ワンウェイベアリング
4か月前
アイホン株式会社
電気機器
1か月前
個人
誘導電流活用式差動制限装置
1か月前
アマテイ株式会社
釘
20日前
株式会社オンダ製作所
識別リング
3か月前
続きを見る
他の特許を見る