TOP
|
特許
|
意匠
|
商標
特許ウォッチ
Twitter
他の特許を見る
10個以上の画像は省略されています。
公開番号
2025170436
公報種別
公開特許公報(A)
公開日
2025-11-18
出願番号
2025148355,2020207848
出願日
2025-09-08,2020-12-15
発明の名称
クラッチシステムとそれを含む車両変速機システム
出願人
ボーグワーナー インコーポレーテッド
代理人
個人
主分類
F16D
13/62 20060101AFI20251111BHJP(機械要素または単位;機械または装置の効果的機能を生じ維持するための一般的手段)
要約
【課題】クラッチシステムは、車両動力発生機からトルクを伝達するための第1のクラッチ部材及び第2のクラッチ部材を含む。
【解決手段】第1のクラッチ部材は、第1の表面を有する第1のクラッチ要素及び前記第1の表面に配置された第1の摩擦材料を有する。第2のクラッチ部材は、第1のクラッチプレートと係合するように構成され、かつ第2の表面を有する第2のクラッチ要素と、第2の表面に配置された第2の摩擦材料と、を含む。第1の摩擦材料は、車両動力発生機の動作中に第2の摩擦材料と係合するように構成される。
【選択図】図2A
特許請求の範囲
【請求項1】
車両動力発生機に動作可能に連結されたクラッチシステムであって、前記クラッチシステムは、
前記車両動力発生機からトルクを伝達するための第1のクラッチ部材であって、
第1の表面を有する第1のクラッチ要素、及び
前記第1の表面に配置された第1の摩擦材料、を備える第1のクラッチ部材と、
前記車両動力発生機からトルクを伝達するためにかつ前記第1のクラッチ部材と係合するように構成された第2のクラッチ部材であって、
第2の表面を有する第2のクラッチ要素、及び
前記第2の表面に配置された第2の摩擦材料、を備える第2のクラッチ部材と、を備え、
前記第1の摩擦材料及び前記第2の摩擦材料が、同じであっても異なっていてもよく、 前記第1の摩擦材料が、前記車両動力発生機の動作中に前記第2の摩擦材料と係合するように構成される、クラッチシステム。
続きを表示(約 1,300 文字)
【請求項2】
前記第1のクラッチ要素及び前記第2のクラッチ要素のうちの少なくとも1つが鋼からなる、請求項1に記載のクラッチシステム。
【請求項3】
前記第1の摩擦材料及び前記第2の摩擦材料のうちの少なくとも1つが鋼を含まない、請求項1または2に記載のクラッチシステム。
【請求項4】
前記第1の摩擦材料及び前記第2の摩擦材料のうちの少なくとも1つが紙材料からなる、請求項1~3のいずれか一項に記載のクラッチシステム。
【請求項5】
前記第1の摩擦材料及び前記第2の摩擦材料のうちの少なくとも1つが二層摩擦材料である、請求項1~4のいずれか一項に記載のクラッチシステム。
【請求項6】
前記第1のクラッチ要素が第1の円錐であり、前記第1の表面が外側円錐面であり、これにより前記第1の摩擦材料が前記外側円錐面上に配置される、請求項1~5のいずれか一項に記載のクラッチシステム。
【請求項7】
前記第2のクラッチ要素が第2の円錐であり、前記第2の表面が内側円錐面であり、これにより前記第2の摩擦材料が前記内側円錐面上に配置される、請求項6に記載のクラッチシステム。
【請求項8】
車両動力発生機に動作可能に連結された車両変速機システムであって、
前記車両動力発生機に連結された車両変速機、及び
前記車両変速機に動作可能に連結された、請求項1~7のいずれか一項に記載の前記クラッチシステム、を備える車両変速機システム。
【請求項9】
車両エンジンに動作可能に連結されたクラッチシステムであって、前記クラッチシステムは、
前記車両エンジンからトルクを伝達するための第1のクラッチプレートであって、
第1のコアプレートと、
前記第1のコアプレートの第1の側面に配置された第1の摩擦材料と、
前記第1のコアプレートの前記第1の側面の反対側の前記第1のコアプレートの第2の側面に配置された第2の摩擦材料と、を備える第1のクラッチプレート、及び
前記車両エンジンからトルクを伝達するために、かつ前記第1のクラッチプレートと係合するように構成された第2のクラッチプレートであって、
第2のコアプレートと、
前記第2のコアプレートの第1の側面に配置された第3の摩擦材料と、
前記第2のコアプレートの前記第1の側面の反対側の前記第2のコアプレートの第2の側面に配置された第4の摩擦材料と、を備える第2のクラッチプレート、を備え、
前記第1の摩擦材料、前記第2の摩擦材料、前記第3の摩擦材料、及び前記第4の摩擦材料は、同じであっても異なっていてもよく、
前記第2の摩擦材料が、前記車両エンジンの動作中に前記第3の摩擦材料と係合するように構成される、クラッチシステム。
【請求項10】
前記第1のコアプレート及び前記第2のコアプレートのうちの少なくとも1つが鋼からなる、請求項9に記載のクラッチシステム。
(【請求項11】以降は省略されています)
発明の詳細な説明
【技術分野】
【0001】
1.技術分野
続きを表示(約 2,700 文字)
【0002】
本発明は、概して、クラッチシステム、より具体的には、車両変速機システムで使用す るためのクラッチシステムに関する。
【背景技術】
【0003】
2.関連技術の説明
【0004】
車両パワートレインの幾つかの構成部品は、自動車の動力発生機(すなわち、内燃機関 、電気モーター、燃料電池など)から車両の駆動ホイールへの動力の伝達を容易にするシステムを採用し得る。車両変速機は、動力発生機から下流に配置され、車両発進、ギヤ変速及び他のトルク伝達事象を可能にする。車両変速機は、クラッチシステムに連結することができる。なんらかの形態のクラッチシステムは、車両作動のために、現在利用可能な多くの様々なタイプの車両変速機の全般を通じて見出すことができる。クラッチシステムは、ほんの数例を挙げてみただけでも、自動変速機用のトルクコンバーター、自動変速機または半自動デュアルクラッチトランスミッション(DCT)用の多板クラッチパック、及びトルクコンバーターの代替として7~10個のギヤを備えた自動変速機に組み込むことがある発進クラッチに使用することができる。類似のクラッチシステムが、車両変速機以外に、車両パワートレインの他の箇所に見られる。
【0005】
図1に最良に例示されるように、従来のクラッチシステム100は、典型的には、シャフト26に回転可能に連結された複数のクラッチプレート102を含み、複数のクラッチプレート102は、2つ以上の対向する回転面を、これらの表面間を選択的に界面摩擦係合させることにより噛み合わせるために使用される。各クラッチプレート102は、鋼からなり、かつ各クラッチプレート102がシャフト26に回転可能に連結されるようにシャフト26を受け入れるためのボアを画定するコアプレート104を含む。各クラッチプレート102は、コアプレート104の両側に配置された摩擦材料108を付加的に含み、これは、複数のクラッチプレート102間の意図された摩擦係合を実現する。
【0006】
従来のクラッチ組立体100は、図1に示されるように、図1はまた、2つの連続する 従来のクラッチプレート102の間に配置された、典型的には鋼からなる少なくとも1つのセパレータプレート110を含む。動作中、複数のクラッチプレート102は、複数のクラッチプレート102がセパレータプレート110と係合する係合位置と、複数のクラッチプレート102がセパレータプレート110から離脱される離脱位置との間を移動する。セパレータプレート110は、ヒートシンクとして機能して、2つの対向する回転面の摩擦係合によって生成されるエネルギーを吸収する。クラッチシステム100内にセパレータプレート110を有することは、クラッチシステム100の大きな軸方向空間を必要とし、また、クラッチは高い最大熱のために設計されなければならないので、ヒートシンクが常に利用されるとは限らない。他のクラッチ組立体は、鋼からなり、かつコアプレートの片側のみに配置された摩擦材料を有するコアプレートを含む。しかしながら、この配置では、第1のクラッチプレートの摩擦材料が、第2のクラッチプレートのコアプレートと係合し、その結果、潜在的な熱勾配及び追加のエネルギー問題が生じる。
【発明の概要】
【発明が解決しようとする課題】
【0007】
このように、改善されたクラッチシステムを提供する必要性が残っている。
【課題を解決するための手段】
【0008】
車両動力発生機に動作可能に連結されたクラッチシステムが開示されている。クラッチシステムは、車両動力発生機からトルクを伝達するための第1のクラッチ部材を含む。第1のクラッチ部材は、第1の表面を有する第1のクラッチ要素と、前記第1の表面に配置された第1の摩擦材料とを含む。クラッチシステムはまた、車両動力発生機からトルクを伝達するための第2のクラッチ部材を含み、前記第1のクラッチ部材と係合するように構成されている。第2のクラッチ部材は、第2の表面を有する第2のクラッチ要素と、前記第2の表面に配置された第2の摩擦材料とを含む。第1の摩擦材料及び前記第2の摩擦材料は、同じであっても異なっていてもよい。第1の摩擦材料は、車両動力発生機の動作中に前記第2の摩擦材料と係合されるように構成される。車両変速機及びクラッチシステムを含む車両変速機システムも開示されている。
【発明の効果】
【0009】
したがって、車両エンジンの動作中に第1の摩擦材料が第2の摩擦材料と係合されるように構成されていることは、クラッチシステムの軸方向長さの減少につながり、かつクラッチシステムの性能の改良に、より具体的にはさまざまな負荷にわたって剥離係数の増加にもつながる。
【図面の簡単な説明】
【0010】
本発明の他の利点は、添付の図面と関連して考えられるとき、以下の詳細な説明を参照してよりよく理解されるようになるので、容易に推察されるであろう。
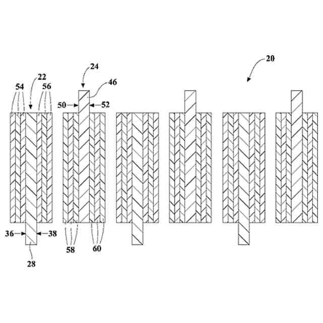
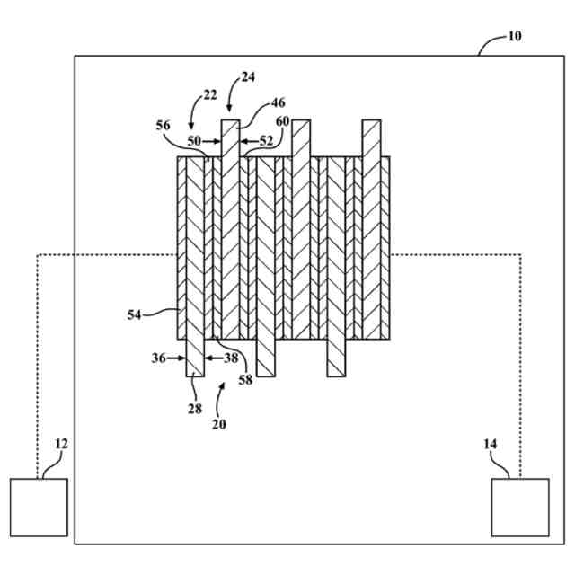
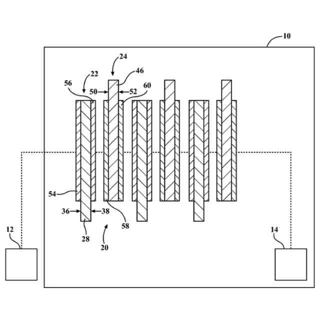
複数のクラッチプレート及びセパレータプレートを含む先行技術のクラッチシステムの簡略化した断面図である。
離脱位置においてその上に配置された単層摩擦材料を有する複数のクラッチプレートを含む、本発明による車両変速機システムの簡略化した断面図である。
係合位置においてその上に配置された単層摩擦材料を有する複数のクラッチプレートを含む、本発明による車両変速機システムの簡略断面図である。
図2に示した実施形態によるクラッチプレートのコアプレートの上面図である。
図2に示した実施形態によるクラッチプレートの上面図である。
その上に配置された二層摩擦材料を有する複数のクラッチプレートを含む、本発明によるクラッチシステムのさらに簡略化された断面図である。
その上に配置された三層摩擦材料を有する複数のクラッチプレートを含む、本発明によるクラッチシステムのさらに簡略化された断面図である。
摩擦材料負荷に関してプロットされた瞬間ピーク係数のグラフ表示である。
摩擦材料負荷に関してプロットされた剥離係数のグラフ表示である。
離脱位置における別の実施形態によるクラッチシステムの側面斜視図である。
係合位置における図9のクラッチシステムの側面斜視図である。
【発明を実施するための形態】
(【0011】以降は省略されています)
この特許をJ-PlatPat(特許庁公式サイト)で参照する
関連特許
個人
留め具
1か月前
個人
鍋虫ねじ
2か月前
個人
回転伝達機構
3か月前
個人
紛体用仕切弁
2か月前
個人
ホース保持具
7か月前
個人
差動歯車用歯形
4か月前
個人
トーションバー
7か月前
個人
給排気装置
1か月前
個人
ジョイント
2か月前
個人
地震の揺れ回避装置
3か月前
個人
ナット
2か月前
株式会社不二工機
電磁弁
6か月前
株式会社不二工機
電磁弁
4か月前
個人
ナット
15日前
個人
吐出量監視装置
2か月前
個人
ゲート弁バルブ
今日
兼工業株式会社
バルブ
16日前
カヤバ株式会社
緩衝器
1か月前
カヤバ株式会社
緩衝器
4か月前
カヤバ株式会社
緩衝器
4か月前
柿沼金属精機株式会社
分岐管
3か月前
カヤバ株式会社
ダンパ
4か月前
カヤバ株式会社
ダンパ
4か月前
株式会社不二工機
電動弁
1か月前
株式会社三五
ドライブシャフト
29日前
株式会社フジキン
ボールバルブ
5か月前
株式会社ニフコ
クリップ
今日
株式会社ノーリツ
分配弁
1か月前
株式会社不二工機
電磁弁
2か月前
株式会社奥村組
制振機構
1か月前
株式会社ニフコ
クリップ
1か月前
個人
固着具と固着具の固定方法
6か月前
株式会社奥村組
制振機構
1か月前
アズビル株式会社
回転弁
1か月前
株式会社ノーリツ
分配弁
6か月前
株式会社タカギ
水栓装置
3か月前
続きを見る
他の特許を見る