TOP
|
特許
|
意匠
|
商標
特許ウォッチ
Twitter
他の特許を見る
10個以上の画像は省略されています。
公開番号
2025169948
公報種別
公開特許公報(A)
公開日
2025-11-14
出願番号
2025130766,2023195453
出願日
2025-08-05,2019-09-18
発明の名称
ブロックチェーン対応の暗号資産社会的増幅システム
出願人
ヴァーティゴ スタジオズ,エルエルシー
,
VERTIGO STUDIOS,LLC
代理人
個人
,
個人
主分類
G06Q
30/00 20230101AFI20251107BHJP(計算;計数)
要約
【課題】社会的増幅と引き換えに暗号資産の補償を可能にするブロックチェーン対応の暗号資産社会的増幅システムを提供する。
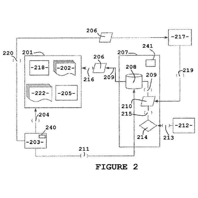
【解決手段】システムにおいて、ユーザが、クライアントデバイス203を介してスマートコントラクト201への入力を開始し、個人ユーザの人口統計学的データ218を入力することができる。クライアントデバイスは、スマートコントラクトに対応付けられたインフルエンサ増幅ID210をシステムへの要求によって生成する。ユーザ・ブロックチェーンは、トランザクション台帳222を保持し、トランザクション台帳は、ユーザコンテンツ増幅属性データ202に基づいててスマートコントラクトをトラッキングする。ユーザはトランザクション台帳を利用して個人データと引き換えに第3者のサービス/コンテンツプロバイダ212からオファーされた報酬を得ることができる。
【選択図】図2
特許請求の範囲
【請求項1】
社会的増幅と引き換えに暗号資産の補償を可能にするように構成されたコンピュータネットワーク環境内で動作可能なブロックチェーン対応の暗号資産社会的増幅システムであって、
前記ブロックチェーン対応の暗号資産社会的増幅システムは、
前記コンピュータネットワーク環境内のリモートコンピュータベースのサービスシステムであって、ユーザ・ブロックチェーンへのユーザコンテンツ増幅属性データの入力を管理するように構成され、前記ユーザコンテンツ増幅属性データが、前記ユーザが共有する選択コンテンツのリスト、前記選択コンテンツに対応付けられたキャンペーンID、および消費者インタラクションのタイプで構成されたリモートコンピュータベースのサービスシステムと、
前記ユーザが前記ユーザ・ブロックチェーンおよび前記リモートコンピュータベースのサービスシステムとインタラクトできるように構成された少なくとも1つのクライアントデバイスと、
前記少なくとも1つのクライアントデバイスを介して実装可能な非一時的なコンピュータ実装可能なアプリケーションと、を備え、
前記リモートコンピュータベースのサービスシステムは、前記ユーザが、(a)前記少なくとも1つのクライアントデバイスを介して前記ユーザ・ブロックチェーンへの入力を開始し、(b)個人ユーザの人口統計学的データを入力することができるように構成され、
前記少なくとも1つのクライアントデバイスは、前記ユーザ・ブロックチェーンに対応付けられたインフルエンサ増幅IDを前記リモートコンピュータベースのサービスシステムへの要求によって生成するように構成され、前記ユーザ・ブロックチェーンはトランザクション台帳を保持して動作可能であり、前記トランザクション台帳は、ユーザコンテンツ増幅属性データに基づいてブロックチェーントランザクションをトラッキングするように構成され、前記ユーザは前記トランザクション台帳を利用して個人データと引き換えに第3者のサービス/コンテンツプロバイダからオファーされた報酬を得ることができる
ことを特徴とする、ブロックチェーン対応の暗号資産社会的増幅システム。
続きを表示(約 1,400 文字)
【請求項2】
前記ユーザ・ブロックチェーンは、ユーザ人口統計学的データを含み、前記ユーザ人口統計学的データは、前記第3者のサービス/コンテンツプロバイダに特定の人口統計のユーザに対して増幅支払いの支払いルールを指定する能力を持たせることで、前記特定の人口統計のユーザがより多くを共有することを促進するのに使用することができ、前記ユーザ・ブロックチェーンは、前記増幅支払いルールのコピーを格納するように構成される、請求項1に記載のブロックチェーン対応の暗号資産社会的増幅システム。
【請求項3】
増幅キャンペーン・ブロックチェーンはスマートコントラクトの形式でリリースされ、適格なシェアが前記増幅キャンペーン・ブロックチェーンに通知され、前記増幅キャンペーン・ブロックチェーンは、前記スマートコントラクトの開始時に設定したルールのセットに基づいて有効な増幅イベントの支払いを登録するように構成される、請求項1に記載のブロックチェーン対応の暗号資産社会的増幅システム。
【請求項4】
前記スマートコントラクトは、前記増幅のために選択されたコンテンツへのリファレンスを含み、前記有効な増幅イベントの支払いは、前記リモートコンピュータベースのサービスシステムを介してインフルエンサ増幅IDとブロックチェーンIDの間のリンクを提供することによって登録される、請求項3に記載のブロックチェーン対応の暗号資産社会的増幅システム。
【請求項5】
前記増幅キャンペーン・ブロックチェーンは、有効化したトランザクション登録要求を前記ユーザ・ブロックチェーンに送信することによってトランザクションを複製し、前記ユーザ・ブロックチェーンは、ルールのセットによって決定されたコントラクト資本配分に基づいて資本配分を決定するように構成される、請求項4に記載のブロックチェーン対応の暗号資産社会的増幅システム。
【請求項6】
前記有効な増幅イベントの支払いは、前記トランザクション台帳への支払いトランザクションの登録に応じて請求され、前記トランザクション台帳に登録された増幅クレジット/トークンと引き換えにユーザに分配された資本を示す、請求項5に記載のブロックチェーン対応の暗号資産社会的増幅システム。
【請求項7】
前記リモートコンピュータベースのサービスシステムはルールのセットを保持し、前記ルールのセットはユーザ・ブロックチェーンに複製され、前記ルールのセットは、前記リモートコンピュータベースのサービスシステムへの登録要求によって前記第3者のサービス/コンテンツプロバイダによって登録される、請求項1に記載のブロックチェーン対応の暗号資産社会的増幅システム。
【請求項8】
前記登録要求は、キャンペーンID、増幅されたコンテンツ、および前記ルールのセットを登録し、前記リモートコンピュータベースのサービスシステムは、ブロックチェーンマッピングのユーザIDを使用して有効な増幅イベントの支払いを登録するように構成される、請求項7に記載のブロックチェーン対応の暗号資産社会的増幅システム。
【請求項9】
前記リモートコンピュータベースのサービスシステムは、前記ユーザ・ブロックチェーンから取得したユーザ人口統計学的データに基づいて前記有効な増幅イベントの支払いを計算する、請求項8に記載のブロックチェーン対応の暗号資産社会的増幅システム。
発明の詳細な説明
【関連出願】
【0001】
この国際特許出願は、2018年9月18日に米国特許商標庁に提出された係属中の米国特許出願第16/134、075号の利益または優先権を主張するものである。
続きを表示(約 4,100 文字)
【技術分野】
【0002】
本発明は、全般として、仮想または暗号資産技術に基づいた種々の形式のメディアのマルチスレッド・スマートルーティングとこれに対応するデジタル・ソーシャル・レコーダ、および報酬システムに関する。特に、本発明は、特定のブロックチェーンに対応する暗号資産システムおよびこれに対応の方法であり、広告主がどのようにして個人データにアクセスし、広告主がどのようにして最適なコンテンツ表示またはリスニングにおいて広告を配置するかをユーザが制御できるようにし、消費および社会的増幅(social amplification)と引き換えにユーザに暗号資産の補償(compensation)を行うことを可能にし、コンテンツの作成者とコンテンツ内における消費者の関心の対象であるタレントに対する暗号資産の補償を可能にし、暗号資産の割り当てのトラッキングを可能にするシステムおよび方法に関するものである。
【背景技術】
【0003】
バソーリらによる米国特許出願公開第2005/0286546号には、分散ピア間における同期メディアストリーミングが開示されている。バソーリらの公開では、同一の時間ベースのメディアをそれぞれ遅延の程度が異なる異種チャネルを介して接続された複数のデバイス上で同期して再生するための特定の方法および装置が説明されている。本発明の好ましい実施の形態は、Wi-FiまたはBluetooth通信リンクを使用して、ユーザが近隣の同様のプレーヤと音楽を共有し、同一の音楽を異なるプレーヤで同時かつ同期して再生できるようにする携帯型の音楽プレーヤである。1つのソースにチューニングされたすべてのプレーヤのユーザが同時に同じものを聞き、音楽体験を共有する感覚を得ることができる。ユーザは、プレーヤを使用してプロファイル情報やテキストメッセージを交換することもできる。
【0004】
しかし、バソーリらの公開のレビューからわかるように、この文献は、音楽を相互に共有したいユーザのグループが、個別の合法(legal)アクセスポイントまたは法を遵守した(legally compliant)コンテンツソースを介した音楽の同期消費によって音楽を共有することのできるシステムを教示または示唆するものではない。バソーリの発明の好ましい実施の形態は、「tunA」と呼ばれる携帯型の音楽プレーヤであり、そのユーザが、
近隣の
他の「tunA」ユーザと音楽を共有することを可能にするものである(下線は強調として追加)。このデバイスは、以下の特徴を有する。ユーザは、従来のポータブルMP3またはCDプレーヤを使用する場合と同じように自分の音楽を聴くことができ、さらに、他のユーザが各自のtunAデバイスで聴いているのと同じ音楽やプログラミングにチューニングして聴くこともできるため、結果として音楽体験を共有することができる(バソーリらの段落番号0026を参照)。
【0005】
オーディオストリームのタイミング/遅延アルゴリズムにより、オーディオ再生をソースプレーヤとその近隣に位置するチューニング先のプレーヤとで完全に同期させることができる。これにより、特定のユーザのデバイスにチューニングしたユーザが、他のユーザが聴いているものを正確に聴くことができる。例えば、集まりに参加している2人以上のユーザがそれぞれ自分のtunAプレーヤを持っている場合、全員が1人のプレーヤにチューニングして、全員が同一の従来のラジオブロードキャスト局を聴いているかのように、完全に同期した頭の動き、身振り、ダンスなどを示すことができる(バソーリの段落番号0027を参照)。
【0006】
バソーリの「tunA」プレーヤによって同期的に消費されるコンテンツは、好ましくは、単一のソースプレーヤ(単一の合法アクセスポイントまたは法を遵守したコンテンツソースを有するプレーヤ)から発信し、近隣でWi-Fiプロトコルまたは内蔵のBluetoothトランシーバーを使用している他のプレーヤに再分配することが好ましいことに留意されたい(バソーリの段落番号0039を参照)。好ましい実施の形態の変形例として、ソースデバイスがデバイスベースの大容量記憶装置からコンテンツをソーシングするのではなく、ブロードキャスト局からソースデバイスに到着するコンテンツ、またはインターネットベースのストリーミングサービスプロバイダを介してストリーミングされるコンテンツを再分配することができるようにすることが検討されている(バソーリの段落番号0076を参照)。ただし、後者のいずれの場合も、それぞれ独自に合法のアクセスポイントを有するブロードキャスト局またはインターネットストリーミングサービスプロバイダから発生したコンテンツのソースは、Wi-FiプロトコルまたはBluetooth送信を介して近隣のグループメンバーに配信または再分配されるものである。
【0007】
グースらによる米国特許出願公開第2008/0134258号では、ピア・ツー・ピアコミュニティの参加者のためのマルチソースかつ復元力のあるビデオ・オン・デマンド・ストリーミングシステムが開示されている。グースらの公開では、集中型のビデオ・オン・デマンド(VoD)システムでは、提供するコンテンツとアーカイブ機能が限られていることを説明している。ピア・ツー・ピアネットワークでは、ユーザは幅広いコンテンツをピア間で直接共有することができるが、ピア間の接続ではアップリンク帯域幅が制限され、信頼性が低い場合がある。本発明は、これらの問題および他の問題に対処するために、異種混合型のピア・ツー・ピアネットワーク内における1つまたは複数の法遵守のコンテンツソースからのストリーミングデータの高品質かつ回復力のある送信を行うための様々なシステムおよび方法に基づく。
【0008】
グースのサービスプロバイダVoDシステム200は、管理インフラストラクチャ210、メディアサーバ220、コンテンツライブラリ230、およびサービスプロバイダ管理ピア・ツー・ピア(p2p)ネットワーク250を備える。さらに、p2pネットワーク250は、ピアデバイス260a、260b、260c(これらはセットトップボックスとして例示され、ピアデバイス260として識別される)と、拡張コンテンツライブラリ270として識別される拡張コンテンツライブラリ270aおよび270bとを備える。拡張コンテンツライブラリ270は、ピアデバイス260に格納された、ダウンロードおよび/または記録されたコンテンツを含む。例えば、ピアデバイス260は、管理インフラストラクチャ210を介してコンテンツライブラリ230からストリーミングされたメディアをダウンロードおよび/または記録、格納することができる。p2pネットワーク250に接続した任意の加入者によって記録された拡張コンテンツでVoDシステムのコンテンツライブラリ230を拡張することで、コンテンツの選択肢を増やし、コミュニティVoDシステムを構成することができる。
【0009】
クライアントデバイス240は、サービスプロバイダVoDシステム200と通信可能に接続することができ、コンテンツライブラリ230または拡張コンテンツライブラリ270のいずれかからダウンロードまたはストリーミングされたコンテンツをビデオ・オン・デマンドサービスの一部として受信する。管理インフラストラクチャ210は、クライアントデバイス240からのダウンロードおよびストリーミングの要求を処理し、サービスプロバイダVoDネットワーク200とクライアントデバイス240の間の制御およびデータ接続を管理する。メディアサーバ220は、コンテンツライブラリ230からクライアントデバイス240へ、要求のあったメディアのオン・デマンド・ストリーミングを、管理インフラストラクチャ210を介して実行することができる。あるいは、クライアントデバイス240は、要求のあったメディアのオン・デマンド・ストリーミングを拡張コンテンツライブラリ270から要求することができる。p2pネットワーク250はこれらの要求をハンドリングしてp2pネットワーク250とクライアントデバイス240の間の制御およびデータ接続を管理し、要求のあったメディアの拡張コンテンツライブラリ270からクライアントデバイス240へのオン・デマンド・ストリーミングを実行する。
【0010】
グースのVoDシステムを要約すると、出願人は、サービスプロバイダVoDシステム200が、管理インフラストラクチャ210、メディアサーバ220、コンテンツライブラリ230、およびサービスプロバイダが管理するピア・ツー・ピア(p2p)ネットワーク250を備える点に特に留意されたい。さらに、このp2pネットワーク250は、ピアデバイス260および拡張コンテンツライブラリ270を備える。 クライアントデバイス240は、ライブラリ230またはライブラリ270のいずれかからのコンテンツを受けることができる。しかしながら、ライブラリ230および270はいずれもコンテンツ調達のための単一の合法のアクセスポイントを表すものである。言い換えれば、VoDシステム200のオペレーターは、コンテンツの配信について特定の権利を確保している。グースらは、少なくとも2つの別個の合法のアクセスポイントまたは法遵守のコンテンツソースからユーザによる指示、管理または選好に基づいて選択した合法アクセスポイントからコンテンツを配信する同期システムを記載または説明するものではない。
(【0011】以降は省略されています)
この特許をJ-PlatPat(特許庁公式サイト)で参照する
関連特許
個人
詐欺保険
1か月前
個人
縁伊達ポイン
1か月前
個人
職業自動販売機
6日前
個人
RFタグシート
24日前
個人
5掛けポイント
13日前
個人
ペルソナ認証方式
21日前
個人
地球保全システム
1か月前
個人
QRコードの彩色
1か月前
個人
自動調理装置
23日前
個人
情報処理装置
16日前
個人
冷凍食品輸出支援構造
2か月前
個人
為替ポイント伊達夢貯
2か月前
個人
農作物用途分配システム
1か月前
個人
残土処理システム
1か月前
個人
表変換編集支援システム
2か月前
個人
知的財産出願支援システム
1か月前
個人
インターネットの利用構造
20日前
個人
サービス情報提供システム
8日前
個人
タッチパネル操作指代替具
1か月前
個人
知財出願支援AIシステム
2か月前
個人
行動時間管理システム
2か月前
個人
AIによる情報の売買の仲介
2か月前
個人
携帯端末障害問合せシステム
29日前
個人
パスワード管理支援システム
2か月前
個人
スケジュール調整プログラム
29日前
個人
食品レシピ生成システム
1か月前
株式会社キーエンス
受発注システム
1か月前
個人
エリアガイドナビAIシステム
21日前
日本精機株式会社
施工管理システム
2か月前
株式会社キーエンス
受発注システム
1か月前
株式会社アジラ
進入判定装置
2か月前
個人
AIキャラクター制御システム
2か月前
個人
システム及びプログラム
2か月前
株式会社キーエンス
受発注システム
1か月前
個人
パスポートレス入出国システム
2か月前
個人
海外支援型農作物活用システム
2か月前
続きを見る
他の特許を見る