TOP
|
特許
|
意匠
|
商標
特許ウォッチ
Twitter
他の特許を見る
公開番号
2025169814
公報種別
公開特許公報(A)
公開日
2025-11-14
出願番号
2024074969
出願日
2024-05-02
発明の名称
画像読取装置、及び画像形成装置
出願人
キヤノン株式会社
代理人
弁理士法人近島国際特許事務所
主分類
H04N
1/00 20060101AFI20251107BHJP(電気通信技術)
要約
【課題】押圧部の押圧により搬送領域の厚みが狭くなることを防止すること。
【解決手段】画像読取装置は、ホルダ部材(115)とそのホルダ部材に取付けられるカバー部材(116)とを有する読取ユニット(110)と、透明部材(111)に対向配置されて原稿の搬送領域(AS)を形成するガイド部(123)と、主走査方向(Y)において搬送領域の外側に配置される第1突き当て部及び第2突き当て部(125A,125B)と、読取ユニットを第1突き当て部及び前記第2突き当て部を介してガイド部に押圧する押圧部(118A,118B)と、を備え、ホルダ部材は、カバー部材に当接する第1当接部(115a,115b)及び第2当接部(115c,115d)を有し、第1当接部及び第2当接部のそれぞれは、主走査方向において、第1突き当て部及び第2突き当て部の外側となる位置に配置される。
【選択図】図5
特許請求の範囲
【請求項1】
透明部材と、前記透明部材を介して画像を読取る読取部と、前記読取部を収納すると共に前記透明部材を一面に支持するホルダ部材と、前記一面とは反対側において前記ホルダ部材に取付けられるカバー部材と、を有する読取ユニットと、
前記透明部材に対向配置されて原稿の搬送領域を形成するガイド部と、
前記ガイド部と前記透明部材との間で、かつ前記読取部の主走査方向において前記搬送領域の外側に前記搬送領域を挟んで配置される第1突き当て部及び第2突き当て部と、
前記カバー部材を押圧することで前記読取ユニットを前記第1突き当て部及び前記第2突き当て部を介して前記ガイド部に押圧する押圧部と、を備え、
前記ホルダ部材は、前記カバー部材に当接する第1当接部及び第2当接部を有し、
前記第1当接部及び前記第2当接部のそれぞれは、前記主走査方向において、前記第1突き当て部及び前記第2突き当て部と少なくとも一部が重なる位置、又は前記第1突き当て部及び前記第2突き当て部の外側となる位置に配置された、
ことを特徴とする画像読取装置。
続きを表示(約 850 文字)
【請求項2】
前記押圧部は、前記主走査方向において、前記第1当接部及び前記第2当接部よりも内側となる位置に配置された、
ことを特徴とする請求項1に記載の画像読取装置。
【請求項3】
前記押圧部は、第1押圧部であり、
前記カバー部材を押圧することで前記読取ユニットを前記第1突き当て部及び前記第2突き当て部を介して前記ガイド部に押圧する第2押圧部を備え、
前記第1押圧部及び前記第2押圧部のそれぞれは、前記主走査方向において、前記第1当接部及び前記第2当接部よりも内側となる位置に配置された、
ことを特徴とする請求項2に記載の画像読取装置。
【請求項4】
前記第1当接部及び前記第2当接部のそれぞれは、前記主走査方向において、前記第1突き当て部及び前記第2突き当て部と少なくとも一部が重なる位置に配置された、
ことを特徴とする請求項1に記載の画像読取装置。
【請求項5】
前記第1当接部及び前記第2当接部のそれぞれは、前記主走査方向において、前記第1突き当て部及び前記第2突き当て部の外側となる位置に配置された、
ことを特徴とする請求項1に記載の画像読取装置。
【請求項6】
前記ホルダ部材は、
前記一面から前記一面とは反対側に延びて前記読取部を囲うように形成された側壁部と、
前記側壁部から、前記一面とは反対側に向けて突出するように形成された前記第1当接部及び前記第2当接部と、を有する、
ことを特徴とする請求項1に記載の画像読取装置。
【請求項7】
前記搬送領域に向けて原稿を搬送する搬送部を備えた、
ことを特徴とする請求項1に記載の画像読取装置。
【請求項8】
請求項1乃至7の何れか1項に記載の画像読取装置と、
シートに画像を形成する画像形成部と、を備えた、
ことを特徴とする画像形成装置。
発明の詳細な説明
【技術分野】
【0001】
本発明は、原稿の画像を読取る画像読取装置、及び画像形成装置に関する。
続きを表示(約 2,200 文字)
【背景技術】
【0002】
例えば複合機等の画像形成装置には、原稿の画像を読取る画像読取装置(画像読取部)が備えられたものがある(特許文献1参照)。この特許文献1の画像読取部は、ADFガラス(23)を介して原稿の表側の画像を読取るCIS(30)に加え、原稿の裏側の画像を読取るCIS(31)を有する裏面CISユニット(710)が備えられている。この裏面CISユニット(710)は、位置決め突起(711d)をガイド部(702)に当接させることでガラス(705)とガイド部(702)との間に原稿の搬送領域を確保している。そして、裏面CISユニット(710)とフレーム(8)との間に設けたばね(715)によって、位置決め突起(711d)をガイド部(702)に押付けるように構成されている。即ち、このばね(715)によって、原稿の搬送領域の厚み、つまり裏面CISユニット(710)とガイド部(702)との間隔を一定位置に位置決めしている。
【先行技術文献】
【特許文献】
【0003】
特開2022-102390号公報
【発明の概要】
【発明が解決しようとする課題】
【0004】
ところで、上記のような裏面CISユニット(710)は、下ケース(711b)と上ケース(711a)とにより構成されてCIS(31)を収納するケース部材(711)を備えている。そして、上記ばね(715)は上ケース(711a)を押圧することで裏面CISユニット(710)を押圧している。しかしながら、ばね(715)によって押圧されることによりケース部材(711)の全体が撓む虞があり、ケース部材(711)が撓むと、ガラス(705)も撓んで上記搬送領域の厚みを狭くし、原稿の詰まり等を発生させる虞があった。
【0005】
そこで本発明は、押圧部の押圧により搬送領域の厚みが狭くなることを防止することが可能な画像読取装置、及び画像形成装置を提供することを目的とするものである。
【課題を解決するための手段】
【0006】
本発明の一態様は、透明部材と、前記透明部材を介して画像を読取る読取部と、前記読取部を収納すると共に前記透明部材を一面に支持するホルダ部材と、前記一面とは反対側において前記ホルダ部材に取付けられるカバー部材と、を有する読取ユニットと、前記透明部材に対向配置されて原稿の搬送領域を形成するガイド部と、前記ガイド部と前記透明部材との間で、かつ前記読取部の主走査方向において前記搬送領域の外側に前記搬送領域を挟んで配置される第1突き当て部及び第2突き当て部と、前記カバー部材を押圧することで前記読取ユニットを前記第1突き当て部及び前記第2突き当て部を介して前記ガイド部に押圧する押圧部と、を備え、前記ホルダ部材は、前記カバー部材に当接する第1当接部及び第2当接部を有し、前記第1当接部及び前記第2当接部のそれぞれは、前記主走査方向において、前記第1突き当て部及び前記第2突き当て部と少なくとも一部が重なる位置、又は前記第1突き当て部及び前記第2突き当て部の外側となる位置に配置された、ことを特徴とする画像読取装置である。
【発明の効果】
【0007】
本発明によると、押圧部の押圧により搬送領域の厚みが狭くなることを防止することができる。
【図面の簡単な説明】
【0008】
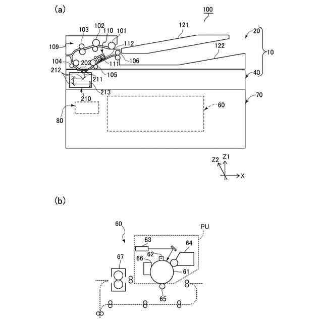
(a)は本実施形態に係るプリンタを示す全体概略図である。(b)は画像形成エンジンを示す模式図である。
第1実施形態に係る裏面読取ユニット及び搬送ガイドを示す断面図である。
第1実施形態に係るCISを取外した状態の裏面読取ユニット及び搬送ガイドを示す断面図である。
第1実施形態に係るCISホルダ及びホルダカバーを示す分解斜視図である。
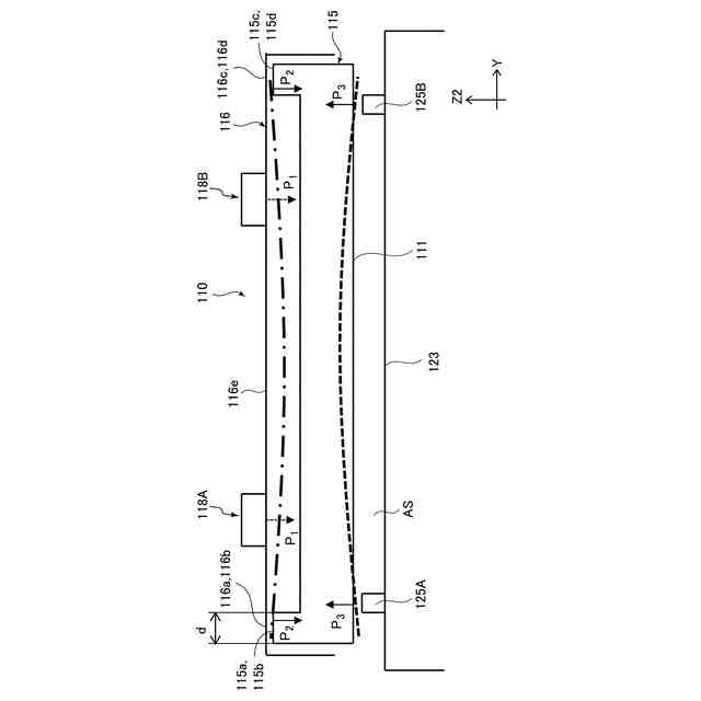
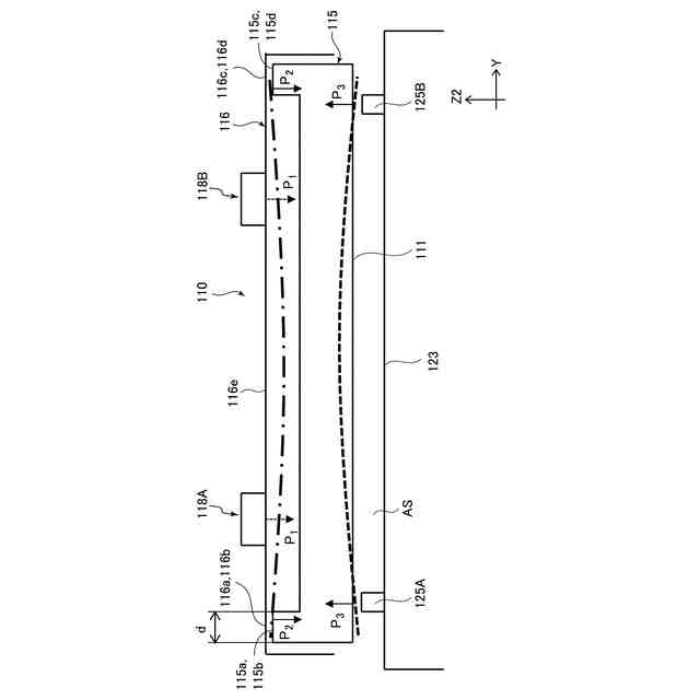
第1実施形態に係るCISユニットを押圧部により第1突き当て部及び第2突き当て部に押圧した状態を示す模式図である。
第2実施形態に係るCISユニットを押圧部により第1突き当て部及び第2突き当て部に押圧した状態を示す模式図である。
【発明を実施するための形態】
【0009】
<第1実施形態>
[画像形成装置の概略構成]
以下、第1実施形態について図を用いて説明する。まず、第1実施形態に係る画像形成装置としてのプリンタ100の概略構成について図1(a)及び図1(b)を用いて説明する。図1(a)は本実施形態に係るプリンタを示す全体概略図である。図1(b)は画像形成エンジンを示す模式図である。
【0010】
第1実施形態に係るプリンタ100は、電子写真方式のレーザビームプリンタである。プリンタ100は、図1(a)に示すように、プリンタ本体70と、プリンタ本体70の上部に装着される画像読取装置10と、を備えている。なお、以下において、シートとは、普通紙の他にも、厚紙、コート紙等の特殊紙、封筒やインデックス紙等の特殊形状からなる記録材、及びオーバーヘッドプロジェクタ用のプラスチックフィルムや布などを含むものとし、原稿もシートの一例である。
(【0011】以降は省略されています)
この特許をJ-PlatPat(特許庁公式サイト)で参照する
関連特許
キヤノン株式会社
容器
26日前
キヤノン株式会社
容器
20日前
キヤノン株式会社
トナー
1か月前
キヤノン株式会社
トナー
1か月前
キヤノン株式会社
トナー
29日前
キヤノン株式会社
トナー
1か月前
キヤノン株式会社
トナー
1か月前
キヤノン株式会社
トナー
12日前
キヤノン株式会社
現像装置
1か月前
キヤノン株式会社
記録装置
12日前
キヤノン株式会社
電子機器
12日前
キヤノン株式会社
記録装置
26日前
キヤノン株式会社
撮像装置
26日前
キヤノン株式会社
定着装置
5日前
キヤノン株式会社
現像容器
1か月前
キヤノン株式会社
電子機器
7日前
キヤノン株式会社
撮像装置
26日前
キヤノン株式会社
記録装置
12日前
キヤノン株式会社
記録装置
5日前
キヤノン株式会社
現像容器
1か月前
キヤノン株式会社
撮像装置
12日前
キヤノン株式会社
電子機器
12日前
キヤノン株式会社
現像装置
1か月前
キヤノン株式会社
撮像装置
1か月前
キヤノン株式会社
測距装置
1か月前
キヤノン株式会社
定着装置
5日前
キヤノン株式会社
現像装置
1か月前
キヤノン株式会社
定着装置
1か月前
キヤノン株式会社
雲台装置
12日前
キヤノン株式会社
記録装置
1か月前
キヤノン株式会社
撮影装置
1か月前
キヤノン株式会社
撮像装置
26日前
キヤノン株式会社
撮像装置
7日前
キヤノン株式会社
定着装置
5日前
キヤノン株式会社
測距装置
14日前
キヤノン株式会社
表示装置
20日前
続きを見る
他の特許を見る