TOP
|
特許
|
意匠
|
商標
特許ウォッチ
Twitter
他の特許を見る
10個以上の画像は省略されています。
公開番号
2025169776
公報種別
公開特許公報(A)
公開日
2025-11-14
出願番号
2024074880
出願日
2024-05-02
発明の名称
スクリーン装置及びその取付構造
出願人
セイキ販売株式会社
代理人
個人
,
個人
,
個人
主分類
E06B
9/52 20060101AFI20251107BHJP(戸,窓,シャッタまたはローラブラインド一般;はしご)
要約
【課題】スクリーンを建物開口部に付設された枠体に対して、より簡単に緊張状態で張設することができ、しかも、部品点数を減らしてコストを抑制することが可能なスクリーン装置、及びその取付構造を提供する。
【解決手段】建物開口部Eにおいて、ガラス障子3の障子枠4に隣接させて配置されたサッシ枠1の取付枠部10に装着するスクリーン装置2において、スクリーン20における4辺の周縁部に固定した保持枠21を、該周縁部に固定された連結部22と、取付枠部の係合溝14に係合させる係合突部27及び障子枠の室外側端面9に当接させるシール部28を有する係合保持部25と、スクリーンに張力を作用させる張力発生部24とを一体に設けることにより形成した。
【選択図】 図2
特許請求の範囲
【請求項1】
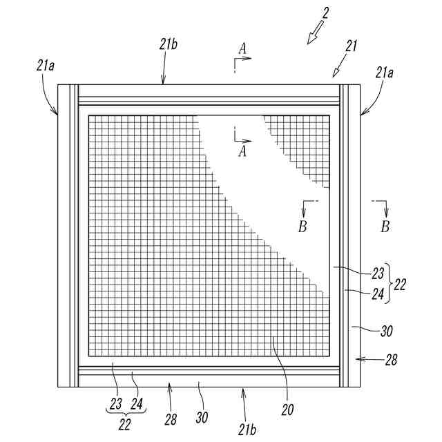
可撓性を有するスクリーンを、見込み方向に沿って互いに隣接する第1枠体及び第2枠体が付設された建物開口部において、前記第1枠体に張設するためのスクリーン装置であって、
前記スクリーン装置は、四角形に形成された前記スクリーンと、前記スクリーンの周縁部に沿って延設された保持枠とを有すると共に、第1面とそれとは逆側の第2面とを有しており、
前記保持枠は、内側部が前記スクリーンの周縁部に固定された帯状の連結部と、該連結部の外側端に連接された係合保持部とを有しており、
前記係合保持部は、前記第1面側に立設されて、前記第1枠体に凹設された係合溝に係合させるための係合突部と、前記第2面側に形成されて、前記第2枠体に当接させるためのシール部とを有している、
ことを特徴とするスクリーン装置。
続きを表示(約 1,700 文字)
【請求項2】
前記保持枠は、弾性材によって形成されており、
前記連結部は、前記スクリーンの周縁部に固定された固定部と、該固定部の外側端に連接されて該固定部に対し前記第2面側に屈折して外方向に伸びていて、前記第1枠体に張設されたスクリーンに対して弾性的な張力を作用させるための張力発生部とを有し、
前記係合保持部が、前記張力発生部の外側端に連接されている、
ことを特徴とする請求項1に記載されたスクリーン装置。
【請求項3】
前記係合保持部は、前記張力発生部の外側端に連接された基板部を有していて、
前記シール部は、前記基板部の前記第2面側から突設されたバネ部と、該バネ部の先端に連結されたシール部材とを有している、
ことを特徴とする請求項1に記載されたスクリーン装置。
【請求項4】
前記シール部材は、前記スクリーンにおける前記保持枠が固定された周縁部に沿って延設され、前記バネ部の突設方向に凸を成す帯板状に形成されている、
ことを特徴とする請求項3に記載されたスクリーン装置。
【請求項5】
前記シール部材における前記バネ部の先端との連結部分よりも内側部が、前記基板部に連結され、前記シール部材における前記バネ部の先端との連結部分よりも外側の外側端が、自由端になっている、
ことを特徴とする請求項4に記載されたスクリーン装置。
【請求項6】
前記係合突部は、前記基板部に基端が連結された柱部と、その柱部の先端に連結されて前記係合溝に係合させるための係合部とを有しており、
前記係合部は、前記柱部の先端から内側及び外側に突設された一対の鍔部により形成されている、
ことを特徴とする請求項3に記載されたスクリーン装置。
【請求項7】
建物開口部に対するスクリーン装置の取付構造であって、
前記建物開口部には、見込み方向に沿って互いに隣接する第1枠体及び第2枠体が付設されていて、前記第1枠体における前記第2枠体と対向する見付け面には係合溝が凹設されており、
前記スクリーン装置は、四角形に形成されて可撓性を有するスクリーンと、前記スクリーンの周縁部に沿って延設された保持枠とを有すると共に、第1面とそれとは逆側の第2面とを有し、前記保持枠は、内側部が前記スクリーンの周縁部に固定された帯状の連結部と、該連結部の外側端に連接された係合保持部とを有し、前記係合保持部は、前記第1面側に立設された係合突部と、前記第2面側に形成されたシール部とを有しており、
前記係合保持部の係合突部が前記第1枠体の係合溝に係合され、前記係合保持部のシール部を前記第2枠体に当接させる、
ことを特徴とするスクリーン装置の取付構造。
【請求項8】
前記保持枠は、弾性材によって形成されていて、
前記連結部は、前記スクリーンの周縁部に固定された固定部と、該固定部の外側端に連接されて該固定部に対し前記第2面側に屈折して外方向に伸びる張力発生部とを有し、前記係合保持部が、前記張力発生部の外側端に連接されており、
前記張力発生部が、第1枠体に張設されたスクリーンに対して弾性的な張力を作用させる、
ことを特徴とする請求項7に記載された取付構造。
【請求項9】
前記係合保持部は、前記張力発生部の外側端に連接された基板部を有していて、
前記シール部は、前記基板部の前記第2面側から突設されたバネ部と、該バネ部の先端に連結されたシール部材とを有している、
ことを特徴とする請求項7に記載された取付構造。
【請求項10】
前記シール部材は、前記スクリーンにおける前記保持枠が固定された周縁部に沿って延設され、前記バネ部の突設方向に凸を成す帯板状に形成されており、
前記シール部材における前記第2枠体側を向く面が、前記第2枠体の見返し面に対して当接する、
ことを特徴とする請求項9に記載された取付構造。
(【請求項11】以降は省略されています)
発明の詳細な説明
【技術分野】
【0001】
本発明は、建物開口部に付設された枠体に対して、防虫ネットや目隠しシート等のスクリーンを張設するためのスクリーン装置、及びその取付構造に関するものである。
続きを表示(約 1,900 文字)
【背景技術】
【0002】
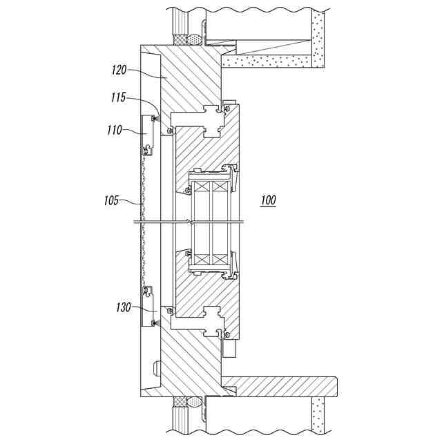
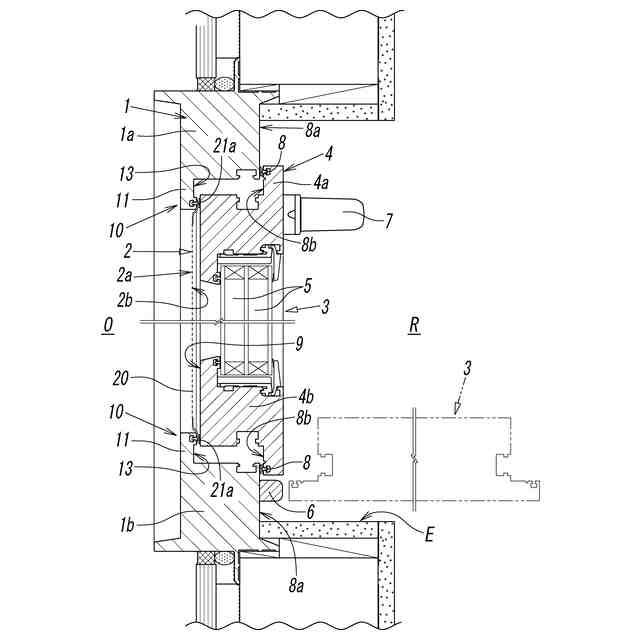
建物開口部に付設された枠体に対して、防虫ネットや目隠しシート等のスクリーンを張設することは、従来より広く行われている。このようにスクリーンを前記枠体に張設する場合、従来では、例えば特許文献1や図8及び図9のように、スクリーンの周縁部を、前記枠体の見付け面に形成された係合溝内に、押さえ部材と共に押し込んで固定する方法が用いられていた。
【0003】
しかしながら、このような方法では、前記スクリーンと押さえ部材とが別体に形成されていることから、張設作業において、スクリーンと押さえ部材とが相互にずれてしまい張設したスクリーンに皺や弛みが生じ易い。そのため、スクリーンを前記枠体内に皺や弛みが生じさせることなく緊張状態で張設するのは必ずしも容易ではなく、ある程度の習熟が必要とされる。
【0004】
さらに、例えば図8及び図9のように、建物開口部100では、スクリーン105を張設するための第1枠体110と、室内外方向(見込み方向)において該第1枠体110に隣接させて配置される第2枠体(サッシ枠やガラス障子の枠体等)120との間に空隙130が形成されるが、外部からその隙間を通じて虫等の異物が侵入するのを防止するため、前記第1枠体110に、前記第2枠体120に対して当接するモヘア等のシール部材115を設ける必要がある。
【0005】
このように、従来においては、建物開口部にスクリーンを装着するにあたって、前記スクリーン及びその枠体の他に、前記押さえ部材や前記シール部材を個別に準備する必要があったため、部品点数が多くなりコストが嵩みがちであった。
【先行技術文献】
【特許文献】
【0006】
特開2003-184458号公報
【発明の概要】
【発明が解決しようとする課題】
【0007】
本発明の技術的課題は、スクリーンを建物開口部に付設された枠体に対して、より簡単に緊張状態で張設することができ、しかも、部品点数を減らしてコストを抑制することが可能なスクリーン装置、及びその取付構造を提供することにある。
【課題を解決するための手段】
【0008】
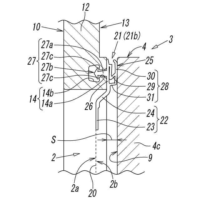
可撓性を有するスクリーンを、見込み方向に沿って互いに隣接する第1枠体及び第2枠体が付設された建物開口部において、前記第1枠体に張設するためのスクリーン装置であって、前記スクリーン装置は、四角形に形成された前記スクリーンと、前記スクリーンの周縁部に沿って延設された保持枠とを有すると共に、第1面とそれとは逆側の第2面とを有しており、前記保持枠は、内側部が前記スクリーンの周縁部に固定された帯状の連結部と、該連結部の外側端に連接された係合保持部とを有しており、前記係合保持部は、前記第1面側に立設されて、前記第1枠体に凹設された係合溝に係合させるための係合突部と、前記第2面側に形成されて、前記第2枠体に当接させるためのシール部とを有している、ことを特徴とする。
【0009】
前記スクリーン装置において、好ましくは、前記保持枠は、弾性材によって形成されており、前記連結部は、前記スクリーンの周縁部に固定された固定部と、該固定部の外側端に連接されて該固定部に対し前記第2面側に屈折して外方向に伸びていて、前記第1枠体に張設されたスクリーンに対して弾性的な張力を作用させるための張力発生部とを有し、前記係合保持部が、前記張力発生部の外側端に連接されている。
【0010】
また、好ましくは、前記係合保持部は、前記張力発生部の外側端に連接された基板部を有していて、前記シール部は、前記基板部の前記第2面側から突設されたバネ部と、該バネ部の先端に連結されたシール部材とを有している。このとき、より好ましくは、前記シール部材は、前記スクリーンにおける前記保持枠が固定された周縁部に沿って延設され、前記バネ部の突設方向に凸を成す帯板状に形成されている。さらに、より好ましくは、前記シール部材における前記バネ部の先端との連結部分よりも内側部が、前記基板部に連結され、前記シール部材における前記バネ部の先端との連結部分よりも外側の外側端が、自由端になっている。また、より好ましくは、前記係合突部は、前記基板部に基端が連結された柱部と、その柱部の先端に連結されて前記係合溝に係合させるための係合部とを有しており、前記係合部は、前記柱部の先端から内側及び外側に突設された一対の鍔部により形成されている。
(【0011】以降は省略されています)
この特許をJ-PlatPat(特許庁公式サイト)で参照する
関連特許
セイキ販売株式会社
スクリーン装置及びその取付構造
8日前
YKK AP株式会社
スクリーン装置及びこの取付構造
1か月前
株式会社ナカオ
作業台
2か月前
中国電力株式会社
脚立
3か月前
株式会社ESP
止水板
3か月前
株式会社ニチベイ
遮蔽装置
23日前
三協立山株式会社
開口部装置
2か月前
三協立山株式会社
開口部建材
16日前
三協立山株式会社
開口部建材
16日前
三協立山株式会社
開口部装置
2か月前
三協立山株式会社
開口部装置
2か月前
三協立山株式会社
開口部装置
1か月前
三協立山株式会社
開口部装置
2か月前
三協立山株式会社
開口部装置
2か月前
ミサワホーム株式会社
水切り材
2か月前
株式会社ニチベイ
縦型ブラインド
3か月前
文化シヤッター株式会社
止水装置
1か月前
不二サッシ株式会社
引違いサッシ
1か月前
豊田合成株式会社
調光装置
15日前
文化シヤッター株式会社
引戸装置
1か月前
不二サッシ株式会社
引違いサッシ
2か月前
豊田合成株式会社
調光装置
1か月前
三協立山株式会社
サッシの製造方法
2か月前
株式会社LIXIL
太陽電池ガラス
1か月前
三和シヤッター工業株式会社
水密構造
3か月前
株式会社LIXIL
建具
1か月前
株式会社LIXIL
建具
1か月前
株式会社LIXIL
建具
1か月前
株式会社LIXIL
建具
3か月前
株式会社LIXIL
建具
1か月前
株式会社LIXIL
建具
1か月前
株式会社LIXIL
建具
1か月前
株式会社LIXIL
建具
1か月前
株式会社LIXIL
建具
1か月前
株式会社LIXIL
建具
1か月前
株式会社LIXIL
建具
3か月前
続きを見る
他の特許を見る