TOP
|
特許
|
意匠
|
商標
特許ウォッチ
Twitter
他の特許を見る
10個以上の画像は省略されています。
公開番号
2025169735
公報種別
公開特許公報(A)
公開日
2025-11-14
出願番号
2024074766
出願日
2024-05-02
発明の名称
露光装置および画像形成装置
出願人
キヤノン株式会社
代理人
弁理士法人中川国際特許事務所
主分類
B41J
2/447 20060101AFI20251107BHJP(印刷;線画機;タイプライター;スタンプ)
要約
【課題】基板の発光素子が実装された部分の撓みを最小限に抑えながら、基板の位置や光量等の調整を行える。
【解決手段】感光体の軸線方向に延びる長尺の形状をなし、前記感光体を露光する露光装置であって、前記感光体を露光する光を発する複数の発光素子が前記軸線方向に沿って配列された基板と、前記発光素子から出射された光を前記感光体に集光するレンズアレイと、前記基板と前記レンズアレイを保持する保持体と、前記発光素子に電気的に接続され、接離可能に接触された接触端子を通して前記発光素子の発光を制御する信号を入力する第1接点と、前記基板の長手方向において前記第1接点とは異なる位置に設けられ、前記発光素子に電気的に接続され、接離可能に接触された接触端子を通して前記発光素子の発光を制御する信号を入力する第2接点と、を備える。
【選択図】 図1
特許請求の範囲
【請求項1】
感光体の軸線方向に延びる長尺の形状をなし、前記感光体を露光する露光装置であって、
前記感光体を露光する光を発する複数の発光素子が前記軸線方向に沿って配列された基板と、
前記発光素子から出射された光を前記感光体に集光するレンズアレイと、
前記基板と前記レンズアレイを保持する保持体と、
前記発光素子に電気的に接続され、接離可能に接触された接触端子を通して前記発光素子の発光を制御する信号を入力する第1接点と、
前記基板の長手方向において前記第1接点とは異なる位置に設けられ、前記発光素子に電気的に接続され、接離可能に接触された接触端子を通して前記発光素子の発光を制御する信号を入力する第2接点と、を備える、
ことを特徴とする露光装置。
続きを表示(約 980 文字)
【請求項2】
前記第1接点または前記第2接点の少なくとも一方の接点は、前記基板の長手方向において前記発光素子とオーバーラップしない、
ことを特徴とする請求項1に記載の露光装置。
【請求項3】
前記第1接点は複数の接点を含み、前記複数の第1接点は、少なくともいくつかが前記基板の長手方向に直交する短手方向に並設されている、
ことを特徴とする請求項1に記載の露光装置。
【請求項4】
前記第2接点は複数の接点を含み、前記複数の第2接点は、すべてが前記基板の長手方向に並設されている、
ことを特徴とする請求項1に記載の露光装置。
【請求項5】
前記第2接点は、前記基板の長手方向よりも前記基板の長手方向に直交する短手方向の方が大きい接点形状をもつ、
ことを特徴とする請求項1に記載の露光装置。
【請求項6】
前記第1接点は、前記基板の長手方向の一方の端部に配置され、
前記第2接点は、前記基板の長手方向において前記第1接点よりも内側に配置されている、
ことを特徴とする請求項1に記載の露光装置。
【請求項7】
前記発光素子に電気的に接続され、ケーブルが抜き差し可能に接続されるコネクタを備え、
前記第1接点は、前記基板の長手方向において前記コネクタよりも端部側に配置されている、
ことを特徴とする請求項1に記載の露光装置。
【請求項8】
前記基板は前記発光素子に信号を供給するための複数の配線を有し、
前記第1接点および前記第2接点は、それぞれ前記発光素子の発光を制御する制御信号を供給する配線に接続された接点と、前記発光素子の発光を制御する電源を供給する配線に接続された接点と、を含む、
ことを特徴とする請求項1に記載の露光装置。
【請求項9】
前記第1接点および前記第2接点は、前記基板の前記発光素子が実装された面とは反対側の面に設けられている、
ことを特徴とする請求項1に記載の露光装置。
【請求項10】
前記発光素子は、有機ELである、
ことを特徴とする請求項1に記載の露光装置。
(【請求項11】以降は省略されています)
発明の詳細な説明
【技術分野】
【0001】
本発明は、感光体を露光する露光装置および露光装置を備える画像形成装置に関する。
続きを表示(約 1,500 文字)
【背景技術】
【0002】
従来、電子写真方式の画像形成装置としては、LEDアレイおよびレンズアレイを備えた露光装置から、感光体の表面に静電潜像を形成し、その静電潜像にトナーを付着させてトナー像を現像するものが普及している(特許文献1)。
【0003】
従来の露光装置において、LEDアレイが搭載された基板は、接着剤によってホルダに接着され、さらに封止剤によって前記ホルダとの隙間を封止されている。また、LEDアレイが搭載された基板と、画像形成装置の本体制御部との電気的な接続は、フレキシブルフラットケーブル(以下、FFCとも称する)を用いて行われている。LEDアレイが搭載された基板にはコネクタが実装されており、この基板に実装されたコネクタに、FFCが抜き差し可能に接続されることで、画像形成装置の本体制御部と電気的に接続される。
【0004】
また従来の露光装置においては、接着剤による接着前や封止剤による封止後に、露光装置の組立工程として、工具を用いて基板の位置や光量等を調整している。その際、画像形成装置と同様にFFCを用いて、基板と工具とを電気的に接続して、基板の位置や光量等の調整を行っている。
【先行技術文献】
【特許文献】
【0005】
特開2020-62853号公報
【発明の概要】
【発明が解決しようとする課題】
【0006】
しかし、露光装置の組立工程での調整時に、FFCを抜き差しすることで基板に掛かる力によって、基板のLEDアレイが実装された部分に撓みが生じてしまう可能性があった。
【0007】
そこで本発明の目的は、基板のLEDアレイが実装された部分の撓みを最小限に抑えながら、基板の位置や光量等の調整を行えるようにすることである。
【課題を解決するための手段】
【0008】
本発明の代表的な構成は、感光体の軸線方向に延びる長尺の形状をなし、前記感光体を露光する露光装置であって、前記感光体を露光する光を発する複数の発光素子が前記軸線方向に沿って配列された基板と、前記発光素子から出射された光を前記感光体に集光するレンズアレイと、前記基板と前記レンズアレイを保持する保持体と、前記発光素子に電気的に接続され、接離可能に接触された接触端子を通して前記発光素子の発光を制御する信号を入力する第1接点と、前記基板の長手方向において前記第1接点とは異なる位置に設けられ、前記発光素子に電気的に接続され、接離可能に接触された接触端子を通して前記発光素子の発光を制御する信号を入力する第2接点と、を備える、ことを特徴とする。
【発明の効果】
【0009】
本発明によれば、基板の発光素子が実装された部分の撓みを最小限に抑えながら、基板の位置や光量等の調整を行うことができる。
【図面の簡単な説明】
【0010】
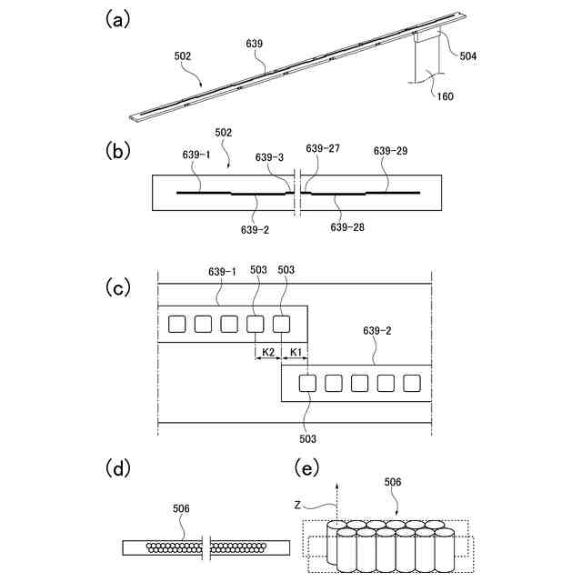
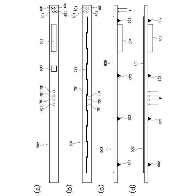
(a)、(b)、(c)、(d)実施例に係る基板の説明図
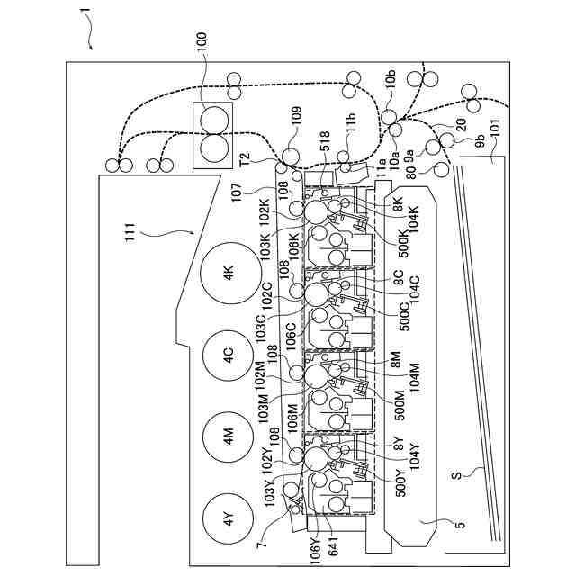
画像形成装置の概略断面図
画像形成装置が備える光プリントヘッドを上側から見た斜視図
(a)、(b)、(c)基板を示す図、(d)、(e)レンズアレイを示す図
実施例に係る基板のコネクタとチェックパッドの部分を拡大して表した図
光プリントヘッドの構成を示す断面図
光プリントヘッドを下側から見た斜視図
光プリントヘッドのコネクタ側の拡大図
(a)、(b)実施例に係るチェックパッドと封止剤との関係を示す図
【発明を実施するための形態】
(【0011】以降は省略されています)
この特許をJ-PlatPat(特許庁公式サイト)で参照する
関連特許
キヤノン株式会社
容器
20日前
キヤノン株式会社
容器
26日前
キヤノン株式会社
トナー
12日前
キヤノン株式会社
トナー
1か月前
キヤノン株式会社
トナー
29日前
キヤノン株式会社
トナー
1か月前
キヤノン株式会社
トナー
1か月前
キヤノン株式会社
トナー
1か月前
キヤノン株式会社
定着装置
5日前
キヤノン株式会社
測距装置
1か月前
キヤノン株式会社
撮像装置
26日前
キヤノン株式会社
撮像装置
26日前
キヤノン株式会社
記録装置
12日前
キヤノン株式会社
撮像装置
1か月前
キヤノン株式会社
撮像装置
26日前
キヤノン株式会社
定着装置
5日前
キヤノン株式会社
記録装置
26日前
キヤノン株式会社
撮像装置
20日前
キヤノン株式会社
電子機器
12日前
キヤノン株式会社
電子機器
12日前
キヤノン株式会社
記録装置
5日前
キヤノン株式会社
現像容器
1か月前
キヤノン株式会社
現像装置
1か月前
キヤノン株式会社
表示装置
20日前
キヤノン株式会社
記録装置
12日前
キヤノン株式会社
撮像装置
1か月前
キヤノン株式会社
現像容器
1か月前
キヤノン株式会社
現像装置
1か月前
キヤノン株式会社
定着装置
5日前
キヤノン株式会社
撮像装置
13日前
キヤノン株式会社
撮像装置
12日前
キヤノン株式会社
撮像装置
7日前
キヤノン株式会社
測距装置
14日前
キヤノン株式会社
電子機器
7日前
キヤノン株式会社
現像装置
1か月前
キヤノン株式会社
定着装置
1か月前
続きを見る
他の特許を見る