TOP
|
特許
|
意匠
|
商標
特許ウォッチ
Twitter
他の特許を見る
10個以上の画像は省略されています。
公開番号
2025169553
公報種別
公開特許公報(A)
公開日
2025-11-14
出願番号
2024074347
出願日
2024-05-01
発明の名称
受信コイルユニット及び磁気共鳴イメージング装置
出願人
富士フイルム株式会社
代理人
個人
,
個人
,
個人
,
個人
,
個人
主分類
A61B
5/055 20060101AFI20251107BHJP(医学または獣医学;衛生学)
要約
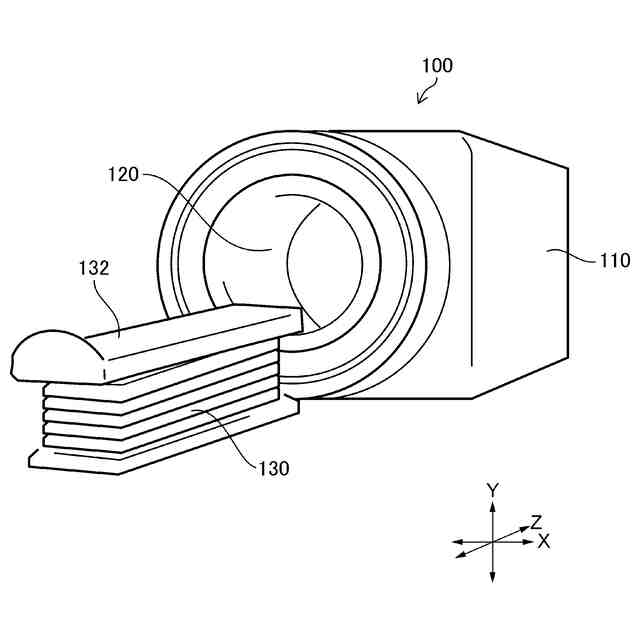
【課題】MRI検査における検査技師の負担を軽減し、装着が容易で、安定した磁気共鳴イメージング装置での撮影を行うことができる受信コイルユニット及び磁気共鳴イメージング装置を提供することである。
【解決手段】受信コイルユニット1は、エプロン形状の受信コイルユニット1であって、被検体からの磁気共鳴信号を受信する複数の受信コイルが配置され被検体の前方及び側方を覆う本体部11と、本体部11の上部に一方の端部が接続され被検体の両肩にそれぞれかかる帯形状を有する第1の帯形状部13及び第2の帯形状部13と、第1の帯形状部13と第2の帯形状部13との他方の端部に接続され、互いに接離可能である第1のベルト15及び第2のベルト15と、を備える。
【選択図】図5
特許請求の範囲
【請求項1】
エプロン形状の受信コイルユニットであって、被検体からの磁気共鳴信号を受信する複数の受信コイルが配置され前記被検体の前方及び側方を覆う本体部と、
前記本体部の上部に一方の端部が接続され前記被検体の両肩にそれぞれかかる帯形状を有する第1の帯形状部及び第2の帯形状部と、
前記第1の帯形状部と前記第2の帯形状部との他方の端部に接続され、互いに接離可能である第1のベルト及び第2のベルトと、
を備える受信コイルユニット。
続きを表示(約 680 文字)
【請求項2】
前記第1の帯形状部及び前記第2の帯形状部は、前記複数の受信コイルが配置されている請求項1に記載の受信コイルユニット。
【請求項3】
前記第1のベルト及び前記第2のベルトは、面ファスナにより互いに接離可能に構成されている請求項1に記載の受信コイルユニット。
【請求項4】
前記第1のベルト及び前記第2のベルトの総重量は、前記本体部の重量の20%以上である請求項1に記載の受信コイルユニット。
【請求項5】
前記本体部には、磁気共鳴イメージング装置に繋がれる受信ケーブルを接続するコネクタを有する請求項1に記載の受信コイルユニット。
【請求項6】
前記コネクタは、前記被検体の胸に対応する位置に配置される請求項5に記載の受信コイルユニット。
【請求項7】
前記本体部の端部に接続される追加エレメントであって、前記複数の受信コイルが配置され、前記被検体の前方及び側方を覆う追加エレメントを更に備える請求項1に記載の受信コイルユニット。
【請求項8】
前記本体部に取り付けられ、前記被検体を磁気共鳴イメージング装置の寝台のテーブルに固定する固定ベルトを更に備える請求項1に記載の受信コイルユニット。
【請求項9】
前記本体部を前記被検体の胴体に巻き付ける為の巻き付けベルトを更に備える請求項1に記載の受信コイルユニット。
【請求項10】
請求項1から9のいずれか1項に記載の受信コイルユニットを備える磁気共鳴イメージング装置。
発明の詳細な説明
【技術分野】
【0001】
本発明は、受信コイルユニット及び磁気共鳴イメージング装置に係り、特に被験者が装着可能なエプロン形状の受信コイルユニットの技術に関する。
続きを表示(約 1,400 文字)
【背景技術】
【0002】
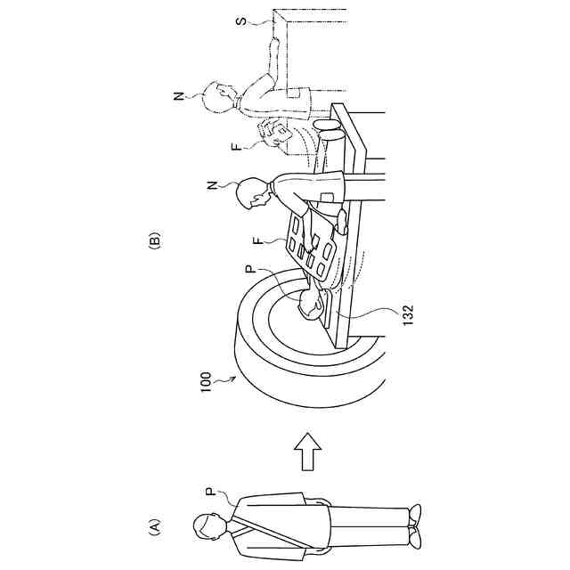
磁気共鳴イメージング装置(MRI(Magnetic Resonance Imaging)装置)によるMRI検査では、元素に固有な共鳴周波数でのラジオ(RF:Radio Frequency)波を被検者の検査部位に照射し、発生した核磁気共鳴信号(NMR(Nuclear Magnetic Resonance)信号)を受信コイル(「RFコイル」ともいう)で受信し、受信したNMR信号から画像(MRI画像)を生成する。したがって、被検者は、検査部位において核磁気共鳴信号を受信するために受信コイルを装着する必要がある。
【0003】
例えば、被検者の腹部を磁気共鳴イメージング装置で撮影する場合には、検査技師は、被検者が磁気共鳴イメージング装置の寝台に寝た状態になった後に、腹部用の受信コイルユニットを被検者に装着する。
【0004】
一方で、特許文献1では、被検者が寝台に寝る前に、被検者の片方の肩に架けることにより装着することが可能な受信コイルユニットが開示されている。特許文献1の受信コイルユニットは、被験者が寝台に寝る前に、被検者の前側及び後ろ側に受信コイルを装着できるように片側の肩から掛けられる。
【先行技術文献】
【特許文献】
【0005】
米国特許第9255977号明細書
【発明の概要】
【発明が解決しようとする課題】
【0006】
しかしながら、上述したように被検者が寝台に寝た状態で、検査技師が受信コイルを装着する場合には、検査技師が大きな受信コイルを保管棚から細心の注意をして、移動しなければならず、検査技師の負担が増大する。
【0007】
また、被検者が寝台に寝た状態で受信コイルを装着する場合には、検査技師は固定ベルトで受信コイルを固定しなければならず、検査技師の負担が増大する。また、検査技師は、磁気共鳴イメージング装置本体と受信コイルとを接続ケーブルで接続しなければならず、検査技師の負担が増大する。
【0008】
更に、上述した特許文献1の受信コイルユニットでは、被検者の片方の肩から受信コイルをかけるために、受信コイルの被検者への装着が不安定となってしまう。また、上述した特許文献1の受信コイルユニットでは、片側の肩及び脇腹での2箇所での連結箇所を設けなければならず、MRI検査の際の被検者が不快を感じる可能性がある。
【0009】
本発明はこのような事情に鑑みてなされたもので、その目的は、MRI検査における検査技師の負担を軽減し、装着が容易で、安定した磁気共鳴イメージング装置での撮影を行うことができる受信コイルユニット及び磁気共鳴イメージング装置を提供することである。
【課題を解決するための手段】
【0010】
上記目的を達成するために、本発明の第1態様に係る受信コイルユニットは、エプロン形状の受信コイルユニットであって、被検体からの磁気共鳴信号を受信する複数の受信コイルが配置され被検体の前方及び側方を覆う本体部と、本体部の上部に一方の端部が接続され被検体の両肩にそれぞれかかる帯形状を有する第1の帯形状部及び第2の帯形状部と、第1の帯形状部と第2の帯形状部との他方の端部に接続され、互いに接離可能である第1のベルト及び第2のベルトと、を備える。
(【0011】以降は省略されています)
この特許をJ-PlatPat(特許庁公式サイト)で参照する
関連特許
富士フイルム株式会社
受信コイルユニット及び磁気共鳴イメージング装置
3日前
富士フイルム株式会社
医用画像処理方法、医用画像処理プログラム、記録媒体、医用画像処理装置、及び学習方法
3日前
個人
貼付剤
21日前
個人
簡易担架
3日前
個人
腋臭防止剤
3日前
個人
足踏み器具
10日前
個人
短下肢装具
3か月前
個人
前腕誘導装置
4か月前
個人
排尿補助器具
1か月前
個人
嚥下鍛錬装置
4か月前
個人
洗井間専家。
7か月前
個人
白内障治療法
8か月前
個人
胸骨圧迫補助具
2か月前
個人
ウォート指圧法
1か月前
個人
汚れ防止シート
1か月前
個人
矯正椅子
5か月前
個人
アイマスク装置
2か月前
個人
歯の修復用材料
4か月前
個人
ホバーアイロン
7か月前
個人
バッグ式オムツ
5か月前
個人
腰ベルト
24日前
個人
歯の保護用シール
5か月前
個人
排尿排便補助器具
5日前
個人
シャンプー
6か月前
個人
車椅子持ち上げ器
8か月前
個人
哺乳瓶冷まし容器
3か月前
個人
湿布連続貼り機。
3か月前
三生医薬株式会社
錠剤
8か月前
個人
陣痛緩和具
4か月前
個人
美容セット
12日前
株式会社八光
剥離吸引管
5か月前
個人
エア誘導コルセット
2か月前
個人
服薬支援装置
8か月前
個人
治療用酸化防御装置
2か月前
株式会社大野
骨壷
4か月前
個人
性行為補助具
3か月前
続きを見る
他の特許を見る