TOP
|
特許
|
意匠
|
商標
特許ウォッチ
Twitter
他の特許を見る
公開番号
2025169102
公報種別
公開特許公報(A)
公開日
2025-11-12
出願番号
2024074129
出願日
2024-04-30
発明の名称
血液浄化装置
出願人
澁谷工業株式会社
代理人
個人
,
個人
主分類
A61M
1/16 20060101AFI20251105BHJP(医学または獣医学;衛生学)
要約
【課題】 治療前のプライミング作業および治療後の返血作業を効率的に行う。
【解決手段】 一端が透析液回路の透析液供給通路4Aに接続され、他端が血液回路の静脈通路3Aに接続された給液通路11と、一端が血液回路の動脈通路3Bに接続され、他端が上記透析液供給通路4Aまたは透析液回路の透析液排出通路4Bに切替可能に接続される給排通路12とを備える。
プライミング作業では、動脈通路3Aと静脈通路3Aとの先端同士を連結した循環経路を形成した状態で、上記給液通路11を介して血液回路に透析液を供給するとともに、上記給排通路12を上記透析液排出通路4Bに接続させて、返血作業の際は上記透析液供給通路4Aから血液回路に透析液を供給する上記給排通路12を介して上記透析液排出通路4Bへと透析液を排出させる。
【選択図】 図3
特許請求の範囲
【請求項1】
血液浄化器に接続される動脈通路および静脈通路を有する血液回路と、血液浄化器に接続される透析液供給通路および透析液排出通路を有する透析液回路と、上記動脈通路に設けられた血液ポンプと、上記透析液回路に設けられて上記血液浄化器での透析液の供給および排出を行う透析液供給排出手段とを備え、上記動脈通路から静脈通路へ血液浄化器を介して血液を循環させて血液浄化治療を行う血液浄化装置において、
一端が上記透析液供給通路に接続され、他端が上記動脈通路もしくは静脈通路に接続される給液通路と、一端が上記動脈通路に接続され、他端が上記透析液供給通路および透析液排出通路に接続される給排通路と、上記給排通路における血液回路に対する透析液の供給と排出とを切り替える切替手段とを備え、
治療前のプライミング作業では、上記動脈通路と静脈通路との先端同士を連結した循環経路を形成した状態で、上記透析液供給通路から上記給液通路を介して血液回路に透析液を供給するとともに、上記血液回路から上記給排通路を介して上記透析液排出通路に透析液を排出させ、
治療後の返血作業では、上記透析液供給通路から上記給排通路を介して血液回路に透析液を供給して、上記動脈通路と静脈通路の先端から返血することを特徴とする血液浄化装置。
続きを表示(約 310 文字)
【請求項2】
一端が上記透析液供給通路に接続され、他端が上記透析液排出通路に接続されるバイパス通路を備え、
上記切替手段は、上記バイパス通路を開閉する供給開閉弁と上記給液通路を開閉する給液開閉弁とを備えて、
上記給排通路の一端を上記動脈通路の先端から上記血液ポンプまでの間に接続するとともに、上記給排通路の他端を上記バイパス通路の上記供給開閉弁から上記透析液排出通路に接続される他端までの間に接続し、
上記プライミング作業では、上記給液開閉弁を開放して上記供給開閉弁を閉鎖し、上記返血作業では上記供給開閉弁を開放して上記給液開閉弁を閉鎖することを特徴とする請求項1に記載の血液浄化装置。
発明の詳細な説明
【技術分野】
【0001】
本発明は血液浄化装置に関し、より詳しくは治療前のプライミング作業および治療後の返血作業を効率的に行うことが可能な血液浄化装置に関する。
続きを表示(約 5,000 文字)
【背景技術】
【0002】
従来、血液浄化器に接続された動脈通路および静脈通路からなる血液回路と、血液浄化器に接続された透析液供給通路および透析液排出通路からなる透析液回路と、上記動脈通路に設けられた血液ポンプと、上記透析液回路に設けられて上記血液浄化器に対して透析液の供給および回収を行う透析液供給回収手段とを備えた血液浄化装置が知られている(特許文献1、2、3)。
このような血液浄化装置では、血液浄化治療を行う前に上記血液浄化器や血液回路にプライミング液を流通させるプライミング作業と、治療後に血液浄化器や血液回路に残留する血液を患者に戻す返血作業が必要となる。
上記特許文献1の血液浄化装置は、上記透析液供給通路と動脈通路との間に給液通路を備えており、プライミング作業の際には上記給液通路を介して透析液供給通路の透析液をプライミング液として動脈通路に供給し、血液回路に透析液を流通させるようになっている。
また特許文献1の血液浄化装置で返血作業を行う際にも、上記給液通路を介して透析液供給通路の透析液を動脈通路に供給することで、血液回路の血液を透析液によって押し出して患者に返血するようになっている。
さらに特許文献1の血液浄化装置では、治療中に補液を行う際にも上記給液通路を介して透析液供給通路の透析液を動脈通路に供給することで、透析液を患者に補液するようになっている。
これに対し、特許文献2の血液浄化装置は、上記透析液供給通路と動脈通路との間に給液通路を備えるとともに、プライミング作業の際には動脈通路および静脈通路の各先端を直接接続するか(第7実施例、図23、図24)、またはY字状のチューブを装着して(第9実施例、図28、図29)透析液排出通路に接続させる構成を有している。
このような構成により、上記給液通路を介して透析液供給通路の透析液を動脈通路に供給して血液回路に流通させ、これを動脈通路および静脈通路の先端から透析液排出通路へと排出するようになっている。
さらに特許文献3の血液浄化装置は、上記透析液供給通路と動脈通路の血液ポンプの上流側との間に給液通路として返血通路を備えるとともに、上記透析液供給通路と血液ポンプの下流側の動脈通路で血液浄化器の上流側との間(前希釈方式)、もしくは血液浄化器の下流側の静脈通路との間(後希釈方式)に給液通路として補液通路を備えたものとなっている。
このような構成において、プライミング作業の際は補液通路から透析液を供給して血液回路に流通させ、動脈通路および静脈通路の先端から透析液排出通路へと排出するようになっている。
【先行技術文献】
【特許文献】
【0003】
特許第4091873号公報
特許第6685374号公報
特開2024-35694号公報
【発明の概要】
【発明が解決しようとする課題】
【0004】
しかしながら、特許文献1の血液浄化装置においては、プライミング作業時に血液回路に供給した透析液を動脈通路および静脈通路の先端より流出させるため、流出される透析液を回収するための容器が必要になるなど、医療従事者の作業が煩雑になるという問題があった。
また特許文献2の血液浄化装置の場合、プライミング作業時に透析液排出通路に直接動脈通路および静脈通路の各先端を接続しないのであれば、各通路と接続可能なY字状のチューブを血液回路に付属させなければならず、資材費が増えるという問題があった。
さらには、特許文献1の血液浄化装置では、プライミング、返血、補液において、それぞれ共通する給液通路から透析液を供給しているが、実際には返血と補液では血液回路における透析液の供給位置は異なっている。
すなわち特許文献3の血液浄化装置では、血液ポンプの上流側に透析液を供給する返血通路に加え、補液のために血液ポンプの下流側の動脈通路もしくは静脈通路に透析液を供給する補液通路を設けている。
ここで、血液回路は患者毎に交換するため血液浄化装置に着脱可能となっており、透析液回路と血液回路との通路の接続は接続ポートを介して行っている。
特許文献3の血液浄化装置の場合、返血通路と補液通路とを接続するために透析液供給通路の二箇所に接続ポートを備えるとともに、プライミング時の排液のために透析液排出通路の一箇所に接続ポートを備えており、計三つの接続ポートを備えている。
これと同様特許文献2の血液浄化装置では、プライミング時の排液のために、Y字状のチューブを用いず静脈通路および動脈通路の各先端を直接透析液排出通路に接続する場合は、二つの接続ポートが必要となる。
このように、接続ポートが複数に増加する場合、ポートのみならず通路や開閉弁、フィルタ等の追加が伴い、部品点数が増えることで血液浄化装置のコストの上昇につながる。
さらに特許文献2、3の血液浄化装置では、プライミング時の排液のために、動脈通路や静脈通路の先端を接続ポートに接続させているが、接続ポートは治療後に十分に洗浄するものの、外部に開放される部分であり、洗浄後に汚染される危険性がある。
したがって、患者と接続して治療を開始する前に、滅菌済みの血液回路の患者と接続される静脈通路や動脈通路の各先端を、このような接続ポートに対して接続することは極力避けることが望ましい。
このような課題に鑑み、本発明はプライミング作業および返血作業を効率的に行うことが可能であり、また資材や装置のコストを抑え、かつ治療前の血液回路の汚染を防止するようにした血液浄化装置を提供するものである。
【課題を解決するための手段】
【0005】
すなわち請求項1の発明にかかる血液浄化装置は、血液浄化器に接続される動脈通路および静脈通路を有する血液回路と、血液浄化器に接続される透析液供給通路および透析液排出通路を有する透析液回路と、上記動脈通路に設けられた血液ポンプと、上記透析液回路に設けられて上記血液浄化器での透析液の供給および排出を行う透析液供給排出手段とを備え、上記動脈通路から静脈通路へ血液浄化器を介して血液を循環させて血液浄化治療を行う血液浄化装置において、
一端が上記透析液供給通路に接続され、他端が上記動脈通路もしくは静脈通路に接続される給液通路と、一端が上記動脈通路に接続され、他端が上記透析液供給通路および透析液排出通路に接続される給排通路と、上記給排通路における血液回路に対する透析液の供給と排出とを切り替える切替手段とを備え、
治療前のプライミング作業では、上記動脈通路と静脈通路との先端同士を連結した循環経路を形成した状態で、上記透析液供給通路から上記給液通路を介して血液回路に透析液を供給するとともに、上記血液回路から上記給排通路を介して上記透析液排出通路に透析液を排出させ、
治療後の返血作業では、上記透析液供給通路から上記給排通路を介して血液回路に透析液を供給して、上記動脈通路と静脈通路の先端から返血することを特徴としている。
【発明の効果】
【0006】
上記請求項1の発明によれば、プライミング時の排液は事前に透析液回路に接続されて治療中も接続したままの給排通路を介して行うため、血液回路の動脈通路や静脈通路の先端を透析液排出通路に対して着脱する作業を要せず、また透析液排出通路に接続するためのチューブを血液回路に付属させる必要もない。
また給排通路は給液と排液を兼用するため、接続ポートの増加が抑えられるとともに、動脈通路や静脈通路の先端を接続ポートに接続する必要がない。
これにより、プライミング作業および返血作業を効率的に行うことが可能であり、また資材や装置のコストを抑え、かつ治療前の血液回路の汚染を防止することが可能となる。
【図面の簡単な説明】
【0007】
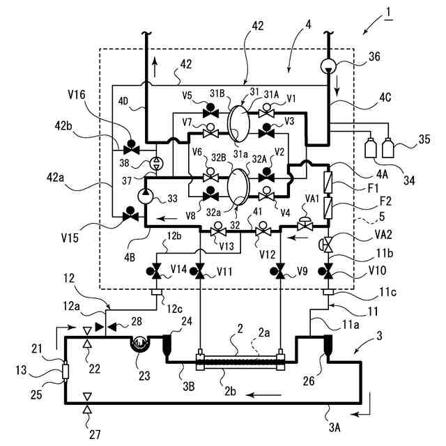
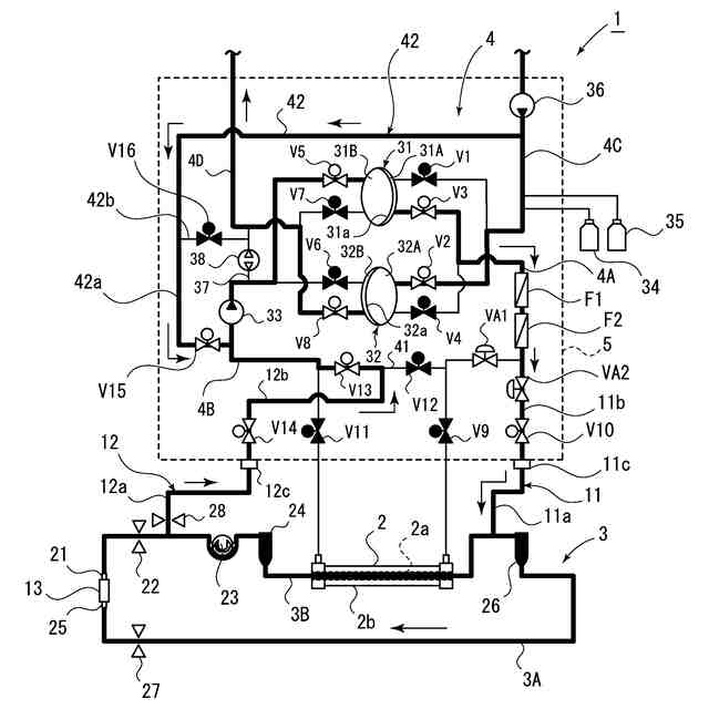
本実施形態にかかる透析装置の透析液回路および血液回路の回路図。
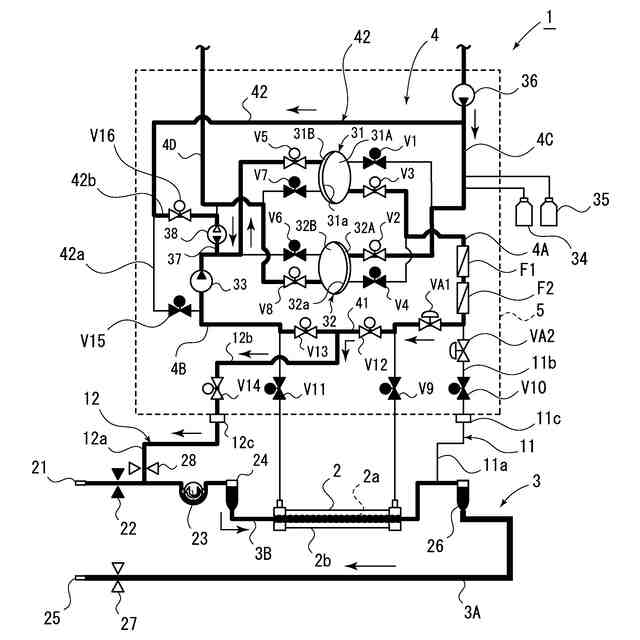
血液透析治療を行う場合の透析液の流れおよびプライミング作業の手順を説明する図。
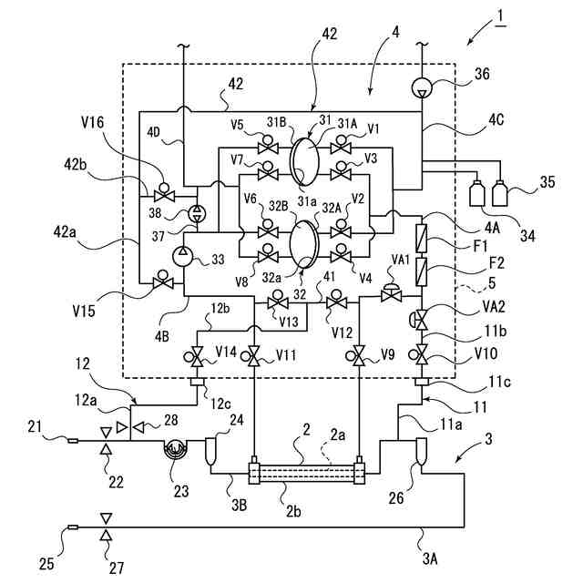
プライミング作業の手順を説明する図。
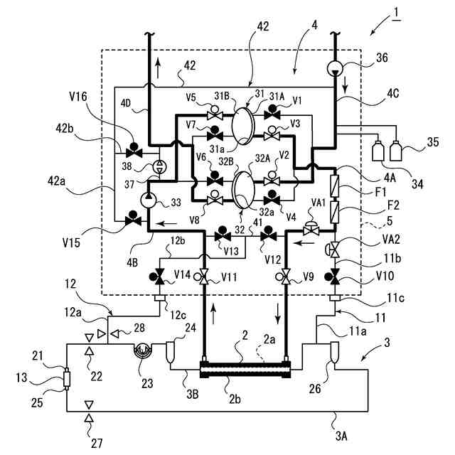
プライミング作業の手順を説明する図。
返血作業の手順を説明する図。
返血作業の手順を説明する図。
返血作業の手順を説明する図。
返血作業の手順を説明する図。
【発明を実施するための形態】
【0008】
以下、図示実施形態について本発明を説明すると、図1は血液浄化治療としての血液透析を行う、血液浄化装置としての透析装置1を示し、血液浄化器としての透析器2と、当該透析器2に接続されて血液を流通させる血液回路3と、上記透析器2に接続されて透析液を流通させる透析液回路4とを備えている。また上記透析装置1は図示しない制御手段によって制御されるようになっている。
上記透析装置1は上記透析液回路4を内蔵する破線で示した筐体5を備えており、透析治療を行う度に当該筐体5の外側に滅菌済みの新たな透析器2および血液回路3を装着するようになっている。
また透析治療の前には、図2~図4で示すように、装着した透析器2および血液回路3にプライミング液を流通させるプライミング作業を行うようになっている。なお本実施形態においては、プライミング液として透析液回路4を流通する透析液を使用するようになっている。
さらに透析治療の後には、図5~図8で示すように、透析治療の際に透析器2や血液回路3に残留した血液を患者に戻す返血作業を行うようになっている。
【0009】
上記透析器2は、筒状のハウジング2bの内部に無数の血液浄化膜としての中空糸2aを収容した構成を有しており、当該中空糸2aの内側が血液回路3に連通して血液が流通するとともに、ハウジング2b内の中空糸2aの外側が透析液回路4に連通して透析液が血液とは逆方向に流通するようになっており、透析治療時には中空糸2aの内側を流れる血液と外側を流れる透析液との間で血液透析が行われるようになっている。
【0010】
上記血液回路3は、透析器2から患者へと血液を返血する静脈通路3Aと、患者から脱血された血液を透析器2に向けて供給する動脈通路3Bとを備え、上記静脈通路3Aからは給液通路11を構成する補液通路11aが分岐して設けられ、動脈通路3Bからは給排通路12を構成する返血通路12aが分岐して設けられている。これらの通路は、シリコーンゴム等からなる弾性を有する樹脂製のチューブで構成している。
上記動脈通路3Bの一端は上記透析器2に接続され、当該一端と上記返血通路12aの分岐位置との間にドリップチャンバ24が設けられており、他端先端部には患者に穿刺される穿刺針を取り付けるコネクタ21が設けられている。
また筐体5の外側には、第1クランプ22、血液ポンプ23が設けられており、動脈通路3Bは先端部と返血通路12aの分岐位置との間に第1クランプ22が位置し、返血通路12aの分岐位置とドリップチャンバ24との間に血液ポンプ23が位置するように、筐体5の外側に設けた図示しない複数のホルダで保持されている。
このように、動脈通路3Bには第1クランプ22と血液ポンプ23が設けられており、第1クランプ22は動脈通路3Bを構成するチューブを挟持してチューブ内の液の流通を遮断するようになっている。
また上記血液ポンプ23は、動脈通路3Bを構成するチューブを複数のローラで順次しごいて送液する正逆回転可能なローラポンプからなり、正転により動脈通路3Bの先端部から透析器2に向けて送液するとともに、逆転により逆方向に送液することができ、停止させた際にはいずれかのローラがチューブを潰してチューブ内の液の流通を遮断するようになっている。
(【0011】以降は省略されています)
この特許をJ-PlatPat(特許庁公式サイト)で参照する
関連特許
澁谷工業株式会社
透析装置
1か月前
澁谷工業株式会社
透析装置
1か月前
澁谷工業株式会社
血液浄化装置
4日前
澁谷工業株式会社
容器搬送装置
2か月前
澁谷工業株式会社
無菌水製造システム
1か月前
個人
貼付剤
20日前
個人
簡易担架
2日前
個人
健康器具
9か月前
個人
鼾防止用具
8か月前
個人
歯茎みが品
9か月前
個人
腋臭防止剤
2日前
個人
短下肢装具
3か月前
個人
足踏み器具
9日前
個人
洗井間専家。
7か月前
個人
嚥下鍛錬装置
4か月前
個人
導電香
9か月前
個人
前腕誘導装置
4か月前
個人
排尿補助器具
1か月前
個人
白内障治療法
8か月前
個人
脈波測定方法
9か月前
個人
脈波測定方法
8か月前
個人
マッサージ機
9か月前
個人
矯正椅子
5か月前
個人
汚れ防止シート
1か月前
個人
アイマスク装置
2か月前
個人
ウォート指圧法
1か月前
個人
歯の修復用材料
4か月前
個人
バッグ式オムツ
5か月前
個人
胸骨圧迫補助具
2か月前
個人
腰ベルト
23日前
個人
ホバーアイロン
7か月前
個人
シャンプー
6か月前
個人
歯の保護用シール
5か月前
個人
美容セット
11日前
個人
排尿排便補助器具
4日前
三生医薬株式会社
錠剤
8か月前
続きを見る
他の特許を見る