TOP
|
特許
|
意匠
|
商標
特許ウォッチ
Twitter
他の特許を見る
公開番号
2025168836
公報種別
公開特許公報(A)
公開日
2025-11-12
出願番号
2024073634
出願日
2024-04-30
発明の名称
評価システム
出願人
株式会社プロテリアル
代理人
名古屋国際弁理士法人
主分類
G06T
7/00 20170101AFI20251105BHJP(計算;計数)
要約
【課題】複合材料におけるフィラーの分散状態を評価できる評価システムを提供すること。
【解決手段】評価システムは、入力部と、分量比率算出部と、予測範囲算出部と、判定部と、を備える。入力部は、ポリマー及びフィラーを含む複合材料に対し撮影を行って得られた画像、前記複合材料の配合、及び、前記撮影における撮影視野の面積Sを入力可能である。分量比率算出部は、前記画像から、前記フィラーの分量比率を算出する。予測範囲算出部は、前記配合、及び前記面積Sに基づき、前記複合材料における前記フィラーの分散を模擬したシミュレーションを行うことにより、前記フィラーの分量比率の予測範囲を算出する。判定部は、前記分量比率算出部が算出した前記フィラーの分量比率が、前記予測範囲の中にあるか否かを判定する。
【選択図】図1
特許請求の範囲
【請求項1】
ポリマー及びフィラーを含む複合材料に対し撮影を行って得られた画像、前記複合材料の配合、及び、前記撮影における撮影視野の面積Sを入力可能な入力部と、
前記画像から、前記フィラーの分量比率を算出するように構成された分量比率算出部と、
前記配合、及び前記面積Sに基づき、前記複合材料における前記フィラーの分散を模擬したシミュレーションを行うことにより、前記フィラーの分量比率の予測範囲を算出するように構成された予測範囲算出部と、
前記分量比率算出部が算出した前記フィラーの分量比率が、前記予測範囲の中にあるか否かを判定するように構成された判定部と、
を備える、
評価システム。
続きを表示(約 630 文字)
【請求項2】
ポリマー及びフィラーを含む複合材料に対し撮影を行って得られた画像、及び前記複合材料の配合を入力可能な入力部と、
前記画像から、前記フィラーの分量比率を算出するように構成された分量比率算出部と、
前記配合に基づき、前記複合材料における前記フィラーの分散を模擬したシミュレーションを行うことにより、前記フィラーの分量比率の予測範囲を算出するように構成された予測範囲算出部と、
前記分量比率算出部が算出した前記フィラーの分量比率が、前記予測範囲の中にあるか否かを判定するように構成された判定部と、
を備える、
評価システム。
【請求項3】
請求項1又は2に記載の評価システムであって、
前記予測範囲算出部は、前記シミュレーションを行うことにより、前記フィラーの分量比率のばらつきを算出し、前記ばらつきを用いて前記予測範囲を算出するように構成された、
評価システム。
【請求項4】
請求項3に記載の評価システムであって、
前記予測範囲は、前記複合材料の配合に基づき算出された前記フィラーの分量比率を中心とし、前記ばらつきに応じた広がりを有する範囲である、
評価システム。
【請求項5】
請求項1に記載の評価システムであって、
前記面積Sは10
4
μm
2
以下である、
評価システム。
発明の詳細な説明
【技術分野】
【0001】
本開示は評価システムに関する。
続きを表示(約 1,800 文字)
【背景技術】
【0002】
特許文献1には、集光イオンビームを用いて、高分子化合物を評価する方法が記載されている。特許文献2には、走査型電子顕微鏡を用いて複合材料を評価する方法が記載されている。複合材料は、フィラーとポリマーとを含む。複合材料のモルフォロジーを観察するため、走査型プローブ顕微鏡等で複合材料を撮影し、画像を得ることがある。
【先行技術文献】
【特許文献】
【0003】
特開2012-163480号公報
特開2021-148491号公報
【発明の概要】
【発明が解決しようとする課題】
【0004】
複合材料におけるフィラーの分散状態を評価する方法として、以下の方法が考えられる。複合材料に対し撮影を行い、画像を得る。得られた画像から、フィラーの分量比率(以下では第1の分量比率とする)を算出する。また、複合材料の配合から、フィラーの分量比率(以下では第2の分量比率とする)を算出する。第1の分量比率を、第2の分量比率と比較することで、フィラーの分散状態を評価する。
【0005】
複合材料に対する撮影を、走査型プローブ顕微鏡等を用いて行う場合、撮影視野の面積は小さい。そのため、フィラーの分散状態が良好である場合でも、第1の分量比率はばらつきを有する。そのため、第1の分量比率と、第2の分量比率との対比から、フィラーの分散状態を評価することは困難であった。
【0006】
本開示の1つの局面では、複合材料におけるフィラーの分散状態を評価できる評価システムを提供することが好ましい。
【課題を解決するための手段】
【0007】
本開示の1つの局面は、ポリマー及びフィラーを含む複合材料に対し撮影を行って得られた画像、前記複合材料の配合、及び、前記撮影における撮影視野の面積Sを入力可能な入力部と、前記画像から、前記フィラーの分量比率を算出するように構成された分量比率算出部と、前記配合、及び前記面積Sに基づき、前記複合材料における前記フィラーの分散を模擬したシミュレーションを行うことにより、前記フィラーの分量比率の予測範囲を算出するように構成された予測範囲算出部と、前記分量比率算出部が算出した前記フィラーの分量比率が、前記予測範囲の中にあるか否かを判定するように構成された判定部と、を備える、評価システムである。
【0008】
本開示の1つの局面である評価システムは、複合材料におけるフィラーの分散状態を評価できる。
本開示の別の局面は、ポリマー及びフィラーを含む複合材料に対し撮影を行って得られた画像、及び前記複合材料の配合を入力可能な入力部と、前記画像から、前記フィラーの分量比率を算出するように構成された分量比率算出部と、前記配合に基づき、前記複合材料における前記フィラーの分散を模擬したシミュレーションを行うことにより、前記フィラーの分量比率の予測範囲を算出するように構成された予測範囲算出部と、前記分量比率算出部が算出した前記フィラーの分量比率が、前記予測範囲の中にあるか否かを判定するように構成された判定部と、を備える、評価システムである。
本開示の別の局面である評価システムは、複合材料におけるフィラーの分散状態を評価できる。
【図面の簡単な説明】
【0009】
評価システムの構成を表すブロック図である。
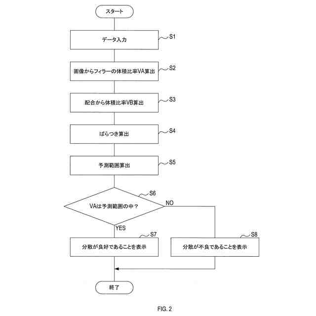
評価システムが実行する処理を表すフローチャートである。
複合材料におけるフィラーの分散を模擬したシミュレーションを表す説明図である。
図4Aは、複数のマスのそれぞれで算出された、模擬フィラーの数の集合の例を表す説明図である。図4Bは、複数のマスのそれぞれで算出された、模擬ポリマーの数の集合の例を表す説明図である。
【発明を実施するための形態】
【0010】
本開示の例示的な実施形態について図面を参照しながら説明する。
<第1実施形態>
1.評価システム1の構成
評価システム1の構成を、図1に基づき説明する。評価システム1は、入力部3と、制御部5と、表示部7と、を備える。入力部3は、データを入力可能な部材である。入力部3は、例えば、キーボード、マウス、タッチパネル、音声入力装置、スイッチ、ボタン等を備える。
(【0011】以降は省略されています)
この特許をJ-PlatPat(特許庁公式サイト)で参照する
関連特許
個人
詐欺保険
1か月前
個人
縁伊達ポイン
1か月前
個人
職業自動販売機
今日
個人
5掛けポイント
7日前
個人
RFタグシート
18日前
個人
地球保全システム
1か月前
個人
ペルソナ認証方式
15日前
個人
QRコードの彩色
1か月前
個人
自動調理装置
17日前
個人
情報処理装置
10日前
個人
為替ポイント伊達夢貯
2か月前
個人
冷凍食品輸出支援構造
2か月前
個人
残土処理システム
1か月前
個人
農作物用途分配システム
1か月前
個人
表変換編集支援システム
2か月前
個人
タッチパネル操作指代替具
24日前
個人
サービス情報提供システム
2日前
個人
知的財産出願支援システム
1か月前
個人
知財出願支援AIシステム
2か月前
個人
インターネットの利用構造
14日前
個人
携帯端末障害問合せシステム
23日前
個人
行動時間管理システム
2か月前
個人
AIによる情報の売買の仲介
2か月前
個人
パスワード管理支援システム
2か月前
個人
スケジュール調整プログラム
23日前
個人
食品レシピ生成システム
1か月前
株式会社キーエンス
受発注システム
1か月前
個人
海外支援型農作物活用システム
1か月前
日本精機株式会社
施工管理システム
2か月前
個人
パスポートレス入出国システム
2か月前
株式会社キーエンス
受発注システム
1か月前
個人
システム及びプログラム
1か月前
株式会社キーエンス
受発注システム
1か月前
個人
エリアガイドナビAIシステム
15日前
個人
AIキャラクター制御システム
2か月前
株式会社アジラ
進入判定装置
2か月前
続きを見る
他の特許を見る