TOP
|
特許
|
意匠
|
商標
特許ウォッチ
Twitter
他の特許を見る
公開番号
2025168571
公報種別
公開特許公報(A)
公開日
2025-11-07
出願番号
2025148700,2022561085
出願日
2025-09-09,2021-04-02
発明の名称
医療デバイスプラットフォーム
出願人
ボストン サイエンティフィック メディカル デバイス リミテッド
代理人
個人
,
個人
,
個人
主分類
A61B
1/00 20060101AFI20251030BHJP(医学または獣医学;衛生学)
要約
【課題】医療デバイスを対象内に配置すること、及びそのような医療デバイスの配置を制御する様々な医療システムを作動させること等に対処するデバイスを提供する。
【解決手段】本体と、本体から延在し、第1のデバイスが本体に対して吊り下げられて第1のデバイスを受け入れるように構成されるアームとを含む医療デバイス。本体に対するアームの並進は、本体に対して第1のデバイスを移動させるように構成される。医療デバイスは、本体から延在し、第2のデバイスが本体に対して吊り下げられて第2のデバイスを受け入れるように構成されたレシーバを含む。
【選択図】図3
特許請求の範囲
【請求項1】
長さとスロットとを有する本体と、
前記本体からこの本体の長さ方向と交差する方向に延在するアームであって、このアームの末端は入口開口部を有しており、この入口開口部は、第1のデバイスが前記本体に対して吊り下げられるように前記第1のデバイスを受け入れて保持するようにサイズ設定および成形されており、前記スロットは、前記アームが前記本体の長さ方向に並進可能に前記本体に結合されるように、前記アームを受け入れるように構成されており、前記スロット内での前記本体に対する前記アームの並進により、前記本体に対して前記第1のデバイスを移動させるように構成される、前記アームと、
前記本体の長さ方向における前記本体の末端部分に固定されるレシーバであって、第2のデバイスが前記本体に対して吊り下げられるように前記第2のデバイスを前記本体の前記末端部分又はその近傍で受け入れて保持するように構成された前記レシーバと、を含む医療デバイス。
続きを表示(約 990 文字)
【請求項2】
前記本体が、前記アームと係合し、前記本体に対する複数の位置のうちの1つに前記アームを固定するように構成されたロック機構を含む、請求項1に記載の医療デバイス。
【請求項3】
前記アームが、前記本体の長さ方向に対して平行でない1つまたは複数の横方向に沿って、前記本体の長さ方向に対して横方向に移動するように構成される請求項1または2に記載の医療デバイス。
【請求項4】
前記第1のデバイスが前記第2のデバイスに対して移動可能であるように、前記アームが前記レシーバとは独立して移動可能である、請求項1~3のいずれか1項に記載の医療デバイス。
【請求項5】
前記アームは、前記アームの前記入口開口部を含むルーメンを備えており、前記アームの少なくとも一部は、前記アームの前記ルーメン内の前記第1のデバイスの視覚化を許容するため、前記アームの前記ルーメンが見えるように透明である、請求項1~4のいずれか1項に記載の医療デバイス。
【請求項6】
前記アームが、前記本体に対して、前記本体の長さ方向に対して平行でない1つまたは複数の旋回可能な方向に旋回するように構成される、請求項1~5のいずれか1項に記載の医療デバイス。
【請求項7】
前記アームが、前記第1のデバイスを受け入れるようにサイズ設定および成形された出口開口部をさらに含む、請求項1~6のいずれか1項に記載の医療デバイス。
【請求項8】
前記入口開口部は、前記出口開口部に対して近位に配置されており、前記第1のデバイスに対してシールを形成するように構成される、請求項7に記載の医療デバイス。
【請求項9】
前記出口開口部は、前記レシーバに隣接して配置されて、前記第1のデバイスが前記アームから外側に前記第2のデバイスに向かって延在することを可能にするように構成される、請求項7または8に記載の医療デバイス。
【請求項10】
前記アームは、前記第1のデバイスが前記入口開口部で前記アームに固定されるとき、前記出口開口部に対する前記第1のデバイスの軸方向の並進を可能にするように構成される、請求項7~9のいずれか1項に記載の医療デバイス。
(【請求項11】以降は省略されています)
発明の詳細な説明
【技術分野】
【0001】
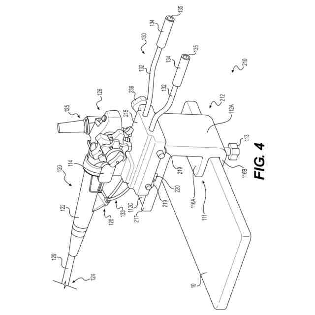
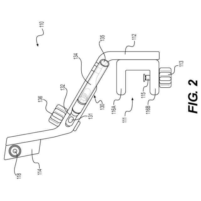
本開示の様々な態様は、一般に、医療システム、デバイス、および関連する方法に関する。他の態様の中でも、本開示の例は、とりわけ、ハンドルアセンブリを介して手術中に対象内に1つまたは複数の医療デバイスを位置決めおよび/または制御するためのシステム、デバイス、および関連する方法に関する。
続きを表示(約 2,800 文字)
【背景技術】
【0002】
技術の発展により、医療システム、デバイス、および方法のユーザは、対象に対してますます複雑な手術を実行できるようになった。他の外科手術の中でも、内視鏡検査、腹腔鏡検査、および胸腔鏡検査などの低侵襲手術の分野における1つの課題は、手術中の医療デバイスの制御に関連する。そのような医療デバイスを対象内に配置することは困難であり得る。加えて、そのような医療デバイスの配置を制御する様々な医療システムを作動させることは、常識に反するか、理解することが複雑であり得る。配置のために対象内への他のデバイスのアクセスを容易にする医療デバイスの制限により、手術が長引いたり、その有効性が制限されたり、および/またはデバイスの故障または破損により対象が負傷したりし得る。
【発明の概要】
【発明が解決しようとする課題】
【0003】
これらの困難または他の関連する問題のうちの1つまたは複数に対処するデバイスおよび方法が必要とされている。
【課題を解決するための手段】
【0004】
他の態様の中でも、本開示の態様は、とりわけ、機器の位置決めを容易にする感覚的なハンドルアセンブリを有する医療機器を用いて標的治療部位にアクセスするためのシステム、デバイス、および方法に関連する。本明細書に開示された態様の各々は、他の開示された態様のいずれかに関連して説明された特徴の1つまたは複数を含み得る。
【0005】
一例によれば、医療デバイスは、本体と、本体から延在し、第1のデバイスを受け入れて第1のデバイスが本体に対して吊り下げられる(suspended)ように構成されたアームとを含む。本体に対するアームの並進は、本体に対して第1のデバイスを移動させるように構成される。医療デバイスは、本体から延在し、第2のデバイスを受け入れて、第2のデバイスが本体に対して吊り下げられるように構成されたレシーバを含む。
【0006】
本明細書に記載の医療デバイスのいずれも、以下の特徴のいずれかを含み得る。本体は、アームを受け入れるように構成されたスロットを含み、スロット内でアームが移動可能である。本体は、アームと係合し、本体に対する複数の位置のうちの1つにアームを固定するように構成されたロック機構を含む。アームは、1つまたは複数の横方向に沿って、本体に対して横方向に移動するように構成される。アームは、第1のデバイスが第2のデバイスに対して移動可能であるように、レシーバとは独立して移動可能である。アームの少なくとも一部は、アームのルーメンが見えるように透明であり、アームのルーメン内の第1のデバイスを視覚化できるようにする。アームは、本体に対して1つまたは複数の旋回可能な方向に旋回するように構成される。アームは、第1のデバイスを受け入れるようにサイズ設定および成形された入口開口部および出口開口部を含む。入口開口部は、出口開口部に対して近位に配置されて、第1のデバイスに対してシールを形成するように構成される。出口開口部は、レシーバに隣接して配置されて、第1のデバイスがアームから外側に第2のデバイスに向かって延在することを可能にするように構成される。アームは、第1のデバイスが入口開口部でアームに固定されるとき、出口開口部に対する第1のデバイスの軸方向の並進を可能にするように構成される。補助面と係合するように構成される第2の本体をさらに含む医療デバイス。第2の本体は、1つまたは複数のレールを含み、本体は、本体が第2の本体に対して移動可能であるように、第2の本体の1つまたは複数のレールに移動可能に連結された1つまたは複数のホイールを含む。アームおよびレシーバは、本体の1つまたは複数のホイールが1つまたは複数のレールに沿って並進することに応じて、第2の本体に対して移動可能である。アームは、第1のデバイスおよび第2のデバイスが第2の本体に対して移動可能であるように、レシーバとともに移動可能である。
【0007】
別の例によれば、医療デバイスは、近位端および遠位端によって画定される本体を有するプラットフォームを含む。医療デバイスは、本体に移動可能に連結され、補助面に対して第1のデバイスを吊り下げるように構成されたアームを含む。第1のデバイスは、本体に沿ったアームの並進に応じて、近位端と遠位端との間で移動可能である。医療デバイスは、本体の遠位端にレシーバを含み、補助面に対して第2のデバイスを吊り下げるように構成される。第2のデバイスは遠位端に固定される。
【0008】
本明細書に記載の医療デバイスのいずれも、以下の特徴のいずれかを含み得る。アームは、第1のデバイスが第2のデバイスに対して移動可能であるように、レシーバとは独立して移動可能である。アームは、第1のデバイスを受け入れるようにサイズ設定および成形された入口開口部および出口開口部を含む。入口開口部は、第1のデバイスに対してシールを形成するように構成され、出口開口部は、第1のデバイスがアームから外側に第2のデバイスに向かって延在することを可能にするように構成される。アームは、第1のデバイスが入口開口部でアームに固定されるとき、出口開口部に対する第1のデバイスの軸方向の並進を可能にするように構成される。医療デバイスは、補助面と係合するように構成された第2の本体をさらに含む。本体は、本体が第2の本体に対して移動可能であるように、第2の本体の1対のレールに移動可能に連結された1対のホイールを含む。アームおよびレシーバは、一対のレールに沿った一対のホイールの並進に応じて、第2の本体に対して移動可能である。
【0009】
別の例によれば、医療デバイスは、固定本体と、固定本体に連結されて固定本体に対して移動可能な可動本体と、可動本体から延在して第1のデバイスを受け入れるように構成されたアームとを含む。第1のデバイスは、固定本体に対するアームと可動本体との並進に応じて、固定本体に対して移動可能である。医療デバイスは、可動本体から延在して第2のデバイスを受け入れるように構成されたレシーバを含む。アームおよびレシーバは、固定本体に沿った可動本体の並進に応じて、固定本体に対して移動可能である。
【0010】
前述の一般的な説明および以下の詳細な説明の両方が、例示的かつ説明的なものに過ぎず、特許請求される本発明を限定するものではないことが理解されよう。
本明細書に組み込まれ、その一部を構成する添付の図面は、本開示の例示的な態様を示し、説明とともに、本開示の原理を解釈するのに役立つ。
【図面の簡単な説明】
(【0011】以降は省略されています)
この特許をJ-PlatPat(特許庁公式サイト)で参照する
関連特許
個人
貼付剤
14日前
個人
短下肢装具
3か月前
個人
足踏み器具
3日前
個人
排尿補助器具
27日前
個人
前腕誘導装置
3か月前
個人
嚥下鍛錬装置
4か月前
個人
矯正椅子
5か月前
個人
汚れ防止シート
1か月前
個人
バッグ式オムツ
4か月前
個人
歯の修復用材料
4か月前
個人
ウォート指圧法
25日前
個人
胸骨圧迫補助具
2か月前
個人
腰ベルト
17日前
個人
アイマスク装置
2か月前
個人
歯の保護用シール
5か月前
個人
湿布連続貼り機。
2か月前
個人
陣痛緩和具
4か月前
個人
美容セット
5日前
個人
哺乳瓶冷まし容器
3か月前
個人
性行為補助具
3か月前
株式会社八光
剥離吸引管
5か月前
株式会社コーセー
化粧料
24日前
個人
治療用酸化防御装置
2か月前
株式会社大野
骨壷
4か月前
個人
エア誘導コルセット
2か月前
株式会社ニデック
検眼装置
4か月前
個人
こむら返り応急治し具
3日前
個人
高気圧環境装置
5か月前
株式会社GSユアサ
歩行器
5か月前
株式会社ニデック
眼科装置
1か月前
株式会社ニデック
眼科装置
1か月前
個人
シリンダ式歩行補助具
3か月前
個人
手指運動ツール
2か月前
株式会社松風
口腔用組成物
4か月前
個人
形見の製造方法
4か月前
個人
精力増強キット
1か月前
続きを見る
他の特許を見る