TOP
|
特許
|
意匠
|
商標
特許ウォッチ
Twitter
他の特許を見る
公開番号
2025168502
公報種別
公開特許公報(A)
公開日
2025-11-07
出願番号
2025146297,2023027662
出願日
2025-09-03,2023-02-24
発明の名称
紙幣処理装置
出願人
旭精工株式会社
代理人
主分類
B65H
29/58 20060101AFI20251030BHJP(運搬;包装;貯蔵;薄板状または線条材料の取扱い)
要約
【課題】奥行き方向のサイズの小型化を可能とすると共に搬送路のメンテナンスが容易な紙幣処理装置を提供する。
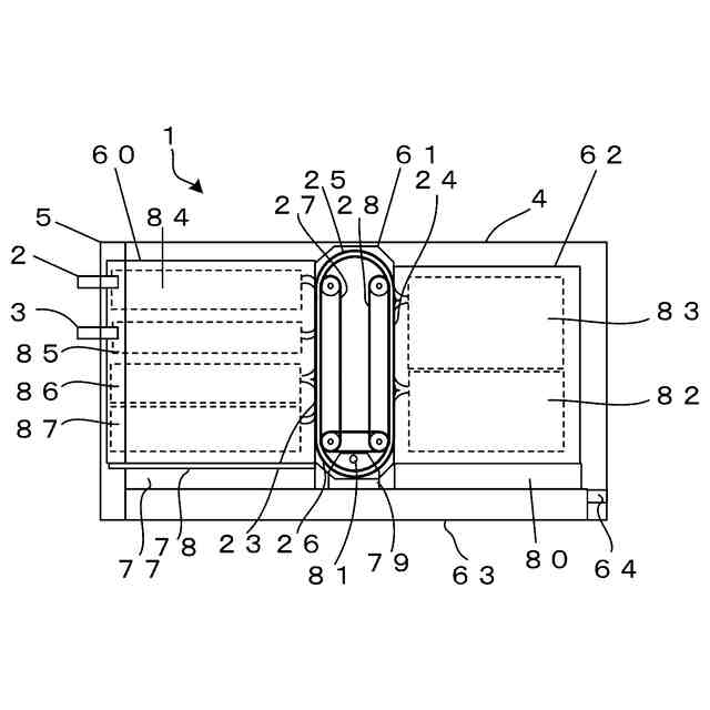
【解決手段】紙幣処理装置1は、紙幣を周回搬送可能な周回搬送路を備える。周回搬送路は、直線状の第1搬送路23と、第1搬送路23に対向する直線状の第2搬送路24が、上部において第1湾曲搬送路25によって、下部において第2湾曲搬送路26によって接続されている。周回搬送路を側面視で角丸長方形状にすることで、紙幣処理装置1の奥行き方向のサイズを小さくする。また、直線状の第1搬送路23と第2搬送路24は、周回搬送ユニット61とそれに対向する前部ユニットと後部ユニットによって形成されている。前部ユニットと周回搬送ユニット61、周回搬送ユニット61と後部ユニットを接離可能に配置することで、紙幣の搬送路が露出可能に構成される。
【選択図】図1
特許請求の範囲
【請求項1】
入金口から受け入れた紙幣を金種毎に対応する収納ユニットに収納すると共に、前記収納ユニットから前記紙幣を繰り出して出金口から排出する紙幣処理装置であって、
筐体に収納されるベースと、
前記ベースに対して固定された後部ユニットと、
前記ベースに対して長手方向の一方の端部が自由端として揺動可能に配置された周回搬送ユニットと、
前記ベースに対してスライド可能に配置された前部ユニットと、を有し、
前記前部ユニットと前記周回搬送ユニットは、前記前部ユニットをスライドさせることによって離隔と接続が可能であり、前記前部ユニットと前記周回搬送ユニットを、離隔することで第1搬送路を露出させ、接続することによって前記紙幣が搬送可能な直線状の第1搬送路を形成し、
前記周回搬送ユニットと前記後部ユニットは、前記周回搬送ユニットを揺動させることによって離隔と接続が可能であり、離隔することで第2搬送路を露出させ、接続することによって前記紙幣が搬送可能な直線状の第2搬送路を形成し、
前記第1搬送路と前記第2搬送路は平行に配置されており、
前記周回搬送ユニットは、前記第1搬送路と前記第2搬送路のそれぞれの端部を接続する湾曲搬送路を有し、前記前部ユニットと前記周回搬送ユニットと前記後部ユニットを連結させた場合に前記紙幣の搬送が可能となることを特徴とする紙幣処理装置。
続きを表示(約 500 文字)
【請求項2】
前記第1搬送路と前記第2搬送路は同寸であることを特徴とする請求項1に記載の紙幣処理装置。
【請求項3】
前記前部ユニットは、少なくとも、前記入金口と前記出金口が配置され、
前記後部ユニットは、少なくとも、一つの前記収納ユニットが配置されていることを特徴とする請求項1に記載の紙幣処理装置。
【請求項4】
前記周回搬送ユニットは、前記前部ユニットに対向する側に配置された第1の回転体と、前記後部ユニットに対向する側に配置された第2の回転体を有し、
前記前部ユニットは、前記第1の回転体に対向する第3の回転体を有し、
前記後部ユニットは、前記第2の回転体に対向する第4の回転体を有し、
前記周回搬送ユニットと前記前部ユニットが接続されている場合、前記第1の回転体と前記第3の回転体によって前記紙幣が挟まれて搬送され、
前記周回搬送ユニットと前記後部ユニットが接続されている場合、前記第2の回転体と前記第4の回転体によって前記紙幣が挟まれて搬送されることを特徴とする請求項1から請求項3の何れか1項に記載の紙幣処理装置。
発明の詳細な説明
【技術分野】
【0001】
本発明は、紙幣を入出する紙幣処理装置に関する。
続きを表示(約 3,100 文字)
【背景技術】
【0002】
紙幣処理装置は、例えば、紙幣を受け入れ、格納、枚数のカウント、排出する装置である。
【0003】
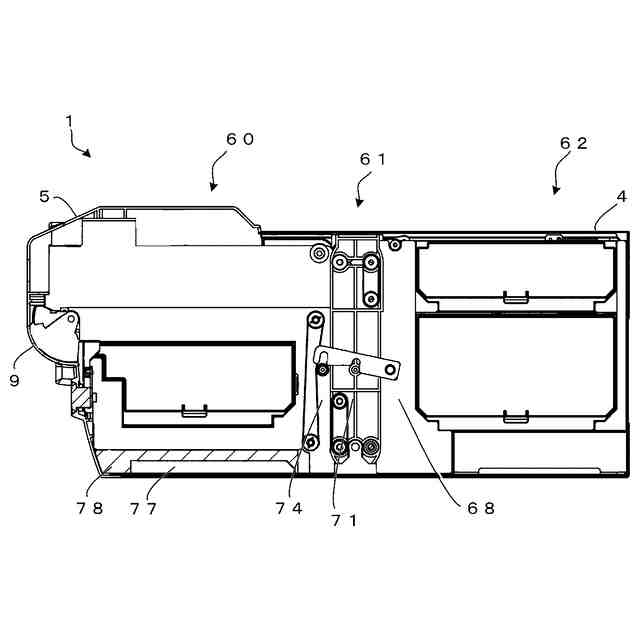
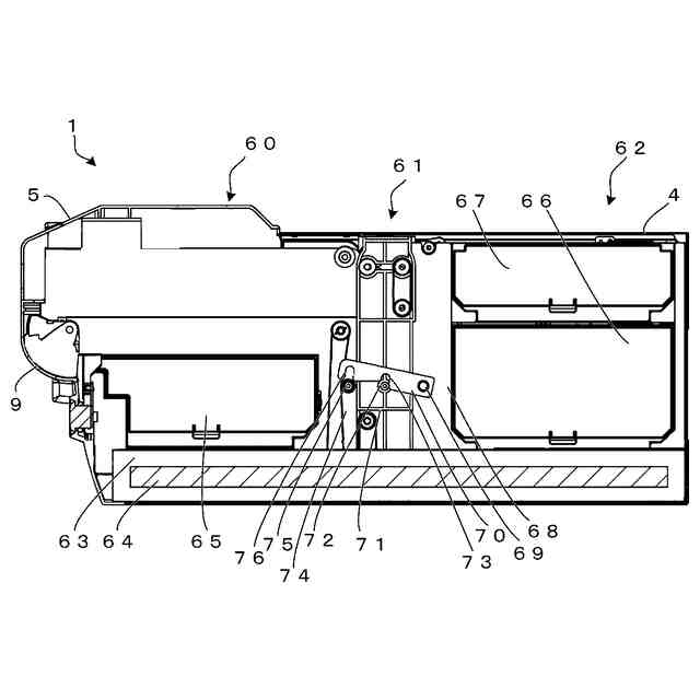
紙幣処理装置は、紙幣を内部に受け入れる入金口、紙幣を外部に排出する出金口、紙幣を搬送する搬送路、紙幣の金種を識別する識別部、紙幣を金種毎に振り分ける振分部、金種毎に紙幣を格納または格納した紙幣の繰り出しを行う紙幣格納装置を備える。この様な紙幣処理装置は、入金口から紙幣を入金し、搬送路の途中に配置された識別部によって紙幣の金種を識別する。金種が識別された紙幣は、搬送路に沿って配置された振分部によって金種毎に振り分けられ、金種毎に紙幣格納装置に格納される。紙幣を出金する場合、紙幣処理装置は、指示された金種および枚数の紙幣を紙幣格納装置から繰り出し、出金口に搬送し、出金する。紙幣処理装置は、両替機や釣銭機に使用される。
【0004】
例えば、特許第6357382号公報には、紙幣を周回させて搬送する搬送路を備え、その搬送路に紙幣受入口、紙幣取出口、紙幣格納部が接続された構成の紙幣処理装置が開示されている。また、この紙幣処理装置は、ケースに覆われ、ケースから内部の装置を引き出すことのできる機構が備わり、作業員が装置内部にアクセスし、メンテナンスなどの作業を可能としている。
【0005】
従来の紙幣処理装置では、紙幣受入口のユニットと紙幣取出口のユニットが、装置の手前側に配置されている。また、紙幣格納部のユニットが、装置の奥側に配置されている。円筒状の紙幣の周回搬送部を備えた搬送部が装置の中央に配置されている。紙幣は、周回搬送部において周回することが可能である。各ユニットは、紙幣の搬送部に接続され、搬送部から各ユニットに紙幣が出入りする。
【先行技術文献】
【特許文献】
【0006】
特許第6357382号公報
【発明の概要】
【発明が解決しようとする課題】
【0007】
紙幣処理装置は、机上などの狭い場所でも使用できるように、小型であり、メンテナンス作業が容易にできる装置が望まれている。
【0008】
紙幣の搬送部の内部に格納されている周回搬送部が円筒形であるため、装置の奥行き方向のサイズが大きくなる。また、搬送部には、周回搬送部と紙幣格納部などの機能ユニットとを接続する接続搬送部が含まれるため、装置の奥行き方向のサイズが大きくなる。また、機能ユニットに接続される接続搬送路は、曲がり具合がきつい搬送路と曲がり具合が緩い搬送路が混在している。曲がり具合がきつい搬送路は、曲がり具合が緩い搬送路に比べて、ジャムを起こす可能性が高くなる。また、周回搬送部が円筒形状であるため、接続搬送路を配置するための十分なスペースを得られず、曲がり具合がきつい接続搬送路になってしまったと考えられる。また、周回搬送部が搬送部の内部に格納されているので、搬送路は、メンテナンス性が悪いと考えられる。
【0009】
本発明は、紙幣を周回させる周回搬送路を小型化することで、紙幣処理装置の奥行き方向のサイズを小型化にすると共に、好適に紙幣を搬送できる紙幣処理装置を提供する。
【課題を解決するための手段】
【0010】
本発明の紙幣処理装置は、入金口から受け入れた紙幣を金種毎に対応する収納ユニットに収納すると共に、前記収納ユニットから前記紙幣を繰り出して出金口から排出する紙幣処理装置であって、筐体に収納されるベースと、前記ベースに対して固定された後部ユニットと、前記ベースに対して長手方向の一方の端部が自由端として揺動可能に配置された周回搬送ユニットと、前記ベースに対してスライド可能に配置された前部ユニットと、を有し、前記前部ユニットと前記周回搬送ユニットは、前記前部ユニットをスライドさせることによって離隔と接続が可能であり、前記前部ユニットと前記周回搬送ユニットを、離隔することで第1搬送路を露出させ、接続することによって前記紙幣が搬送可能な直線状の第1搬送路を形成し、前記周回搬送ユニットと前記後部ユニットは、前記周回搬送ユニットを揺動させることによって離隔と接続が可能であり、離隔することで第2搬送路を露出させ、接続することによって前記紙幣が搬送可能な直線状の第2搬送路を形成し、前記第1搬送路と前記第2搬送路は平行に配置されており、前記周回搬送ユニットは、前記第1搬送路と前記第2搬送路のそれぞれの端部を接続する湾曲搬送路を有し、前記前部ユニットと前記周回搬送ユニットと前記後部ユニットを連結させた場合に前記紙幣の搬送が可能となることを特徴とする。
本発明の別の態様の紙幣処理装置は、紙幣を受け入れる入金口と、受け入れた前記紙幣を一枚ずつに分離する分離部と、一枚ずつに分離された前記紙幣の金種を識別する識別センサーとを有する入金識別ユニットと、前記紙幣を格納する複数の格納ユニットと、前記紙幣を外部に排出する出金口を有する出金ユニットと、前記紙幣を周回可能に搬送する周回搬送路と、を有し、前記周回搬送路は、直線状の第1搬送路と、前記第1搬送路に対向して配置された直線状の第2搬送路と、前記第1搬送路の一方側の端部と、前記第2搬送路の一方側の端部を接続すると共に湾曲部を備える第1湾曲搬送路と、前記第1搬送路の他方側の端部と、前記第2搬送路の他方側の端部を接続すると共に湾曲部を備える第2湾曲搬送路と、を有し、前記入金識別ユニットにおける前記紙幣の搬送通路と前記格納ユニットにおける前記紙幣の搬送通路と前記出金ユニットにおける前記紙幣の搬送通路は、前記周回搬送路の直線状の部分である前記第1搬送路または前記第2搬送路の何れかに接続され、前記第1搬送路は、前記紙幣の一方の面に接触し、紙幣を支持する第1ベルトと、前記第1ベルトの方向に付勢される第1ピンチローラーを備え、前記紙幣は、前記第1ベルトと前記第1ピンチローラーに挟まれると共に搬送され、前記第2搬送路は、前記紙幣の前記一方の面に接触し、紙幣を支持する第2ベルトと、前記第2ベルトの方向に付勢される第2ピンチローラーを備え、前記紙幣は、前記第2ベルトと前記第2ピンチローラーに挟まれると共に搬送され、前記入金識別ユニットと前記出金ユニットとを含む前部ユニットと、前記第1湾曲搬送路と、前記第2湾曲搬送路と、前記紙幣の前記一方の面を支持する前記第1ベルトと前記第2ベルトを含む周回搬送ユニットと、少なくとも一つの前記格納ユニットを含む後部ユニットと、が連結可能に分かれて配置されたベースフレームを有し、前記前部ユニットには前記第1ピンチローラーが配置され、前記周回搬送ユニットには前記第1ベルトが配置され、前記前部ユニットと前記周回搬送ユニットを連結することで、前記第1ピンチローラーと前記第1ベルトが接触する前記第1搬送路を構成し、前記後部ユニットには前記第2ピンチローラーが配置され、前記周回搬送ユニットには前記第2ベルトが配置され、前記後部ユニットと前記周回搬送ユニットを連結することで、前記第2ピンチローラーと前記第2ベルトが接触する前記第2搬送路を構成し、前記前部ユニットは、前記周回搬送ユニットに対して接離可能に移動可能であり、前記周回搬送ユニットは、前記後部ユニットに対して接離可能に移動可能であることを特徴とする。
【発明の効果】
(【0011】以降は省略されています)
この特許をJ-PlatPat(特許庁公式サイト)で参照する
関連特許
旭精工株式会社
紙葉類処理装置および紙葉類処理方法
1か月前
旭精工株式会社
紙幣処理装置
3日前
旭精工株式会社
管理システム
13日前
旭精工株式会社
電子マネーチャージシステム
11日前
旭精工株式会社
コインホッパおよびコイン処理装置
1か月前
旭精工株式会社
精算システム、精算システムの中継器
4か月前
個人
収容箱
3か月前
個人
コンベア
5か月前
個人
容器
9か月前
個人
段ボール箱
7か月前
個人
段ボール箱
7か月前
個人
ゴミ収集器
7か月前
個人
角筒状構造体
6か月前
個人
土嚢運搬器具
9か月前
個人
バンド
2か月前
個人
宅配システム
7か月前
個人
楽ちんハンド
5か月前
個人
閉塞装置
10か月前
個人
廃棄物収容容器
3か月前
個人
お薬の締結装置
6か月前
個人
棒状体収容容器
3日前
個人
包装容器
1か月前
個人
コード類収納具
8か月前
株式会社コロナ
梱包材
6か月前
個人
把手付米袋
5か月前
個人
蓋閉止構造
4か月前
個人
蓋閉止構造
4か月前
株式会社和気
包装用箱
9か月前
株式会社和気
包装用箱
13日前
個人
貯蔵サイロ
7か月前
個人
ゴミ処理機
9か月前
株式会社バンダイ
物品
1か月前
個人
積み重ね用補助具
3か月前
株式会社KY7
封止装置
3か月前
三甲株式会社
容器
17日前
個人
コード折り畳み器具
4か月前
続きを見る
他の特許を見る