TOP
|
特許
|
意匠
|
商標
特許ウォッチ
Twitter
他の特許を見る
公開番号
2025168316
公報種別
公開特許公報(A)
公開日
2025-11-07
出願番号
2025072419
出願日
2025-04-24
発明の名称
バルブ装置、成形機及びバルブ装置の制御方法
出願人
ハインリッヒ・ワグナー・シントー・マシーネンファブリック・ゲーエムベーハー
代理人
個人
,
個人
,
個人
主分類
F16K
31/42 20060101AFI20251030BHJP(機械要素または単位;機械または装置の効果的機能を生じ維持するための一般的手段)
要約
【課題】本発明は、バルブロッドと、バルブロッドの一端に配置され、消費側への圧縮空気供給を目的とする閉鎖要素と、を備えた逆止弁機構を有するバルブ装置を提供する。
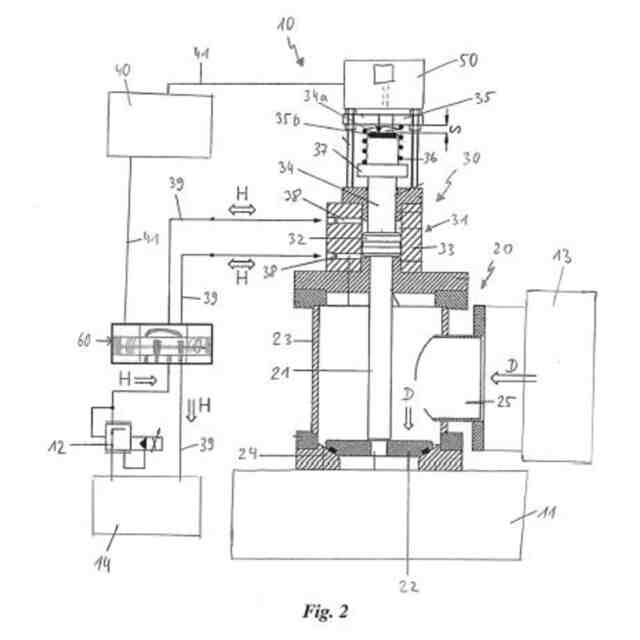
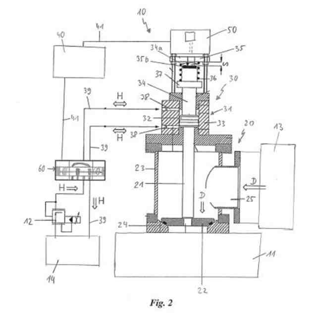
【解決手段】バルブ装置はさらに、油圧シリンダを有する作動機構を有し、油圧シリンダのピストンが、バルブロッドに堅固に接続され、逆止弁機構を作動させるために前記油圧シリンダのシリンダケーシング内で油圧によって駆動される。ピストン運動を制御するための制御機構と、ピストン位置を検出するための測定機構とが含まれ、ピストン位置の関数として制御機構によって制御可能である比例弁機構が、流体伝導式に前記油圧シリンダに接続されている。本発明はさらに、成形機、及び、バルブ装置を制御するための方法に関する。
【選択図】図2
特許請求の範囲
【請求項1】
バルブロッド(21)と、前記バルブロッド(21)の一端に配置され、消費側(11)への圧縮空気供給を目的とする閉鎖要素(22)と、を備えた逆止弁機構(20)を有するバルブ装置(10)であって、
さらに、油圧シリンダ(31)を有する作動機構(30)を有し、前記油圧シリンダ(31)のピストン(32)が、前記バルブロッド(21)に堅固に接続され、前記逆止弁機構(20)を作動させるために前記油圧シリンダ(31)のシリンダケーシング(33)内で油圧によって駆動されるバルブ装置において、
ピストン運動を制御するための制御機構(40)と、ピストン位置を検出するための測定機構(50)と、が含まれ、ピストン位置の関数として前記制御機構(40)によって制御可能である比例弁機構(60)が、流体伝導式に前記油圧シリンダ(31)に接続されていることを特徴とするバルブ装置(10)。
続きを表示(約 960 文字)
【請求項2】
前記測定機構(50)が、ピストン位置を検出するために、レーザー三角測量センサ及び/又はタッチレス経路センサ、好ましくは磁歪経路センサ、及び/又は超音波距離センサを有することを特徴とする、請求項1に記載のバルブ装置。
【請求項3】
前記比例弁機構(60)が、4/4比例弁として構成されていることを特徴とする、請求項1又は2に記載のバルブ装置。
【請求項4】
前記比例弁機構(60)のバルブピストン(61)が、電流制御されることによって変位可能であることを特徴とする、請求項1から3のいずれか一項に記載のバルブ装置。
【請求項5】
前記制御機構(40)が、PID制御器を有することを特徴とする、請求項1から4のいずれか一項に記載のバルブ装置。
【請求項6】
前記ピストン(32)が複動式であることを特徴とする、請求項1から5のいずれか一項に記載のバルブ装置。
【請求項7】
ピストンロッド(34)が、前記ピストン(32)上で、前記バルブロッド(21)に対向し、前記バルブロッドの軸と面一になるように配置され、前記バルブロッド(21)及び前記ピストンロッド(34)は、異なる直径を有することを特徴とする、請求項1から6のいずれか一項に記載のバルブ装置。
【請求項8】
前記ピストン(32)の運動(s)が、不動の、好ましくは調整可能である停止要素(35)によって制限されることを特徴とする、請求項1から7のいずれか一項に記載のバルブ装置。
【請求項9】
ピストンロッド(34)が、前記ピストン(32)上で、前記バルブロッド(21)に対向し、前記バルブロッドの軸と面一になるように配置され、前記ピストンロッド(34)の、閉鎖要素(21)から離れる方向を向いた自由な前面(34a)は、停止要素(35)に当接することを特徴とする、請求項1から8のいずれか一項に記載のバルブ装置。
【請求項10】
停止ダンパ(35b)が、ピストンロッド(32)の自由な前面(34a)及び/又は停止要素(35)に設けられていることを特徴とする、請求項9に記載のバルブ装置。
(【請求項11】以降は省略されています)
発明の詳細な説明
【技術分野】
【0001】
本発明は、バルブロッドと、バルブロッドの一端に配置され、消費側への圧縮空気供給を目的とする閉鎖要素と、を備えた逆止弁機構を有するバルブ装置に関し、バルブ装置はさらに、油圧シリンダを有する作動機構を有し、油圧シリンダのピストンはバルブロッドに堅固に接続され、逆止弁機構を作動させるために油圧シリンダのシリンダケーシング内で油圧によって駆動される。本発明はまた、成形機、及び、バルブ装置を制御するための方法に関する。
続きを表示(約 3,600 文字)
【背景技術】
【0002】
成形機で成形材料、例えば鋳物砂を圧縮し、成形材料から鋳型を製造する場合、及び他の類似の用途の場合、通常、消費側、例えば成形機の鋳型枠に圧縮空気を供給する必要がある。しかしながら、成形材料を空気圧によって圧縮するための圧縮空気は、成形材料に急激に加えるべきではない。なぜなら、例えば鋳物砂を圧縮する場合、鋳物砂を全体にわたって均一に圧縮することができないからである。他方、消費側に供給される圧縮空気の必要圧力に達するまでに時間がかかりすぎると、対応する機構の働きが非効率になる。作動機構を使用して閉鎖又は開放され得る空気圧逆止弁は、圧縮空気を効率的に適用するために定期的に供給される。逆止弁の閉鎖要素は、圧縮空気で満たされ得るシリンダケーシングを閉鎖又は開放することができ、逆止弁が開放されると、圧縮空気は消費側の方向に流れる。逆止弁は、例えば油圧によって動作する作動機構を用いて作動させることができる。このような一般的な作動機構は通常、逆止弁に接続された油圧式可動シリンダを作動させるために、例えば4/2方向弁のような離散的に切り替わる方向弁を有している。言い換えると、これは、一般的に、離散的に制御される油圧シリンダによって、空気流を消費側に向けることができることを意味する。ピストンストロークと逆止弁の離散的な開放時間との両方が一般的に手動で設定され、再調整されることによって、生成に比較的費用を要する圧縮空気が過剰に消費される可能性がある。加えて、油圧シリンダを制御する方弁の離散的な切り替え挙動は、例えば成形材料の圧縮を最適化するために、空気流を能動的に調節及び制御する可能性を提供しない。これによって、消費側への圧縮空気供給の精度及び正確さが著しく低下し、エネルギー損失が増大する。
【発明の概要】
【発明が解決しようとする課題】
【0003】
したがって、本発明の目的は、消費側への圧縮空気流の供給を能動的に調節及び制御し、エネルギー効率の増大を確実にすることができるようなバルブ装置と、バルブ装置を制御するための方法と、を考案することにある。さらに、本発明に係る装置及び/又は方法は、実施、製造及び使用が容易であるべきである。さらに、バルブ装置及び/又は方法は、バルブ装置又は方法が使用される、標準的に要求される設置の現在の必要サイクル時間を大幅に増加させることなく、実施可能であるべきである。
【課題を解決するための手段】
【0004】
この目的を達成するために、独立請求項1の特徴を有する装置が提案される。さらに、そのようなバルブ装置を有する成形機が提案される。請求項14の特徴を有する逆止弁機構を制御するための方法も提案される。
【0005】
本発明に係るバルブ装置は、バルブロッドと、バルブロッドの一端に配置され、例えば圧縮されるべき成形材料を含む鋳型枠などの消費側への圧縮空気供給を目的とする閉鎖要素と、を備えた逆止弁機構を有する。加えて、バルブ装置は、油圧シリンダを有する作動機構を有し、油圧シリンダのピストンは、バルブロッドに堅固に接続され、逆止弁機構を作動させるために油圧シリンダのシリンダケーシング内で油圧によって駆動される。言い換えると、ピストンは、油圧による加圧を受けることによってシリンダケーシング内で動かされ得る。バルブロッドが油圧シリンダのピストンに堅固に接続されていることによって、ピストンが動かされると、閉鎖要素が取り付けられたバルブロッドも動かされ、消費側への圧縮空気供給を可能にするか、又は遮断することができる。閉鎖要素は、例えばバルブコーン又はバルブディスクとして構成され得る。閉鎖要素は、閉鎖要素が消費側への圧縮空気供給が遮断された場合に弁座に載置され、消費側を圧縮空気供給に対して密閉するように、弁座と相互作用することができる。閉鎖要素は、逆止弁機構の閉鎖方向への圧縮空気流の負荷を受け得る。バルブロッドは、好ましくは、弁座に対向する側の閉鎖要素に設けられる。バルブロッドの長手方向軸は、好ましくはピストンの移動方向に対して平行に延在している。
【0006】
本発明に係るバルブ装置は、バルブ装置が、ピストン運動を制御するための制御機構と、ピストン位置を検出するための測定機構と、を有することを特徴とする。ピストン運動は、好ましくはピストンストローク運動であってよい。ピストンを逆止弁機構の閉鎖要素に接続することによって、逆止弁機構の位置、したがって消費側への圧縮空気供給が、ピストン運動を制御することによって調節され得る。本発明の関連において、ピストン位置を決定する測定機構が、ピストン運動を制御するために有利であることが認識されている。ピストン位置はまた、ストローク長さとも呼ばれるピストンストローク、及び/又は逆止弁機構の閉鎖要素の位置を決定するためにも用いられ得る。
【0007】
さらに、ピストン位置の関数として制御機構によって制御可能である比例弁機構が、流体伝導式に油圧シリンダに接続されていることが、本発明の関連において不可欠であると認識されている。比例弁機構は、対応する圧縮流体源に供給され、作動油とも呼ぶことができる圧縮流体の供給及び排出が、油圧シリンダに供給され、油圧シリンダから排出され得るように、流体伝導式に油圧シリンダに接続される。この目的のために、油圧シリンダと圧縮流体源との間に油圧配管を配置することが可能であり、比例弁機構は油圧シリンダと圧縮流体源との間に配置される。
【0008】
本発明の関連において、比例弁機構は、好ましくは比例磁石によって、離散的な切り替え位置を可能にするだけでなく、弁の開放の連続的な移行を可能にする連続的なバルブ装置である。これによって、可変の体積流量(この場合は圧縮流体)を油圧シリンダに供給することができる。比例弁機構は、電磁気的に制御可能であり、全開と全閉との間の任意の中間位置をとることができる。排出可能である体積流量を調整するために、比例弁機構は、少なくとも1つ、好ましくは数個の、軸方向に変位可能な弁ピストンを遮断体として有することが可能であり、これらの弁ピストンは、対応する入口及び出口接続部を接続又は閉鎖する。このようにして、本発明に係るバルブ装置の比例弁方向は、比例弁機構の連続的な切り替え挙動によって、油圧シリンダに供給される圧縮流体の体積流量の精密な制御を可能にする。比例弁機構は、電流制御式及び/又は電圧制御式に動作し得る。
【0009】
本発明の関連において、ピストン運動中のピストンの速度と加速度との両方が、時間を考慮したピストン位置の決定に基づいて決定され得ることが認識されている。したがって、制御機構は、ピストン位置、ピストン速度及び/又はピストン加速度に依存して、比例弁機構を制御することができる。
【0010】
この制御機構が測定機構によるピストン位置及び/又はピストン運動の能動的な監視と連動することは、ピストンの運動、特に移動距離の変化を早期に検出し、適切な再調整を行うことができることを意味する。加えて、測定機構及び/又は制御機構は、メンテナンスの必要性を早期に検出し、例えば遠隔接続を介した遠隔メンテナンスとして実施することが可能であり、これによって、メンテナンス作業を計画する能力が向上し、費用も削減される。さらに、本発明に係るバルブ装置は、バルブ装置及びバルブ装置に接続された消費側の簡単な試運転を可能にする。なぜなら、ピストン運動、特にピストンストロークの調整は、もはや、例えばスロットルを介して整備工が手動で行う必要はなく、制御機構を用いて自動的に行うことができるからである。バルブ装置の後の調整も、例えば消費側を交換する場合、逆止弁機構又は作動機構自体を手動で調整することなく、制御機構を介して、例えば制御機構へのインターフェースを介して所望の目標値を入力することによって行われ得る。さらに、消費側に対する圧縮空気の出力も、消費側に対してはるかに可変的かつ柔軟に適合させることが可能であり、これによって、例えば鋳物砂を圧縮するための、消費側に対する圧縮空気の適用を改善することができる。有利なことに、逆止弁機構の開放時間もより正確に制御することが可能であり、エネルギー効率が増大し得る。本発明に係るバルブ装置の組み立ては、消費側に用意に取り付ける、又は既存の消費側に組み込むことができるので、一般的なバルブ装置と比較して追加の労力を必要としない。
(【0011】以降は省略されています)
この特許をJ-PlatPat(特許庁公式サイト)で参照する
関連特許
個人
留め具
27日前
個人
鍋虫ねじ
2か月前
個人
回転伝達機構
3か月前
個人
紛体用仕切弁
2か月前
個人
差動歯車用歯形
4か月前
個人
給排気装置
1か月前
個人
ジョイント
1か月前
株式会社不二工機
電磁弁
4か月前
個人
地震の揺れ回避装置
3か月前
個人
ナット
1か月前
個人
ナット
5日前
個人
吐出量監視装置
2か月前
カヤバ株式会社
緩衝器
4か月前
カヤバ株式会社
緩衝器
1か月前
カヤバ株式会社
ダンパ
4か月前
カヤバ株式会社
緩衝器
4か月前
柿沼金属精機株式会社
分岐管
2か月前
兼工業株式会社
バルブ
6日前
カヤバ株式会社
ダンパ
4か月前
株式会社不二工機
電磁弁
2か月前
株式会社ノーリツ
分配弁
1か月前
株式会社不二工機
電動弁
1か月前
株式会社ニフコ
クリップ
1か月前
株式会社フジキン
ボールバルブ
5か月前
個人
固着具と固着具の固定方法
5か月前
株式会社三五
ドライブシャフト
19日前
個人
固着具と固着具の固定方法
5か月前
アズビル株式会社
回転弁
1か月前
株式会社奥村組
制振機構
1か月前
株式会社タカギ
水栓装置
3か月前
個人
固着具と固着具の固定方法
5か月前
株式会社奥村組
制振機構
1か月前
株式会社ノナガセ
免震装置
20日前
アマテイ株式会社
釘
12日前
株式会社オンダ製作所
識別リング
3か月前
個人
誘導電流活用式差動制限装置
1か月前
続きを見る
他の特許を見る