TOP
|
特許
|
意匠
|
商標
特許ウォッチ
Twitter
他の特許を見る
10個以上の画像は省略されています。
公開番号
2025168314
公報種別
公開特許公報(A)
公開日
2025-11-07
出願番号
2025072265
出願日
2025-04-24
発明の名称
乗り物用シート
出願人
テイ・エス テック株式会社
代理人
個人
,
個人
主分類
B60N
2/42 20060101AFI20251030BHJP(車両一般)
要約
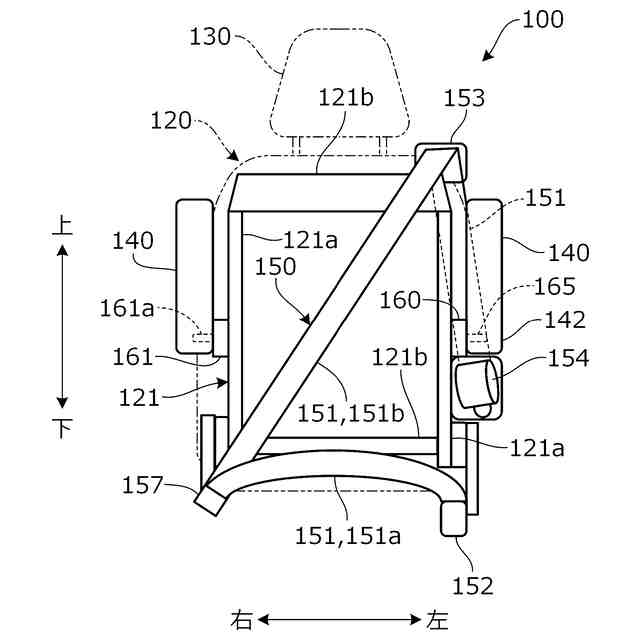
【課題】乗員の着座時の快適性を損なうことなく、かつ、シートクッションの最低高さの制約が小さく構成される、シートベルトのリトラクタを備える乗り物用シートを提供する。
【解決手段】乗り物用シート100は、シートバック120の左側面120Lに回動可能に支持されたアームレスト140と、アームレスト140の後方および上方を経由して延在するシートベルト150と、シートバック120の左側面120Lに設けられ、シートベルト150を巻き取り可能に構成されたリトラクタ154と、を備える。
【選択図】図1
特許請求の範囲
【請求項1】
左右方向一方側および他方側の第1側面および第2側面を有するシートクッションと、前記シートクッションの後端部に立設された、左右方向一方側および他方側の第1側面および第2側面を有するシートバックと、を備える乗り物用シートであって、
前記シートバックの前記第1側面に回動可能に支持されたアームレストと、
前記アームレストの後方および上方を経由して延在するシートベルトと、
前記シートバックの前記第1側面に設けられ、前記シートベルトを巻き取り可能に構成されたリトラクタと、を備えることを特徴とする乗り物用シート。
続きを表示(約 1,000 文字)
【請求項2】
請求項1に記載の乗り物用シートにおいて、
前記リトラクタは、前記アームレストの基端部の下方に配置されることを特徴とする乗り物用シート。
【請求項3】
請求項2に記載の乗り物用シートにおいて、
前記リトラクタは、前記アームレストの前記基端部に近接して配置されることを特徴とする乗り物用シート。
【請求項4】
請求項3に記載の乗り物用シートにおいて、
前記シートバックの前記第1側面に固定されたブラケットをさらに備え、
前記ブラケットは、前記リトラクタを支持するリトラクタ支持部を有することを特徴とする乗り物用シート。
【請求項5】
請求項4に記載の乗り物用シートにおいて、
前記ブラケットは、前記アームレストの前記基端部を回動可能に支持するアームレスト支持部をさらに有することを特徴とする乗り物用シート。
【請求項6】
請求項1から5のいずれか1項に記載の乗り物用シートにおいて、
前記シートバックの上端部に設けられ、前記アームレストの後方および上方を経由した前記シートベルトを引き出し可能に支持するベルト支持部をさらに備えることを特徴とする乗り物用シート。
【請求項7】
請求項6に記載の乗り物用シートにおいて、
前記リトラクタは、前記シートベルトが巻き付けられた回転軸を有し、前記回転軸は、前記シートバックの幅方向外側にかけて上り勾配で傾斜して延在することを特徴とする乗り物用シート。
【請求項8】
請求項6に記載の乗り物用シートにおいて、
前記シートクッションの前記第2側面に設けられ、前記シートベルトを着脱可能に固定するベルト固定部をさらに備えることを特徴とする乗り物用シート。
【請求項9】
請求項1から5のいずれか1項に記載の乗り物用シートにおいて、
前記シートバックの前記第1側面の内側であり、かつ、前記アームレストを回動可能に支持する回動軸の上方に配置されたサイドエアバッグをさらに備えることを特徴とする乗り物用シート。
【請求項10】
請求項1から5のいずれか1項に記載の乗り物用シートにおいて、
上下方向に延在する軸線を中心に、前記シートクッションを回転可能に支持するクッション支持部をさらに備えることを特徴とする乗り物用シート。
発明の詳細な説明
【技術分野】
【0001】
本発明は、乗り物用シートに関する。
続きを表示(約 1,500 文字)
【背景技術】
【0002】
従来より、シート自体に、シートベルトのリトラクタを備える車両用シートが知られている。例えば特許文献1には、シートバックの着座面の後方かつシートバックフレームの内側に、リトラクタが配置された車両用シートが記載されている。特許文献2には、シートクッションの下側に、リトラクタが配置された車両用シートが記載されている。
【先行技術文献】
【特許文献】
【0003】
特開2023-172334号公報
特開2014-129066号公報
【発明の概要】
【発明が解決しようとする課題】
【0004】
しかしながら、上記特許文献1記載のようにシートバックの着座面の後方にリトラクタが配置されると、シートバックのパッドの厚さが薄くなり、乗員の着座時の快適性が損なわれる。また、上記特許文献2記載のようにシートクッションの下側にリトラクタが配置されると、シートクッションの最低高さが制約を受け、設計の自由度が損なわれる。
【課題を解決するための手段】
【0005】
本発明の一態様は、左右方向一方側および他方側の第1側面および第2側面を有するシートクッションと、シートクッションの後端部に立設された、左右方向一方側および他方側の第1側面および第2側面を有するシートバックと、を備える乗り物用シートであって、シートバックの第1側面に回動可能に支持されたアームレストと、アームレストの後方および上方を経由して延在するシートベルトと、シートバックの第1側面に設けられ、シートベルトを巻き取り可能に構成されたリトラクタと、を備える。このように構成すれば、シートバックの第1側面であり、かつ、アームレストの可動範囲の外側に、リトラクタを配置することができる。したがって、バックパッドの十分な厚さを確保することができ、乗員の着座時の快適性が高い。また、リトラクタの位置に拘わらずにシートクッションの最低高さを設定することができ、設計の自由度が高い。
【0006】
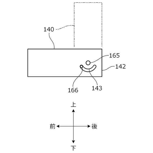
リトラクタは、アームレストの基端部の下方に配置されることが好ましい。このように構成すれば、前後方向に回動可能なアームレストと干渉することなく、リトラクタを配置することができる。
【0007】
リトラクタは、アームレストの基端部に近接して配置されることが好ましい。このように構成すれば、リトラクタの配置が容易である。
【0008】
乗り物用シートは、シートバックの第1側面に固定されたブラケットをさらに備え、ブラケットは、リトラクタを支持するリトラクタ支持部を有することが好ましい。このように構成すれば、リトラクタの取付姿勢を容易に設定することができ、リトラクタの回転中心である軸線を略水平方向に延在した状態で、リトラクタを配置することができる。
【0009】
ブラケットは、アームレストの基端部を回動可能に支持するアームレスト支持部をさらに有することが好ましい。このように構成すれば、単一のブラケットによりアームレストとリトラクタとが支持されるようになるため、部品点数を削減することができる。
【0010】
乗り物用シートは、シートバックの上端部に設けられ、アームレストの後方および上方を経由したシートベルトを引き出し可能に支持するベルト支持部をさらに備えることが好ましい。このように構成すれば、アームレストの後方を経由したシートベルトを乗員に容易に掛け回すことができる。
(【0011】以降は省略されています)
この特許をJ-PlatPat(特許庁公式サイト)で参照する
関連特許
個人
タイヤレバー
3か月前
個人
前輪キャスター
2か月前
個人
上部一体型自動車
1か月前
個人
ホイルのボルト締結
4か月前
個人
空間形成装置
11日前
個人
タイヤ脱落防止構造
2か月前
個人
ルーフ付きトライク
3か月前
日本精機株式会社
表示装置
3か月前
日本精機株式会社
表示装置
3か月前
日本精機株式会社
表示装置
3か月前
個人
車両通過構造物
3か月前
日本精機株式会社
照明装置
6日前
日本精機株式会社
表示装置
2か月前
個人
マスタシリンダ
1か月前
個人
乗合路線バスの客室装置
3か月前
個人
車両用スリップ防止装置
4か月前
個人
常設収納型サンバイザー
17日前
個人
アクセルのソフトウェア
4か月前
日本精機株式会社
車載表示装置
1か月前
個人
車載小物入れ兼雨傘収納具
4か月前
株式会社豊田自動織機
産業車両
6日前
日本精機株式会社
画像投映装置
1か月前
個人
回転窓ワイパー装置
11日前
株式会社ニフコ
収納装置
2か月前
株式会社豊田自動織機
産業車両
3か月前
株式会社ニフコ
照明装置
2か月前
株式会社ニフコ
保持装置
4か月前
個人
音声ガイド、音声サービス
3か月前
個人
円湾曲ホイール及び球体輪
3か月前
日本精機株式会社
車載表示装置
14日前
日本精機株式会社
車室演出装置
2か月前
日本精機株式会社
車載表示装置
12日前
日本精機株式会社
車載表示装置
19日前
日本精機株式会社
車載表示装置
4か月前
日本精機株式会社
車両用投影装置
1か月前
井関農機株式会社
作業車両
1か月前
続きを見る
他の特許を見る