TOP
|
特許
|
意匠
|
商標
特許ウォッチ
Twitter
他の特許を見る
10個以上の画像は省略されています。
公開番号
2025167812
公報種別
公開特許公報(A)
公開日
2025-11-07
出願番号
2024072744
出願日
2024-04-26
発明の名称
医用情報処理装置
出願人
キヤノンメディカルシステムズ株式会社
代理人
弁理士法人鈴榮特許綜合事務所
主分類
G16H
30/00 20180101AFI20251030BHJP(特定の用途分野に特に適合した情報通信技術)
要約
【課題】薬剤を使用した医用撮像に関する検査効率を向上すること。
【解決手段】 実施形態に係る医用情報処理装置は、推定部と通知部とを有する。推定部は、被検体に関する収集済データに基づいて、被検体への薬剤の投与、患者状態の変化又は薬剤を使用した被検体に対する第一の医用撮像から、薬剤を使用した被検体に対する第二の医用撮像までの待機時間の推定値を決定する。通知部は、推定値を、薬剤の投与又は第一の医用撮像から通知する。
【選択図】 図5
特許請求の範囲
【請求項1】
被検体に関する収集済データに基づいて、前記被検体への薬剤の投与、前記被検体の状態の変化又は前記薬剤を使用した前記被検体に対する第一の医用撮像から、前記薬剤を使用した前記被検体に対する第二の医用撮像までの待機時間の推定値を決定する推定部と、
前記推定値を、前記薬剤の投与又は前記第一の医用撮像から通知する通知部と、
を具備する医用情報処理装置。
続きを表示(約 1,300 文字)
【請求項2】
前記収集済データは、過去検査において前記被検体に施された前記第二の医用撮像で得られた医用画像であり、
前記推定部は、前記医用画像に含まれる、前記第二の医用撮像の対象臓器に関する第一領域と前記第一領域とは異なる第二領域との信号強度比に基づいて前記推定値を決定する、
請求項1記載の医用情報処理装置。
【請求項3】
前記第一領域は、前記対象臓器に関する画像領域に設定され、
前記第二領域は、前記対象臓器とは異なる臓器に関する画像領域に設定される、
請求項2記載の医用情報処理装置。
【請求項4】
前記第一領域は、前記対象臓器のうちの病変部分に関する画像領域に設定され、
前記第二領域は、前記対象臓器のうちの正常部分に関する画像領域に設定される、
請求項2記載の医用情報処理装置。
【請求項5】
前記医用画像は、前記過去検査の前記第一の医用撮像及び前記第二の医用撮像において複数時点で収集され、
前記第一領域は、前記対象臓器の病変部分に関する画像領域のうちの、前記薬剤により染影された後の時点の当該画像領域に設定され、
前記第二領域は、前記薬剤により染影される前の時点の当該画像領域に設定される、
請求項2記載の医用情報処理装置。
【請求項6】
前記推定部は、前記信号強度比と前記待機時間の推奨値とに基づいて前記推定値を決定する、請求項2記載の医用情報処理装置。
【請求項7】
前記推定部は、
前記第一領域に対する前記第二領域の前記信号強度比が、別途定められた基準値よりも小さい場合、前記推奨値に比して長い時間を前記推定値に設定し、
前記信号強度比が前記基準値よりも大きい場合、前記推奨値に比して短い時間を前記推定値に設定する、
請求項6記載の医用情報処理装置。
【請求項8】
前記推奨値は、ガイドラインで定められた前記待機時間の値又は前記被検体に対して施された前記過去検査の前記待機時間の実測値である、請求項6記載の医用情報処理装置。
【請求項9】
前記収集済データは、現在検査における前記第一の医用撮像において収集された1時点又は複数時点の医用画像であり、
前記推定部は、前記1時点又は複数時点の医用画像を学習済みモデルに適用して前記推定値を決定する、ここで、前記学習済みモデルは、前記被検体に対する過去検査において収集された1時点又は複数時点の医用画像を入力とし、前記推定値を出力するように訓練されている、
請求項1記載の医用情報処理装置。
【請求項10】
前記収集済データは、前記被検体に対して施された過去検査における前記第一の医用撮像の基準時と前記第二の医用撮像の基準時との差分を含み、
前記推定部は、前記差分に基づいて前記推定値を決定する、
請求項1記載の医用情報処理装置。
(【請求項11】以降は省略されています)
発明の詳細な説明
【技術分野】
【0001】
本明細書及び図面に開示の実施形態は、医用情報処理装置に関する。
続きを表示(約 2,700 文字)
【背景技術】
【0002】
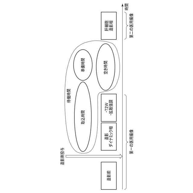
造影剤を使用した医用撮像が行われている。例えば、肝臓MRI(Magnetic Resonance Imaging)検査の場合、造影剤投与に伴い第一のMR撮像が行われ、肝細胞に造影剤が取り込まれるまで待って、第二のMR撮像が行われる。ところで、深層学習や圧縮センシング等の技術の導入によりMR撮像の撮像時間が短くなってきており、これに伴い第一のMR撮像と第二のMR撮像との間の待機時間が拡大する傾向にある。臨床現場では、待機時間を有効に活用するため、待機時間に他の患者に対してMR撮像が行われている。造影剤が肝細胞に取り込まれるまでの時間は患者に応じて異なるが、待機時間はガイドライン等で定められた一律の時間に設定されている。そのため造影剤を使用した医用撮像に関する検査効率には改善の余地がある。
【先行技術文献】
【特許文献】
【0003】
特開2013-165843号公報
【発明の概要】
【発明が解決しようとする課題】
【0004】
本明細書及び図面に開示の実施形態が解決しようとする課題の一つは、薬剤を使用した医用撮像に関する検査効率を向上することである。ただし、本明細書及び図面に開示の実施形態により解決しようとする課題は上記課題に限られない。後述する実施形態に示す各構成による各効果に対応する課題を他の課題として位置づけることもできる。
【課題を解決するための手段】
【0005】
実施形態に係る医用情報処理装置は、推定部と通知部とを有する。前記推定部は、被検体に関する収集済データに基づいて、前記被検体への薬剤の投与、前記被検体の状態の変化又は前記薬剤を使用した前記被検体に対する第一の医用撮像から、前記薬剤を使用した前記被検体に対する第二の医用撮像までの待機時間の推定値を決定する。前記通知部は、前記推定値を、前記薬剤の投与又は前記第一の医用撮像から通知する。
【図面の簡単な説明】
【0006】
図1は、本実施形態に係る医用画像診断システムの構成例を示す図である。
図2は、肝臓MRI検査の流れを模式的に示す図である。
図3は、医用情報処理装置の構成例を示す図である。
図4は、医用画像診断システムの概略的な処理例を示す図である。
図5は、図4に示す現在検査における処理例を模式的に示す図である。
図6は、患者選択画面における推定待機時間の表示例を示す図である。
図7は、検査画面における推定待機時間の表示例を示す図である。
図8は、第二の医用撮像の開始を促すメッセージのウィンドウの表示例を示す図である。
図9は、第一の領域設定パターンにおける第一領域と第二領域とを例示する図である。
図10は、第二の領域設定パターンにおける第一領域と第二領域とを例示する図である。
図11は、第三の領域設定パターンにおける第一領域と第二領域とを例示する図である。
図12は、関心領域の信号値の時間変化を模式的に示す図である。
図13は、学習済みモデルの入出力及び学習過程を模式的に示す図である。
図14は、待機時間における第三の医用撮像の実施の可否の判定処理例を示す図である。
図15は、第三の医用撮像の実施可の判定結果及び第三の医用撮像の被検体を表すウィンドウの表示例を示す図である。
図16は、第三の医用撮像の実施不可の判定結果を表すウィンドウの表示例を示す図である。
図17は、実施例1に係る現在検査の処理例を模式的に示す図である。
図18は、実施例2に係る現在検査の処理例を模式的に示す図である。
図19は、実施例3に係る現在検査の処理例を模式的に示す図である。
図20は、実施例4に係る現在検査の処理例を模式的に示す図である。
図21は、実施例5に係る現在検査の処理例を模式的に示す図である。
【発明を実施するための形態】
【0007】
以下、図面を参照しながら、本実施形態に係る医用情報処理装置について詳細に説明する。
【0008】
図1は、本実施形態に係る医用画像診断システム1の構成例を示す図である。医用画像診断システム1は、患者等の被検体に対して医用撮像を伴う医用検査を実施するためのネットワークシステムである。医用画像診断システム1は、互いに院内ネットワーク等を介して通信可能に接続された医用情報処理装置10と医用画像診断装置20とを有する。医用情報処理装置10は医用検査を管理するコンピュータである。
【0009】
医用画像診断装置20は、被検体に対する医用撮像を実施するモダリティ装置である。医用画像診断装置20は検査室に設置されている。医用画像診断装置20は、具体的には、磁気共鳴イメージング装置(MRI装置)、X線コンピュータ断層撮影装置(X線CT装置)、X線診断装置、超音波診断装置、PET(Positron Emission Tomography)装置及びSPECT(Single Photon Emission CT)装置等の単一モダリティ装置であってもよいし、PET/CT装置、SPECT/CT装置、PET/MRI装置、SPECT/MRI装置等の複合モダリティ装置であってもよい。なお、PET装置とSPECT装置とは核医学診断装置と呼ばれる。医用画像診断システム1に含まれる医用画像診断装置20の台数は1台でも良いし複数台でも良い。医用画像診断システム1に複数の医用画像診断装置20が含まれる場合、これら複数の医用画像診断装置20のモダリティ種は全て同一でも良いし、全部又は一部が異なっても良い。
【0010】
医用画像診断装置20がMRI装置である場合:MRI装置は、静磁場磁石を介した静磁場の印加の下、傾斜磁場コイルを介した傾斜磁場の印加と送信コイルを介したRFパルスの印加とを繰り返す。RFパルスの印加に起因して被検体からMR信号が放出される。放出されたMR信号は、受信コイルを介して受信される。受信されたMR信号は、受信回路によりA/D変換等の信号処理が施される。A/D変換後のMR信号は、k空間データと呼ばれる。MRI装置は、収集されたk空間データに基づいてMR画像のデータを生成する。k空間データ及びMR画像のデータは画像情報の一例である。
(【0011】以降は省略されています)
この特許をJ-PlatPat(特許庁公式サイト)で参照する
関連特許
個人
医療のAI化
2か月前
個人
通知ぬいぐるみAIシステム
2か月前
キラル株式会社
ヘルスケアシステム
1か月前
キラル株式会社
ヘルスケアシステム
1か月前
キヤノン株式会社
情報処理装置
1日前
株式会社タカゾノ
薬剤秤量装置
22日前
株式会社リコー
投薬管理システム
2か月前
TOTO株式会社
健康管理システム
1か月前
株式会社ケアコム
看護必要度分析装置
1日前
株式会社ユニオン
健康関連情報管理装置
2日前
株式会社イシダ
受付端末装置
23日前
大和ハウス工業株式会社
服薬推定システム
1か月前
ギジン株式会社
情報分析装置および情報分析方法
9日前
キラル株式会社
プログラムの提供システムおよびその方法
1か月前
株式会社SECRET MEDICINE
管理装置
2か月前
キラル株式会社
心理療法を提供するシステムおよびその方法
1か月前
株会社ジョシュ
帳票の一括送信を支援する方法
1日前
キラル株式会社
心理療法を提供するシステムおよびその方法
1か月前
富士通株式会社
異常予測方法および異常予測プログラム
2か月前
大和ハウス工業株式会社
健康リスク推定システム
2か月前
有限会社ひなたぼっこ さと
情報処理装置及びプログラム
2か月前
TOTO株式会社
トイレシステム
1か月前
アイシンクメディカル株式会社
測定機器監視システム
1か月前
株式会社明治
機能推定装置
2か月前
株式会社日立製作所
受診支援装置および方法
2か月前
花王株式会社
情報処理システム
2か月前
花王株式会社
情報処理システム
2か月前
株式会社トプコン
眼科システム及び端末装置
2か月前
個人
ゲノム配列の類似性評価の方式、ソフトウェア、システム、装置
28日前
個人
医療機関と医療従事者とのマッチングのための情報処理システム
1か月前
横浜ゴム株式会社
化学計算モデル分子の作成方法
1か月前
日本製紙株式会社
樹皮率の予測方法
1か月前
株式会社ヴァイタス
情報処理装置
2か月前
TOTO株式会社
健康管理システム
1か月前
KDDI株式会社
情報処理装置及び情報処理方法
1か月前
住友ゴム工業株式会社
モデリング方法
1か月前
続きを見る
他の特許を見る