TOP
|
特許
|
意匠
|
商標
特許ウォッチ
Twitter
他の特許を見る
10個以上の画像は省略されています。
公開番号
2025167568
公報種別
公開特許公報(A)
公開日
2025-11-07
出願番号
2024072329
出願日
2024-04-26
発明の名称
踏み間違い制御機構
出願人
個人
代理人
弁理士法人パテントボックス
主分類
B60K
28/10 20060101AFI20251030BHJP(車両一般)
要約
【課題】車両に後付けでき、通常の運転に支障がない、踏み間違い制御機構を提供する。
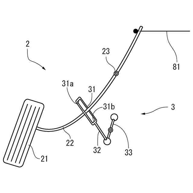
【解決手段】踏み間違い制御機構Mは、アクセルペダル21に取り付けられており、アクセルペダル21の踏込み量が、所定の許容踏込み量以下の場合は連結手段3を引っ張らずに、許容踏込み量を超えると連結手段3を引っ張るように構成される、トリガ機構2と、アクセルペダル21の踏込み量が許容踏込み量を超えて、連結手段3が引っ張られると、運転手に警告するように構成される、警告装置4と、アクセルペダル21に連繋されたアクセルワイヤ81に接続されており、アクセルワイヤ81の引張量が、所定の許容引張量以下の場合は引張量に応じてスロットルバルブ53を開き、許容引張量を超えるとスロットルバルブ53を閉じるように構成される、バルブ開閉機構5と、を備えている。
【選択図】図1
特許請求の範囲
【請求項1】
アクセルペダルに取り付けられており、前記アクセルペダルの踏込み量が、所定の許容踏込み量以下の場合は連結手段を引っ張らずに、前記許容踏込み量を超えると前記連結手段を引っ張るように構成される、トリガ機構と、
前記アクセルペダルの踏込み量が前記許容踏込み量を超えて、前記連結手段が引っ張られると、運転手に警告するように構成される、警告装置と、
アクセルペダルに連繋されたアクセルワイヤに接続されており、前記アクセルワイヤの引張量が、所定の許容引張量以下の場合は引張量に応じてスロットルバルブを開き、前記許容引張量を超えると前記スロットルバルブを閉じるように構成される、バルブ開閉機構と、
を備える、踏み間違い制御機構。
続きを表示(約 760 文字)
【請求項2】
前記連結手段に接続されており、前記アクセルペダルの踏込み量が、前記許容踏込み量より大きい限界踏込み量以下の場合は作動せずに、前記限界踏込み量を超えると作動するように構成される、ブレーキ装置をさらに備える、請求項1に記載された、踏み間違い制御機構。
【請求項3】
前記アクセルペダルの踏込み量が前記許容踏込み量となるときに、前記アクセルワイヤの引張量が前記許容引張量となるように調整されている、請求項1又は請求項2に記載された、踏み間違い制御機構。
【請求項4】
前記トリガ機構は、前記アクセルペダルを保持するアームと、前記アームが挿通される長孔を有する前記連結手段と、から構成されており、前記長孔の終端位置が前記許容踏込み量に対応する位置となっている、請求項3に記載された、踏み間違い制御機構。
【請求項5】
前記バルブ開閉機構は、前記アクセルワイヤに連繋された第1リンクと、前記スロットルバルブに連繋され前記第1リンクと噛み合う第2リンクと、から構成されており、前記アクセルワイヤの引張量が前記許容引張量に達すると、前記第1リンクと前記第2リンクの噛み合いが解除されるようになっている、請求項4に記載された、踏み間違い制御機構。
【請求項6】
前記第1リンク又は前記第2リンクのいずれか一方は、前記アクセルワイヤの引張量が前記許容引張量以下の場合に他方を回転させ、前記許容引張量を超えると他方を回転させずにアイドリング状態に戻る戻し機構を有する、請求項5に記載された、踏み間違い制御機構。
【請求項7】
前記ブレーキが作動すると、同時に、ストップランプが点灯するようになっている、請求項2に記載された、踏み間違い制御機構。
発明の詳細な説明
【技術分野】
【0001】
本発明は、自動車のアクセルとブレーキの踏み間違い制御機構に関するものである。
続きを表示(約 1,900 文字)
【背景技術】
【0002】
近年、アクセルペダルとブレーキペダルを踏み間違えたことに起因する事故が社会問題となってきている。このため、様々な技術が開発されている。例えば、アクセルペダルの踏み込み速度を検知して、一定速度以上になると走行不能状態に自動制御する装置が知られている。
【0003】
他にも、アクセルペダルをアクセルレバーとして足の側面で操作するようにした装置も存在している。この装置は、完成車に後付けできるものの、アクセルの構造は車種や年式によっても異なるため、簡単に取り付けできないうえ、車種によっては取り付け不可能な場合がある。
【0004】
このような問題を解決するため、例えば特許文献1のアクセルペダル踏み間違い防止装置は、強度の高い部材でアクセルペダルの大部分又は一部を覆ることによって、アクセルペダルを踏みにくくし、アクセルペダルの踏み間違いを防止している。
【先行技術文献】
【特許文献】
【0005】
特開2023-3469号公報
【発明の概要】
【発明が解決しようとする課題】
【0006】
しかしながら、従来型のセンサー検知に基づく自動制御は、車両の後付けすることが難しかった。一方、特許文献1を含む従来の手法は、車両の後付けできるものの、アクセルペダルが踏みにくくなるため、通常の運転に支障があるうえ、事故につながるおそれがあった。
【0007】
そこで、本発明は、車両に後付けでき、通常の運転に支障がない、踏み間違い制御機構を提供することを目的としている。
【課題を解決するための手段】
【0008】
前記目的を達成するために、本発明の踏み間違い制御機構は、アクセルペダルに取り付けられており、前記アクセルペダルの踏込み量が、所定の許容踏込み量以下の場合は連結手段を引っ張らずに、前記許容踏込み量を超えると前記連結手段を引っ張るように構成される、トリガ機構と、前記アクセルペダルの踏込み量が前記許容踏込み量を超えて、前記連結手段が引っ張られると、運転手に警告するように構成される、警告装置と、アクセルペダルに連繋されたアクセルワイヤに接続されており、前記アクセルワイヤの引張量が、所定の許容引張量以下の場合は引張量に応じてスロットルバルブを開き、前記許容引張量を超えると前記スロットルバルブを閉じるように構成される、バルブ開閉機構と、を備えることを特徴としている。
【発明の効果】
【0009】
このように、本発明の踏み間違い制御機構は、アクセルペダルに取り付けられており、アクセルペダルの踏込み量が、所定の許容踏込み量以下の場合は連結手段を引っ張らずに、許容踏込み量を超えると連結手段を引っ張るように構成される、トリガ機構と、アクセルペダルの踏込み量が許容踏込み量を超えて、連結手段が引っ張られると、運転手に警告するように構成される、警告装置と、アクセルペダルに連繋されたアクセルワイヤに接続されており、アクセルワイヤの引張量が、所定の許容引張量以下の場合は引張量に応じてスロットルバルブを開き、許容引張量を超えると前記スロットルバルブを閉じるように構成される、バルブ開閉機構と、を備えることを特徴としている。このような構成であれば、車両に後付けでき、かつ、通常の運転に支障がない、踏み間違い制御機構となる。
【図面の簡単な説明】
【0010】
実施例の踏み間違い制御機構の全体構成図である。
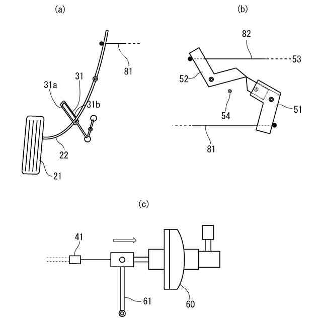
トリガ機構の説明図である。
バルブ開閉機構の説明図である。
ブレーキ装置の説明図である。
踏み間違い制御機構の作用を説明する表である。
アイドル時の説明図である。(a)はトリガ機構、(b)はバルブ開閉機構である。
アイドル~全開の説明図である。(a)はトリガ機構、(b)はバルブ開閉機構である。
全開時の説明図である。(a)はトリガ機構、(b)はバルブ開閉機構である。
アラームON時の説明図である。(a)はトリガ機構、(b)はバルブ開閉機構、(c)はブレーキ装置である。
ブレーキ作動開始時の説明図である。(a)はトリガ機構、(b)はバルブ開閉機構、(c)はブレーキ装置である。
足を離した状態の説明図である。(a)はトリガ機構、(b)はバルブ開閉機構である。
【発明を実施するための形態】
(【0011】以降は省略されています)
この特許をJ-PlatPat(特許庁公式サイト)で参照する
関連特許
個人
タイヤレバー
4か月前
個人
前輪キャスター
3か月前
個人
上部一体型自動車
1か月前
個人
空間形成装置
28日前
個人
タイヤ脱落防止構造
3か月前
個人
ルーフ付きトライク
3か月前
日本精機株式会社
表示装置
3か月前
日本精機株式会社
表示装置
3か月前
日本精機株式会社
表示装置
3か月前
日本精機株式会社
表示装置
3か月前
日本精機株式会社
照明装置
23日前
個人
車両通過構造物
4か月前
個人
マスタシリンダ
2か月前
個人
常設収納型サンバイザー
1か月前
個人
乗合路線バスの客室装置
4か月前
株式会社豊田自動織機
産業車両
23日前
株式会社ニフコ
収納装置
2か月前
株式会社豊田自動織機
産業車両
3か月前
日本精機株式会社
車載表示装置
2か月前
個人
車載小物入れ兼雨傘収納具
4か月前
株式会社ニフコ
照明装置
3か月前
日本精機株式会社
画像投映装置
1か月前
日本精機株式会社
車載表示装置
1か月前
日本精機株式会社
車載表示装置
1か月前
日本精機株式会社
車載表示装置
29日前
個人
円湾曲ホイール及び球体輪
4か月前
日本精機株式会社
車室演出装置
3か月前
個人
回転窓ワイパー装置
28日前
個人
音声ガイド、音声サービス
4か月前
日本精機株式会社
車両用表示装置
1か月前
個人
音による速度計とプログラム
1か月前
極東開発工業株式会社
車両
3か月前
日本無線株式会社
取付金具
4か月前
日本精機株式会社
車両用報知装置
1か月前
井関農機株式会社
作業車両
2か月前
日本精機株式会社
車両用投射装置
1か月前
続きを見る
他の特許を見る