TOP
|
特許
|
意匠
|
商標
特許ウォッチ
Twitter
他の特許を見る
公開番号
2025167437
公報種別
公開特許公報(A)
公開日
2025-11-07
出願番号
2024072020
出願日
2024-04-26
発明の名称
撮像装置、撮像装置の制御方法、およびプログラム
出願人
キヤノン株式会社
代理人
個人
,
個人
,
個人
主分類
G02B
7/34 20210101AFI20251030BHJP(光学)
要約
【課題】 互いに並列に配置された二つの光学系を制御する際に、高い測距精度を実現することが可能な撮像装置を提供する。
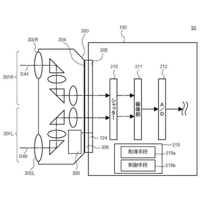
【解決手段】 撮像装置(100)は、複数の画素を有する撮像素子(211)と、複数の画素からの一対の信号に基づいて結像光学系のデフォーカス量を取得する取得手段(218a)と、デフォーカス量に基づいて結像光学系を制御する制御手段(218b)とを有し、制御手段は、第1光学系(301R)による第1測距領域における第1デフォーカス量または第2光学系(301L)による第2測距領域における第2デフォーカス量の一方に基づいて、結像光学系を制御し、制御手段は、第1光学系の第1光軸(OA1)に関する情報と第2光学系の第2光軸(OA2)に関する情報とに応じて、結像光学系の制御に際して第1デフォーカス量または第2デフォーカス量のいずれを用いるかを判定する。
【選択図】図6
特許請求の範囲
【請求項1】
結像光学系における互いに異なる複数の瞳部分領域をそれぞれ通過する光束を受光する複数の画素を有する撮像素子と、
前記複数の画素からの一対の信号に基づいて前記結像光学系のデフォーカス量を取得する取得手段と、
前記デフォーカス量に基づいて前記結像光学系を制御する制御手段とを有し、
前記結像光学系は、第1光学系と、該第1光学系と並列に配置された第2光学系とを有し、
前記制御手段は、前記第1光学系による第1測距領域における第1デフォーカス量または前記第2光学系による第2測距領域における第2デフォーカス量の一方に基づいて、前記結像光学系を制御し、
前記制御手段は、前記第1光学系の第1光軸に関する情報と前記第2光学系の第2光軸に関する情報とに応じて、前記結像光学系の制御に際して前記第1デフォーカス量または前記第2デフォーカス量のいずれを用いるかを判定することを特徴とする撮像装置。
続きを表示(約 1,300 文字)
【請求項2】
前記制御手段は、前記第1測距領域の位置と前記第2測距領域の位置とに応じて、前記第1デフォーカス量または前記第2デフォーカス量のいずれを用いるかを判定することを特徴とする請求項1に記載の撮像装置。
【請求項3】
前記制御手段は、前記撮像素子の撮像領域の中心から前記第1測距領域までの第1距離と、前記撮像領域の前記中心から前記第2測距領域までの第2距離とに応じて、前記第1デフォーカス量または前記第2デフォーカス量のいずれを用いるかを判定することを特徴とする請求項2に記載の撮像装置。
【請求項4】
前記制御手段は、
前記第1距離が前記第2距離よりも大きい場合、前記第1デフォーカス量を用いて前記結像光学系を制御し、
前記第2距離が前記第1距離よりも大きい場合、前記第2デフォーカス量を用いて前記結像光学系を制御することを特徴とする請求項3に記載の撮像装置。
【請求項5】
前記撮像領域の前記中心の位置は、前記第1光軸の位置および前記第2光軸の位置のそれぞれと異なることを特徴とする請求項3に記載の撮像装置。
【請求項6】
前記結像光学系は、複数の光軸を有する第1レンズ装置、または、単一の光軸を有する第2レンズ装置であり、
前記制御手段は、前記撮像装置に前記第1レンズ装置が装着された場合と前記第2レンズ装置が装着された場合とで、前記結像光学系の制御に用いられる前記デフォーカス量を取得するための測距領域の判定方法を異ならせることを特徴とする請求項1乃至5のいずれか一項に記載の撮像装置。
【請求項7】
前記第1測距領域に関する情報および前記第2測距領域に関する情報を表示する表示手段を更に有し、
前記表示手段は、前記第1測距領域に関する前記情報および前記第2測距領域に関する情報の表示形式を異ならせることを特徴とする請求項1乃至5のいずれか一項に記載の撮像装置。
【請求項8】
前記第1測距領域に関する情報および前記第2測距領域に関する情報を表示する表示手段を更に有し、
前記表示手段は、ユーザの選択に応じて、前記第1測距領域に関する前記情報または前記第2測距領域に関する前記情報の一方を表示することを特徴とする請求項1乃至5のいずれか一項に記載の撮像装置。
【請求項9】
前記第1デフォーカス量と前記第2デフォーカス量との差が所定量よりも大きい場合、前記制御手段は、前記表示手段に表示されている前記第1測距領域に対応する前記第1デフォーカス量または前記第2測距領域に対応する前記第2デフォーカス量を用いて、前記結像光学系を制御することを特徴とする請求項8に記載の撮像装置。
【請求項10】
前記撮像素子の撮像領域の中心から前記第1測距領域までの第1距離と、前記撮像領域の前記中心から前記第2測距領域までの第2距離とが等しい場合、前記制御手段は、前記表示手段に表示されている前記第1測距領域に対応する前記第1デフォーカス量または前記第2測距領域に対応する前記第2デフォーカス量を用いて、前記結像光学系を制御することを特徴とする請求項8に記載の撮像装置。
(【請求項11】以降は省略されています)
発明の詳細な説明
【技術分野】
【0001】
本発明は、撮像装置、撮像装置の制御方法、およびプログラムに関する。
続きを表示(約 1,600 文字)
【背景技術】
【0002】
従来、ヘッドマウントディスプレイ(HMD)等、立体視可能な画像を撮像可能な撮像装置が知られている。特許文献1には、立体撮像装置における位相差AFにおける、調整値の算出方法、および被写体のフォーカス評価値の表示方法が開示されている。特許文献2には、左右の二つの光学系それぞれにおいて独立に位相差AFを行う方法が開示されている。
【先行技術文献】
【特許文献】
【0003】
特開2022-189536号公報
特開2023-83876号公報
【発明の概要】
【発明が解決しようとする課題】
【0004】
一つの撮像素子を備えた撮像装置に二つの光学系を有するレンズ装置が装着された場合、撮像素子の中心位置と二つの光学系のそれぞれの光軸位置とがずれている場合がある。このような構成において位相差AFを行う場合、二つの光学系による二つの測距位置の候補がある。しかし、撮像素子の中心位置と二つの光学系のそれぞれの光軸位置とがずれている場合、測距位置によっては測距精度が低下する可能性がある。このため、特許文献1および特許文献2に開示された方法では、二つの光学系を制御する際に高い測距精度を実現することが難しい。
【0005】
そこで本発明は、互いに並列に配置された二つの光学系を制御する際に、高い測距精度を実現することが可能な撮像装置を提供することを目的とする。
【課題を解決するための手段】
【0006】
本発明の一側面としての撮像装置は、結像光学系における互いに異なる複数の瞳部分領域をそれぞれ通過する光束を受光する複数の画素を有する撮像素子と、前記複数の画素からの一対の信号に基づいて前記結像光学系のデフォーカス量を取得する取得手段と、前記デフォーカス量に基づいて前記結像光学系を制御する制御手段とを有し、前記結像光学系は、第1光学系と、該第1光学系と並列に配置された第2光学系とを有し、前記制御手段は、前記第1光学系による第1測距領域における第1デフォーカス量または前記第2光学系による第2測距領域における第2デフォーカス量の一方に基づいて、前記結像光学系を制御し、前記制御手段は、前記第1光学系の第1光軸に関する情報と前記第2光学系の第2光軸に関する情報とに応じて、前記結像光学系の制御に際して前記第1デフォーカス量または前記第2デフォーカス量のいずれを用いるかを判定する。
【0007】
本発明の他の目的及び特徴は、以下の実施形態において説明される。
【発明の効果】
【0008】
本発明によれば、互いに並列に配置された二つの光学系を制御する際に、高い測距精度を実現することが可能な撮像装置を提供することができる。
【図面の簡単な説明】
【0009】
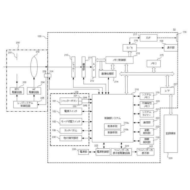
本実施形態における撮像装置の外観構成の一例を示す図である。
本実施形態における撮像システムの内部構成の一例を示す図である。
本実施形態における撮像システムの構成の一例を示す模式図である。
本実施形態における画素配列の一例を示す概略図である
本実施形態における表示画像の例を示す図である。
本実施形態におけるオートフォーカス動作の一例を示すフローチャートである。
本実施形態におけるセンサ中心座標およびレンズ光軸座標の説明図である。
本実施形態におけるデフォーカス量と像ずれ量との関係を示す図である。
【発明を実施するための形態】
【0010】
以下、本発明の実施形態について、図面を参照しながら詳細に説明する。
(【0011】以降は省略されています)
この特許をJ-PlatPat(特許庁公式サイト)で参照する
関連特許
キヤノン株式会社
容器
21日前
キヤノン株式会社
容器
15日前
キヤノン株式会社
トナー
1か月前
キヤノン株式会社
トナー
1か月前
キヤノン株式会社
トナー
1か月前
キヤノン株式会社
トナー
1か月前
キヤノン株式会社
トナー
7日前
キヤノン株式会社
トナー
24日前
キヤノン株式会社
撮影装置
1か月前
キヤノン株式会社
現像装置
1か月前
キヤノン株式会社
撮像装置
15日前
キヤノン株式会社
撮像装置
21日前
キヤノン株式会社
記録装置
今日
キヤノン株式会社
測距装置
1か月前
キヤノン株式会社
撮像装置
21日前
キヤノン株式会社
現像容器
1か月前
キヤノン株式会社
現像装置
1か月前
キヤノン株式会社
定着装置
1か月前
キヤノン株式会社
測距装置
9日前
キヤノン株式会社
定着装置
今日
キヤノン株式会社
撮像装置
21日前
キヤノン株式会社
雲台装置
7日前
キヤノン株式会社
現像容器
1か月前
キヤノン株式会社
撮像装置
7日前
キヤノン株式会社
記録装置
21日前
キヤノン株式会社
定着装置
今日
キヤノン株式会社
撮像装置
2日前
キヤノン株式会社
現像装置
28日前
キヤノン株式会社
記録装置
7日前
キヤノン株式会社
電子機器
7日前
キヤノン株式会社
定着装置
今日
キヤノン株式会社
電子機器
2日前
キヤノン株式会社
記録装置
7日前
キヤノン株式会社
撮像装置
1か月前
キヤノン株式会社
電子機器
7日前
キヤノン株式会社
記録装置
1か月前
続きを見る
他の特許を見る