TOP
|
特許
|
意匠
|
商標
特許ウォッチ
Twitter
他の特許を見る
公開番号
2025166876
公報種別
公開特許公報(A)
公開日
2025-11-07
出願番号
2024071043
出願日
2024-04-25
発明の名称
フィルタ構造
出願人
ニチダイフィルタ株式会社
代理人
弁理士法人バリュープラス
主分類
B01D
29/07 20060101AFI20251030BHJP(物理的または化学的方法または装置一般)
要約
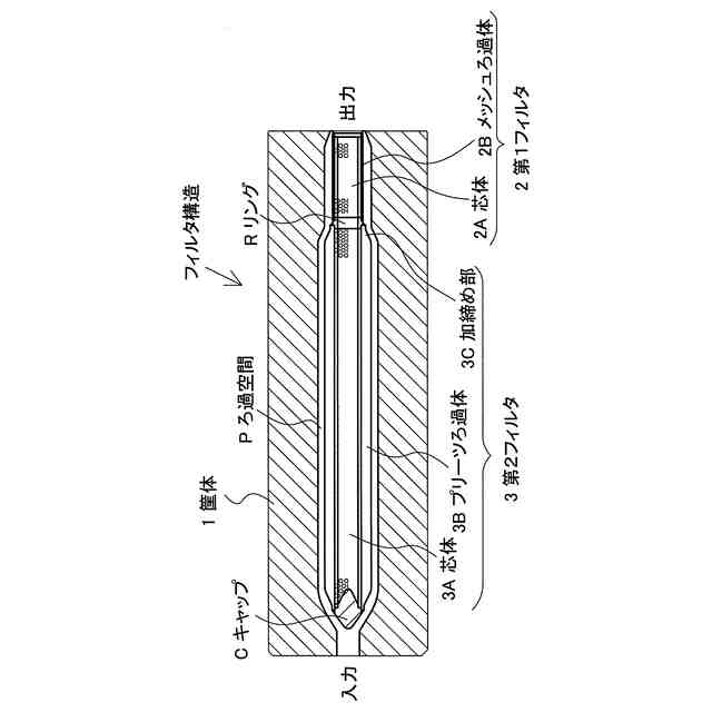
【課題】ポリマーろ過用のプリーツフィルタの出力端を加締め加工により筐体内で固定していたことによる、出力端におけるポリマーのろ過不足が生じる点と、滞留して変色したり、異物が発生したりする点を改善する。
【解決手段】本発明は、高粘度の流体をろ過するためのフィルタ構造であって、筐体1と、筐体1内に設けた第1フィルタ2及び第2フィルタ3を備え、第2フィルタ3の流体の出力側の端部位置を、筐体1における流体の出力端に対して反対側に移動させた。
【効果】流路途中位置に第2フィルタ3の流体の出力側の端部位置を配することで、該端部位置での流体の滞留がほとんど解消され、出力端における樹脂のろ過不足が生じることによって滞留して変色したり、異物が発生したりする点が改善できる。
【選択図】図1
特許請求の範囲
【請求項1】
高粘度の流体をろ過するためのフィルタ構造であって、筐体と、前記筐体内に設けた第1フィルタ及び第2フィルタを備え、前記第2フィルタの流体の出力側の端部位置を、前記筐体における流体の出力端に対して反対側に移動させたフィルタ構造。
発明の詳細な説明
【技術分野】
【0001】
本発明は、粘度の高い樹脂のろ過性の歩留まりを向上させることができるフィルタ構造に関する。
続きを表示(約 1,400 文字)
【背景技術】
【0002】
流体ろ過フィルタには、該筐体と同軸で内外周面を貫通する無数の孔が開けられたチューブフィルタ、外径方向に折られた山部と軸方向に折られた谷部が周方向に連続した金属繊維からなるプリーツフィルタ、など多数存在している。
【0003】
例えば、特許文献1(特開平10-113507号公報)では、周壁に多数の通水孔を形成した円筒状の集水用コアと、この集水用コアの外周に配設する平板状のろ過シートを径方向にひだ状に折り畳んで筒状となしたプリーツ型ろ過体(プリーツフィルタ)とを具え、前記プリーツフィルタの外周に、筒状となした活性炭繊維製のろ過材を配設し、当該活性炭繊維製のろ過材と前記プリーツフィルタとによって二層式の複合ろ過構造を構成している。
【0004】
特許文献1は、水をろ過処理する構成されており、本願発明の用途である粘度の高い、例えば溶融樹脂の不純物の除去には使用できない。その理由は、樹脂は高粘度であるため、フィルタを通過させるために高圧をかけて樹脂を圧送することになるが、特許文献1などプリーツフィルタが入力端と出力端で同径とされている構造ではプリーツフィルタの出力端において高圧で破損してしまう。
【0005】
そこで、樹脂ろ過用のプリーツフィルタは、出力端の先端側が小径となるように絞って、このプリーツフィルタの先端径を絞った部分を、フィルタ全体を覆う樹脂が装入される容器となる筐体の内周面と、特許文献1で言う集水用コアの外周面との間で加締め加工していた。
【0006】
しかしながら、上記のようにプリーツフィルタの出力端を加締め加工により筐体内で固定すると、筐体内の出力端では加締め加工部位の形状がいびつになっているので、ろ過は見込めないうえ、出力端において高温の樹脂が滞留する。そして、樹脂が滞留することで変色したり、異物に変性したりして、それらが樹脂に混入し、ろ過後の樹脂の品質を低下させることがあった。
【先行技術文献】
【特許文献】
【0007】
特開平10-113507号公報
【発明の概要】
【発明が解決しようとする課題】
【0008】
本発明が解決しようとする課題は、高温・高粘度の樹脂を高圧でろ過するためのプリーツフィルタにおいて、出力端を加締め加工により筐体内で固定していたことによる、出力端における樹脂のろ過不足が生じる点と、滞留して変色したり、異物が発生したりする点である。
【課題を解決するための手段】
【0009】
上記課題を解決するために、本発明は、高粘度の流体をろ過するためのフィルタ構造であって、筐体と、前記筐体内に設けた第1フィルタ及び第2フィルタを備え、前記第2フィルタの流体の出力側の端部位置を、前記筐体における流体の出力端に対して反対側に移動させることとした。
【発明の効果】
【0010】
本発明は、上記構造とすることで、第2フィルタの出力側の端部で滞留しようとする樹脂は、第2フィルタの出力側の端部が、筐体内の出力端に至る途中部位に存在することになるため、後続の樹脂の送り出し圧力により出力端に向けて確実にろ過されつつ流動させることができる。この結果、出力端において、滞留した樹脂が変色したり、異物が発生したりすることが解消できる。
【図面の簡単な説明】
(【0011】以降は省略されています)
この特許をJ-PlatPat(特許庁公式サイト)で参照する
関連特許
株式会社西部技研
除湿装置
1か月前
株式会社日本触媒
ドロー溶質
1か月前
プライミクス株式会社
攪拌装置
17日前
サンノプコ株式会社
消泡剤
1か月前
日本バイリーン株式会社
フィルタ
1か月前
東レ株式会社
遠心ポッティング方法
1か月前
トヨタ自動車株式会社
濾過装置
1か月前
株式会社切川物産
撹拌装置
18日前
株式会社高垣製作所
粉粒体加工装置
2日前
トヨタ紡織株式会社
フィルタ
11日前
個人
気液混合装置
1か月前
個人
吸着材複合粒子
2日前
トヨタ紡織株式会社
水流帯電装置
11日前
松岡紙業 株式会社
油吸着体の製造方法
1か月前
栗田工業株式会社
ギ酸の回収方法
18日前
株式会社フクハラ
圧縮空気圧回路ユニット
1か月前
東芝ライテック株式会社
光照射装置
1か月前
富士電機株式会社
ガス処理システム
1か月前
株式会社明電舎
成膜装置
1か月前
東芝ライテック株式会社
紫外線処理装置
17日前
日本化薬株式会社
直鎖ブテン製造用触媒及びその使用
1か月前
本田技研工業株式会社
二酸化炭素回収装置
1か月前
株式会社ダイセル
圧力容器
9日前
株式会社HELIX
加熱装置
3日前
いであ株式会社
PFAS除去用バイオ炭の製造方法
1か月前
三浦工業株式会社
撹拌装置
1か月前
個人
フッ化炭素糸物にフッ素をコーティングした浄水手段
1か月前
JFEエンジニアリング株式会社
二酸化炭素回収方法
1か月前
栗田工業株式会社
有機物含有水の脱泡処理装置
25日前
三菱重工業株式会社
石膏脱水システム
1か月前
株式会社ダルトン
空気清浄化装置のフィルタ保持装置
2日前
日本スピンドル製造株式会社
除去フィルタ及び除去装置
2日前
パナソニックIPマネジメント株式会社
除湿装置
1か月前
パナソニックIPマネジメント株式会社
除湿装置
1か月前
パナソニックIPマネジメント株式会社
除湿装置
1か月前
株式会社豊田中央研究所
二酸化炭素回収システム
11日前
続きを見る
他の特許を見る