TOP
|
特許
|
意匠
|
商標
特許ウォッチ
Twitter
他の特許を見る
10個以上の画像は省略されています。
公開番号
2025166658
公報種別
公開特許公報(A)
公開日
2025-11-06
出願番号
2024070833
出願日
2024-04-24
発明の名称
情報処理装置、情報処理方法及びプログラム
出願人
個人
代理人
個人
主分類
G06Q
50/10 20120101AFI20251029BHJP(計算;計数)
要約
【課題】イベントに参加する者の待ち時間をより高い価値に価値化する情報処理装置、情報処理方法、情報処理プログラムを提供する。
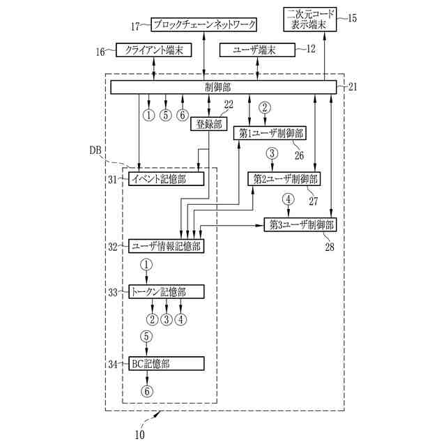
【解決手段】イベント支援装置10は、イベント記憶部31、ユーザ情報記憶部32、第1ユーザ制御部26を備える。イベント記憶部31は、所定の会場で開催されるイベントと、イベントの開催日時と、イベントに参加するユーザがイベントの開催日に来場してアクセスするアクセス先のアドレスとを関連付けて記憶する。ユーザ情報記憶部32は、ユーザのユーザ識別情報と、ユーザの保有トークンとを関連付けて記憶する。第1ユーザ制御部26は、開催日待時間トークンを、ユーザの待ち時間に応じて発行し、当該ユーザの保有トークンとする。第1ユーザ制御部26は、開催日アクショントークンを、ユーザの開催日アクションに応じて発行し、発行対象の前記ユーザの前記保有トークンとする。
【選択図】図4
特許請求の範囲
【請求項1】
所定の会場で開催されるイベントと、前記イベントが開催される日時と、前記イベントに参加するユーザが前記イベントの開催日に来場してアクセスするアクセス先のアドレスとを関連付けて記憶するイベント記憶部と、
前記イベントに参加する前記ユーザのユーザ識別情報と、前記ユーザが保有する保有トークンとを関連付けて記憶するユーザ情報記憶部と、
前記アドレスにアクセスしてから前記会場の開場までの待ち時間に対応付けて予め設定された開催日待時間トークンを、前記ユーザの前記待ち時間に応じて発行し、発行対象の前記ユーザの前記保有トークンとする第1ユーザ制御部と
を備え、
前記第1ユーザ制御部はさらに、
前記アドレスにアクセスした前記ユーザから前記開催日に取得する開催日アクションと、前記開催日アクションの評価基準である基準アクションとの相違度に基づいた開催日アクショントークンを、前記ユーザの前記開催日アクションに応じて発行し、発行対象の前記ユーザの前記保有トークンとする
ことを特徴とする情報処理装置。
続きを表示(約 1,600 文字)
【請求項2】
前記第1ユーザ制御部は、
前記ユーザに対して予め設定された来場推奨時刻と、前記ユーザの来場時刻との差分に基づいた来場トークンを、前記ユーザの来場時刻に応じて発行し、発行対象の前記ユーザの前記保有トークンとする
請求項1に記載の情報処理装置。
【請求項3】
前記ユーザとして受け付けた受付時から前記開催の前の所定日時までの時間に基づいた開催前待時間トークンと、前記受付時から前記所定日時までの間に前記ユーザから取得した開催前アクションに基づいた開催前アクショントークンとの少なくとも一方を、発行対象の前記ユーザの前記保有トークンとする第2ユーザ制御部
をさらに備える請求項1または2に記載の情報処理装置。
【請求項4】
前記ユーザに対して、前記イベントの開催前までの前記保有トークンに基づいて前記イベントの終了後に、特定のイベント後トークンを発行して前記保有トークンとする第3ユーザ制御部
をさらに備える請求項1または2に記載の情報処理装置。
【請求項5】
前記第3ユーザ制御部は、
前記イベントの開催前までの前記保有トークンに基づいて複数の前記ユーザをランク付けし、所定のランク以上にランク付けされた前記ユーザに対して、前記イベント後トークンを発行して前記保有トークンとする請求項4に記載の情報処理装置。
【請求項6】
所定の会場で開催されるイベントと、前記イベントが開催される日時と、前記イベントに参加するユーザが前記イベントの開催日に来場してアクセスするアクセス先のアドレスとを関連付けて記憶するイベント記憶ステップと、
前記イベントに参加する前記ユーザのユーザ識別情報と、前記ユーザが保有する保有トークンとを関連付けて記憶するユーザ情報記憶ステップと、
前記アドレスにアクセスしてから前記会場の開場までの待ち時間に対応付けて予め設定された開催日待時間トークンを、前記ユーザの前記待ち時間に応じて発行し、発行対象の前記ユーザの前記保有トークンとする第1ユーザ制御ステップと
を有し、
前記第1ユーザ制御ステップはさらに、
前記アドレスにアクセスした前記ユーザから前記開催日に取得する開催日アクションと、前記開催日アクションの評価基準である基準アクションとの相違度に基づいた開催日アクショントークンを、前記ユーザの前記開催日アクションに応じて発行し、発行対象の前記ユーザの前記保有トークンとする
ことを特徴とする情報処理方法。
【請求項7】
所定の会場で開催されるイベントと、前記イベントが開催される日時と、前記イベントに参加するユーザが前記イベントの開催日に来場してアクセスするアクセス先のアドレスとを関連付けて記憶するイベント記憶ステップと、
前記イベントに参加する前記ユーザのユーザ識別情報と、前記ユーザが保有する保有トークンとを関連付けて記憶するユーザ情報記憶ステップと、
前記アドレスにアクセスしてから前記会場の開場までの待ち時間に対応付けて予め設定された開催日待時間トークンを、前記ユーザの前記待ち時間に応じて発行し、発行対象の前記ユーザの前記保有トークンとする第1ユーザ制御ステップと
をコンピュータに実行させる情報処理プログラムであり、
前記第1ユーザ制御ステップはさらに、
前記アドレスにアクセスした前記ユーザから前記開催日に取得する開催日アクションと、前記開催日アクションの評価基準である基準アクションとの相違度に基づいた開催日アクショントークンを、前記ユーザの前記開催日アクションに応じて発行し、発行対象の前記ユーザの前記保有トークンとする
ことを特徴とする情報処理プログラム。
発明の詳細な説明
【技術分野】
【0001】
本発明は、情報処理装置、情報処理方法及び情報処理プログラムに関する。
続きを表示(約 2,400 文字)
【背景技術】
【0002】
特定のスポーツチームを応援するファンを管理し、その応援活動に応じてファンを評価するファン管理サーバ装置が例えば特許文献1に開示されている。このファン管理サーバ装置は、ネットワークを介して複数のユーザのユーザ端末装置に接続され、複数のユーザのスポーツチームに関するファン活動を管理する。ファン管理サーバ装置は、来場検出部と、位置情報取得部と、ファン活動情報記憶部と、ファン活動管理部とを備える。来場検出部は、スポーツチームに関するイベントが行われる会場へのユーザの来場を検出する。ファン活動情報記憶部は、所定のファン活動毎にユーザに付与するポイント数を記憶する。ファン活動管理部は、いずれかのユーザのユーザ端末装置から、当該ユーザのスポーツチームに関するファン活動の報告を受け付け、ファン活動情報記憶部を参照して、報告を受け付けたファン活動に基づき、当該ユーザにポイントを付与するとともに、ユーザに付与されたポイント付与履歴を管理する。
【0003】
また、特許文献2には、アトラクション施設での利用者の待時間に応じたポイントを利用者に付与して、利用者の保有するポイントに応じたサービスまたは物品を利用者に提供する業務を支援する施設運営支援システムが開示されている。この施設運営支援システムは、携帯端末装置とネットワークを介して通信可能に接続されたサーバ装置と、アトラクションの利用者の通過途中にある第1の地点、第2の地点、第3の地点にそれぞれ配置された無線発信装置とを備える。携帯端末装置およびサーバ装置のいずれかは、携帯端末装置と無線発信装置との無線通信を行った時刻に基づいて施設での利用者の待ち時間を計測する待ち時間計測部を備え、待ち時間計測部は、携帯端末装置が、第1の地点に配置された無線発信装置と無線通信を行った時刻により待ち時間の計測を開始し、第3の地点に配置された無線発信装置と無線通信を行った時刻により待ち時間の計測を終了し、第2の地点に配置された無線発信装置と無線通信が行われたことにより計測された待ち時間を確定している。そして、確定した待ち時間に応じて予め設定された換算率に基づいて獲得ポイントを算出して、その獲得ポイントにより利用者の保有する累計ポイントを更新している。
【先行技術文献】
【特許文献】
【0004】
特開2015-092330号公報
特開2018-084900号公報
【発明の概要】
【発明が解決しようとする課題】
【0005】
近年では、特定の歌手、タレントなどの芸能人が出演するコンサートなどのイベントが開催される会場としても、アリーナ、スタジアム、ドームと呼ばれる大型施設が用いられることが多く、会場の規模が大きいほどイベントに観客として参加する参加者の人数は多いことが通例である。参加者数が多い場合ほど開場を待つ待ち列で待機する待ち時間が長くなる。イベントが開催されるまでのこうした待ち時間は参加者にとっては苦痛でもある。この点、特許文献1に記載されるファン管理サーバ装置は、スポーツチームのファンのファン活動に応じて、また、特許文献2に記載される発明はアトラクション施設での待ち時間に応じて、それぞれポイントが付与されるものの、イベントが開催されるまでの待ち時間の価値化には向上の余地がある。
【0006】
そこで、本発明は、イベントに参加する者の待ち時間をより高い価値に価値化する情報処理装置、情報処理方法、情報処理プログラムを提供することを目的とする。
【課題を解決するための手段】
【0007】
本発明の情報処理装置は、イベント記憶部と、ユーザ情報記憶部と、第1ユーザ制御部とを備える。イベント記憶部は、所定の会場で開催されるイベントと、イベントが開催される日時と、イベントに参加するユーザがイベントの開催日に来場してアクセスするアクセス先のアドレスとを関連付けて記憶する。ユーザ情報記憶部は、イベントに参加するユーザのユーザ識別情報と、ユーザが保有する保有トークンとを関連付けて記憶する。第1ユーザ制御部は、アドレスにアクセスしてから会場の開場までの待ち時間に対応付けて予め設定された開催日待時間トークンを、ユーザの待ち時間に応じて発行し、発行対象のユーザの保有トークンとする。第1ユーザ制御部はさらに、上記アドレスにアクセスしたユーザから開催日に取得する開催日アクションと、開催日アクションの評価基準である基準アクションとの相違度に基づいた開催日アクショントークンを、ユーザの開催日アクションに応じて発行し、発行対象の前記ユーザの前記保有トークンとする。
【0008】
前記第1ユーザ制御部は、ユーザに対して予め設定された来場推奨時刻と、ユーザの来場時刻との差分に基づいた来場トークンを、ユーザの来場時刻に応じて発行し、発行対象のユーザの保有トークンとすることが好ましい。
【0009】
情報処理装置は、ユーザとして受け付けた受付時から開催の前の所定日時までの時間に基づいた開催前待時間トークンと、受付時から上記所定日時までの間にユーザから取得した開催前アクションに基づいた開催前アクショントークンとの少なくとも一方を、発行対象のユーザの前記保有トークンとする第2ユーザ制御部をさらに備えることが好ましい。
【0010】
ユーザに対して、イベントの開催前までの前記保有トークンに基づいてイベントの終了後に、特定のイベント後トークンを発行して保有トークンとする第3ユーザ制御部をさらに備えることが好ましい。
(【0011】以降は省略されています)
この特許をJ-PlatPat(特許庁公式サイト)で参照する
関連特許
個人
詐欺保険
1か月前
個人
縁伊達ポイン
1か月前
個人
5掛けポイント
7日前
個人
RFタグシート
18日前
個人
職業自動販売機
今日
個人
QRコードの彩色
1か月前
個人
ペルソナ認証方式
15日前
個人
地球保全システム
1か月前
個人
情報処理装置
10日前
個人
自動調理装置
17日前
個人
為替ポイント伊達夢貯
2か月前
個人
冷凍食品輸出支援構造
2か月前
個人
表変換編集支援システム
2か月前
個人
残土処理システム
1か月前
個人
農作物用途分配システム
1か月前
個人
知財出願支援AIシステム
2か月前
個人
タッチパネル操作指代替具
24日前
個人
インターネットの利用構造
14日前
個人
サービス情報提供システム
2日前
個人
知的財産出願支援システム
1か月前
個人
行動時間管理システム
2か月前
個人
携帯端末障害問合せシステム
23日前
個人
スケジュール調整プログラム
23日前
個人
パスワード管理支援システム
2か月前
個人
AIによる情報の売買の仲介
2か月前
個人
エリアガイドナビAIシステム
15日前
個人
食品レシピ生成システム
1か月前
日本精機株式会社
施工管理システム
2か月前
株式会社キーエンス
受発注システム
1か月前
株式会社アジラ
進入判定装置
2か月前
株式会社キーエンス
受発注システム
1か月前
株式会社キーエンス
受発注システム
1か月前
個人
パスポートレス入出国システム
2か月前
個人
AIキャラクター制御システム
2か月前
個人
システム及びプログラム
1か月前
個人
海外支援型農作物活用システム
1か月前
続きを見る
他の特許を見る