TOP
|
特許
|
意匠
|
商標
特許ウォッチ
Twitter
他の特許を見る
公開番号
2025166168
公報種別
公開特許公報(A)
公開日
2025-11-05
出願番号
2025135067,2023563842
出願日
2025-08-14,2022-04-25
発明の名称
ポペット形弁構成
出願人
スウェージロック カンパニー
代理人
個人
,
個人
,
個人
,
個人
主分類
F16K
1/32 20060101AFI20251028BHJP(機械要素または単位;機械または装置の効果的機能を生じ維持するための一般的手段)
要約
【課題】流体流動及び流動送達を制御するために使用されるポペット弁に関する。
【解決手段】弁の弁座キャリア部分組立体は、中央通路内で半径方向に延出する環状突出部を含む環状弁座キャリア本体と、環状突出部上にオーバーモールドされた環状プラスチック製シールリング337とを含み、環状プラスチック製シールリングは弁座シールを画定する。
【選択図】図5A
特許請求の範囲
【請求項1】
ポペット部分組立体であって、
軸方向に延在する上部ステム部と軸方向に延在する下部ステム部との間に配置された中央部を含むポペットであって、前記中央部は、上向きの半径方向に延在するシール部及び下向きの半径方向に延在するポペット肩部を画定する、ポペットと、
前記下部ステム部の拡大した足部より上に固定された保定クリップと、
前記下部ステム部の周囲に配置され、前記ポペット肩部と前記保定クリップとの間に捕捉されたポペットばねと、
を備える、ポペット部分組立体。
続きを表示(約 1,100 文字)
【請求項2】
前記ポペットばねは、前記ポペット肩部と前記保定クリップとの間で予圧される、請求項1に記載のポペット部分組立体。
【請求項3】
前記保定クリップは、e字形状保定クリップを備える、請求項1に記載のポペット部分組立体。
【請求項4】
前記ポペットは、前記ポペットの下部ステム部から弁座シール面の下流側の前記ポペットの上部まで延在する内部通路を含む、請求項1に記載のポペット部分組立体。
【請求項5】
前記拡大した足部上に配置されたガスケットシールをさらに備える、請求項1に記載のポペット部分組立体。
【請求項6】
弁であって、
第一端部ポートと第二端部ポートとの間に配置された中央穴部を含む弁体ハウジングと、
1つ以上の側方流アパーチャのうちの少なくとも1つが前記第一端部ポートと流体連通するように、前記弁体の中央穴部に内設された本体プラグと、
ポペット部分組立体であって、
軸方向に延在する上部ステム部と軸方向に延在する下部ステム部との間に配置された中央部を含むポペットであって、前記中央部は、上向きの半径方向に延在するシール部及び下向きの半径方向に延在するポペット肩部を画定する、ポペットと、
前記下部ステム部の拡大した足部より上に固定された保定クリップと、
前記下部ステム部の周囲に配置され、前記ポペット肩部と前記保定クリップとの間に捕捉されたポペットばねであって、前記保定クリップが前記ポペットばねを圧縮するように位置決めされている状態で、前記保定クリップは前記弁体ハウジングの中央穴部内のざぐり内に据え付けられる、ポペットばねと、
を備える、ポペット部分組立体と、
を備える、弁。
【請求項7】
前記保定クリップは、前記ポペットの拡大した足部から軸方向に離隔される、請求項6に記載の弁。
【請求項8】
その弁座キャリアが前記ポペットの半径方向に延在するポペットシール部と密閉係合するための弁座シール面を含んでいる状態で、前記弁体ハウジング内に配置され、前記本体プラグの端面と前記中央キャビティ内のざぐりとの間に固定された弁座キャリア部分組立体を備える、請求項6に記載の弁。
【請求項9】
前記ポペットばねは、システムの流圧から独立して、前記ポペットに対して一貫した閉鎖力を与えるように構成される、請求項8に記載の弁。
【請求項10】
前記ポペットの上部ステム部を受け入れる前記弁体ハウジングの上部凹部内に設置されたガイドリングをさらに備える、請求項6に記載の弁。
(【請求項11】以降は省略されています)
発明の詳細な説明
【技術分野】
【0001】
関連出願の相互参照
本願は、2021年4月27日に出願された米国仮特許出願第63/180,186号(POPPET-STYLE VALVE ARRANGEMENTS)に対する優先権及び全ての利益を主張し、その開示全体が参照により本明細書に組み込まれる。
続きを表示(約 2,500 文字)
【0002】
本発明は、流体流動デバイス及び流体送達デバイスと、流体流動方法及び流体送達方法とに関し、より具体的には、流体流動及び流動送達を制御するために使用されるポペット弁に関する。
【背景技術】
【0003】
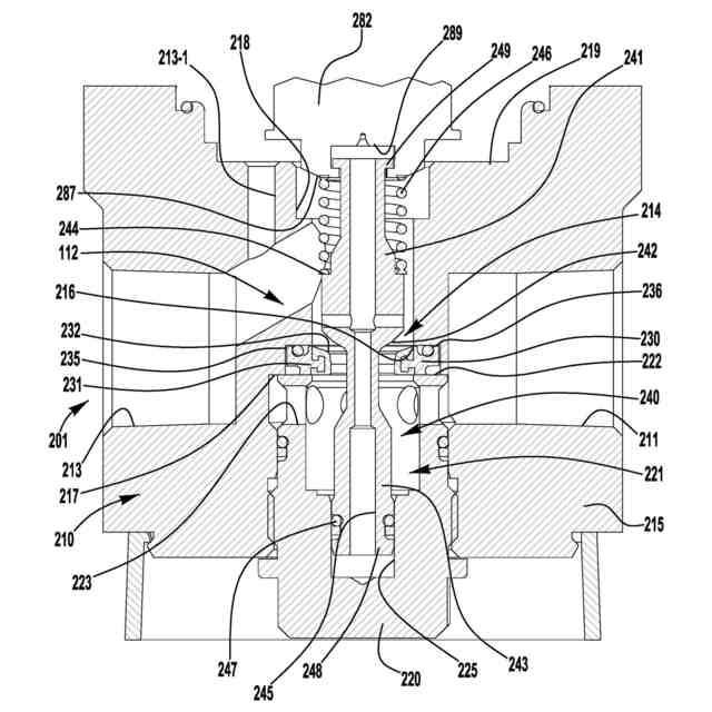
ポペット形弁は、気体及び液体の流体送達、流量制御、及び圧力制御のための流量制御機構として使用されることがよく知られている。ポペット弁構成は、シール部(例えば、拡大ディスク、テーパ状端部)を有する軸方向に可動なステムを含み、このシール部は、ステムが閉位置にある場合、弁通路内の環状弁座に対して密閉し、ステムが開位置にある場合、シートから軸方向に分離して、流体が弁通路を通って流れることを可能にする。多くの異なるタイプの流体制御デバイスは、ダイヤフラム弁、ベローズ弁、及び圧力調整器を含むポペット弁機構を利用する。
【発明の概要】
【0004】
本開示の例示的な実施形態によれば、弁の弁座キャリア部分組立体は、中央通路内で半径方向に延出する環状突出部を含む環状弁座キャリア本体と、環状突出部上にオーバーモールドされた環状プラスチック製シールリングとを含み、環状プラスチック製シールリングは弁座シールを画定する。
【0005】
本開示の別の例示的な実施形態によれば、弁組立体は、入口ポートと出口ポートとの間に流路を画定する弁体と、入口ポートと出口ポートとの間の流路の軸方向の延出部を取り囲む環状シールリングと、弁体と組み立てられ、閉位置と開位置との間で軸方向に可動であるポペットとを含む。シールリングは、流路内で半径方向に延出する突出部とインタロックする。
【0006】
本開示の別の例示的な実施形態によれば、弁の弁座キャリア部分組立体は、Oリングシール上に組み立てられた第一及び第二リング構成要素を含み、Oリングシールの一部は、第一及び第二リング構成要素の内縁部間で内径ギャップ内に露出して、弁座シールを画定する。
【0007】
本開示の別の例示的な実施形態によれば、ポペット部分組立体は、軸方向に延在する上部ステム部と下部ステム部との間に配置された中央部を有するポペットであって、中央部は上向きの半径方向に延在するシール部と、下向きの半径方向に延在する肩部とを画定する、ポペットと、下部ステム部の拡大した足部より上に固定された保定クリップと、下部ステム部の周囲に配置され、肩部と保定クリップとの間に捕捉されたポペットばねとを含む。
【0008】
本開示の別の例示的な実施形態によれば、圧力調整器は、弁体と、弁体内に配置され、軸方向に延在する上部ステム部及び半径方向に延在するポペットシール部を含むポペットと、弁体と組み立てられ、下向きの荷重力を加えるように動作可能である荷重機構と、荷重機構とポペットとの間に配置されて、荷重機構からポペットに荷重力を伝達する感知要素とを含む。感知要素の下端部は、ポペットの上部ステム部の拡大した頭部を受け入れるソケットを含み、ソケットは感知要素に対するポペットの軸方向の移動を可能にするサイズに作られる。圧力調整器は、ポペットの上部ステム部の周囲に配置され、ポペットの肩部とソケットの端面との間で圧縮されるオーバートラベルばねをさらに含む。
【0009】
本開示の別の例示的な実施形態によれば、圧力調整器は、ポペット及び弁座シールを保定する弁体ハウジングブロックを有する弁体モジュールと、ベントアダプタブロックに隣接して固定され、荷重要素とポペットとの間に配置された感知部材に荷重力を加えるように構成された荷重要素を保定する荷重ブロックを有する荷重モジュールと、弁体ハウジングブロックと荷重ブロックとの間に固定され、感知部材をポペットと係合して保定するピストンアダプタブロックを有するピストンモジュールであって、感知部材はピストンを有する、ピストンモジュール、及び弁体ハウジングブロックと荷重ブロックとの間に固定され、感知部材内のベント通路と流体連通するベントポートを画定するベントアダプタブロックを有するベントモジュールのうちの少なくとも1つとを含む。弁体ハウジングブロックと、ピストンアダプタブロック及びベントアダプタブロックのうちの少なくとも1つとはそれぞれ、均一なサイズの第一組立体インタフェースを含み、荷重ブロックと、ピストンアダプタブロック及びベントアダプタブロックのうちの少なくとも1つとはそれぞれ、弁体ハウジングブロックと、ピストンアダプタブロック及びベントアダプタブロックのうちの少なくとも1つとのうちの隣接するものの第一組立体インタフェースと嵌合及び密閉係合している均一なサイズの第二組立体インタフェースを含むことで、弁体ハウジングブロックは、ピストンモジュール及びベントモジュールのうちの少なくとも1つのそれぞれを省略することによって荷重ブロックに直接組み立てられるように構成される。
【0010】
本開示の別の例示的な実施形態によれば、圧力調整器は、弁座を保定する弁体と、弁体内に配置され、弁座に対して軸方向に可動であるポペットと、弁体と組み立てられ、下向きの荷重力を加えるように動作可能であるばね荷重機構と、ばね荷重機構とポペットとの間に配置され、ばね荷重機構からポペットに荷重力を伝達する感知要素とを含む。ばね荷重機構は、ばねハウジングと、ばねハウジング内に保定され、上部力調整プレートと下部ばね軸受プレートとの間に配置されたばね要素と、ばねハウジングと組み立てられ、上部力調整プレートと螺合しているねじ付きステム部を含む調整ハンドルとを含む。上部力調整プレートはばねハウジング内に回転して固定され、軸方向に摺動可能であるため、使用者が調整ハンドルを回転させると、上部力調整プレートが軸方向に移動し、下向きの荷重力が調整される。
【図面の簡単な説明】
(【0011】以降は省略されています)
この特許をJ-PlatPat(特許庁公式サイト)で参照する
関連特許
スウェージロック カンパニー
ポペット形弁構成
3日前
個人
留め具
25日前
個人
鍋虫ねじ
2か月前
個人
回転伝達機構
3か月前
個人
紛体用仕切弁
2か月前
個人
ホース保持具
6か月前
個人
トーションバー
7か月前
個人
差動歯車用歯形
4か月前
個人
ジョイント
1か月前
個人
給排気装置
1か月前
株式会社不二工機
電磁弁
4か月前
個人
ナット
1か月前
株式会社不二工機
電磁弁
5か月前
個人
地震の揺れ回避装置
3か月前
個人
ナット
3日前
個人
吐出量監視装置
2か月前
カヤバ株式会社
緩衝器
4か月前
兼工業株式会社
バルブ
4日前
株式会社三協丸筒
枠体
7か月前
柿沼金属精機株式会社
分岐管
2か月前
カヤバ株式会社
緩衝器
1か月前
カヤバ株式会社
緩衝器
4か月前
カヤバ株式会社
ダンパ
4か月前
カヤバ株式会社
ダンパ
4か月前
株式会社不二工機
電動弁
7か月前
株式会社ノーリツ
分配弁
1か月前
株式会社不二工機
電動弁
1か月前
株式会社ニフコ
クリップ
1か月前
株式会社不二工機
電磁弁
2か月前
株式会社ノーリツ
分配弁
6か月前
株式会社ノーリツ
分配弁
6か月前
株式会社ノーリツ
分配弁
6か月前
個人
固着具と固着具の固定方法
5か月前
個人
固着具と固着具の固定方法
5か月前
株式会社フジキン
ボールバルブ
5か月前
個人
固着具と固着具の固定方法
5か月前
続きを見る
他の特許を見る