TOP
|
特許
|
意匠
|
商標
特許ウォッチ
Twitter
他の特許を見る
10個以上の画像は省略されています。
公開番号
2025165169
公報種別
公開特許公報(A)
公開日
2025-11-04
出願番号
2024069112
出願日
2024-04-22
発明の名称
スイッチ装置
出願人
株式会社東海理化電機製作所
代理人
個人
,
個人
主分類
G06F
3/02 20060101AFI20251027BHJP(計算;計数)
要約
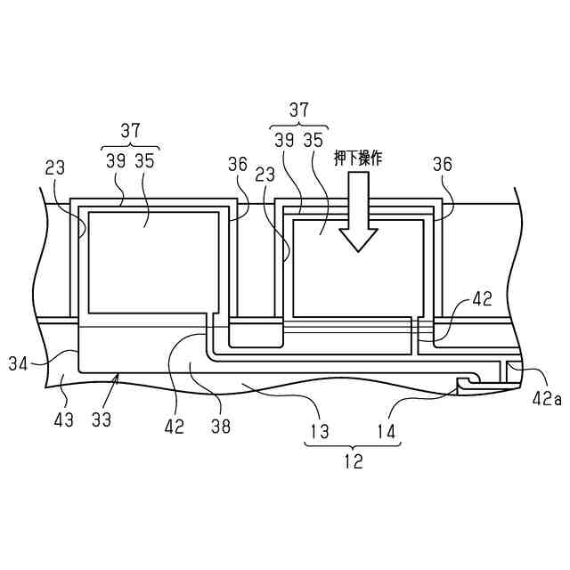
【課題】センサシートの破断防止と、タッチ操作の検出感度の向上と、を両立することができるスイッチ装置を提供する。
【解決手段】スイッチ装置1は、押下操作される弾性変形可能なパネル2と、パネル2の押下操作によって可動する複数の可動部材16と、可動部材16の移動を検出する検出部17と、パネル2に対する人体の接触、パネル2に対する人体の接近、及びパネル2の押下操作の少なくとも1つを検出するセンサシート33と、を備える。センサシート33は、撓み変形が可能なシート基材34と、シート基材34に設けられた複数の電極35と、を有する。シート基材34は、複数の電極35の隣同士の間に形成された空隙部36を有する。複数の電極35は、少なくとも2つにおいて配線が結線されている。
【選択図】図3
特許請求の範囲
【請求項1】
押下操作される操作部が操作機能ごとに割り当てられた弾性変形可能なパネルと、前記操作機能ごとに設けられるとともに前記操作部への押下操作に応じて可動する複数の可動部材と、押下操作に基づく前記可動部材の移動を検出する検出部と、前記パネルに対する人体の接触、前記パネルに対する人体の接近、及び前記パネルの押下操作の少なくとも1つを検出するために、前記パネル及び前記複数の可動部材の間に配置されたセンサシートと、を備えたスイッチ装置であって、
前記センサシートは、撓み変形が可能なシート基材と、前記シート基材に前記操作部ごとに設けられた複数の電極と、を有し、
前記シート基材は、前記複数の電極の隣同士の間に形成された空隙部を有し、
前記複数の電極の各々の配線は、少なくとも2つが結線されている、スイッチ装置。
続きを表示(約 680 文字)
【請求項2】
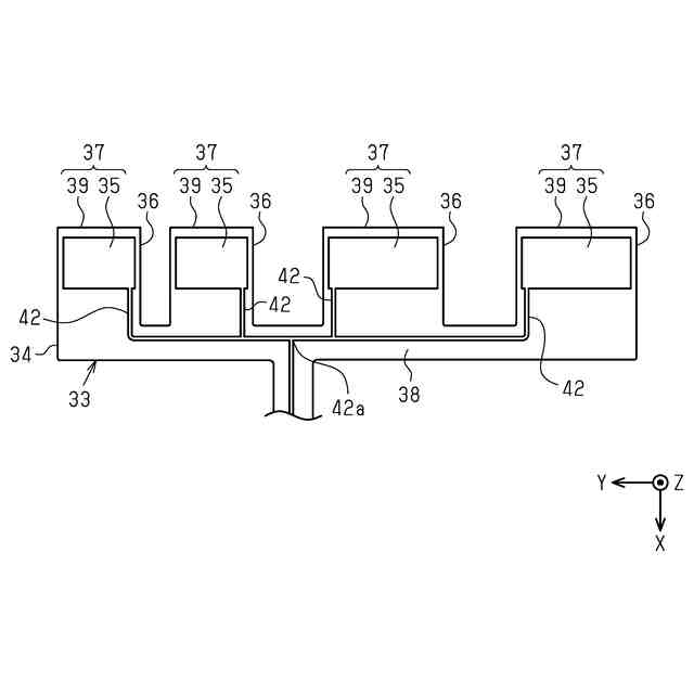
前記センサシートは、隣同士の前記空隙部の間に設けられるとともに前記電極が配置された複数の電極配置部と、前記複数の電極配置部を繋ぐ連結部と、を有し、
前記複数の電極配置部の少なくとも一部は、平板状の前記パネルに対向するように前記可動部材の基端面に配置され、
前記連結部の少なくとも一部は、前記可動部材の前記基端面に対して交差する方向に折り曲げ形成されるとともに前記可動部材の側方に配置され、
前記配線は、少なくとも一部が前記連結部に配置されている、請求項1に記載のスイッチ装置。
【請求項3】
前記パネルを支持するとともに前記可動部材を摺動可能に収容する筐体を備え、
少なくとも前記連結部は、前記筐体の壁部の外面に沿って配置されている、請求項2に記載のスイッチ装置。
【請求項4】
前記センサシートは、前記パネルへの押下操作によって前記可動部材が移動した際に撓み変形する撓み部を有する、請求項1に記載のスイッチ装置。
【請求項5】
前記センサシートは、複数の前記空隙部の開口が同じ辺に並び配置されることにより、櫛歯状に形成されている、請求項1に記載のスイッチ装置。
【請求項6】
前記パネルに前記操作部に応じたマーク部を照明によって表示するための光源を備える、請求項1に記載のスイッチ装置。
【請求項7】
前記可動部材は、前記光源の光を前記パネルに向かって導くライトガイドの機能を有する、請求項6に記載のスイッチ装置。
発明の詳細な説明
【技術分野】
【0001】
本発明は、パネルへの押下操作を検出するスイッチ装置に関する。
続きを表示(約 1,900 文字)
【背景技術】
【0002】
従来、特許文献1に開示されるように、タッチ操作と押圧操作との両操作を検出可能な操作スイッチ装置が周知である。特許文献1の場合、操作スイッチ部の操作部材の操作領域を指でタッチすると、タッチ検出電極によってタッチが検出される。そして、更に指で操作領域を深く押圧すると、移動先のプッシュスイッチのスイッチ状態が切り替えられることにより、押下操作が検出される。
【先行技術文献】
【特許文献】
【0003】
特開2013-134635号公報
【発明の概要】
【発明が解決しようとする課題】
【0004】
特許文献1の場合、操作部材への指のタッチ操作は、プッシュスイッチの背面に配置されたタッチ検出電極によって検出する。このため、操作部材とタッチ検出電極との間に所定の距離があるので、タッチ操作の検出感度に課題があった。この場合、操作部材へのタッチ操作を近傍のタッチ検出電極で検出することを目的として、例えば操作部材の裏面に操作領域ごとに個別のタッチ検出電極を1つずつ配置する対策が考えられる。しかし、この対策では、各タッチ検出電極のサイズが小さくなってしまうので、検出感度を高くできない。
【0005】
タッチ操作の検出感度を高めるために、例えば複数の操作領域の間で共通に使用する1つの大きなタッチ検出電極を操作部材の裏面に配置することも考えられる。しかし、この構成の場合、例えば操作部材の1つの操作領域を押下操作したとき、タッチ検出電極においては押下操作した部分にのみ負荷かかかってしまう。よって、タッチ検出電極が負荷のかかった部分で破断してしまう可能性があるので、他の対策が必要であった。
【課題を解決するための手段】
【0006】
前記課題を解決するスイッチ装置は、押下操作される操作部が操作機能ごとに割り当てられた弾性変形可能なパネルと、前記操作機能ごとに設けられるとともに前記操作部への押下操作に応じて可動する複数の可動部材と、押下操作に基づく前記可動部材の移動を検出する検出部と、前記パネルに対する人体の接触、前記パネルに対する人体の接近、及び前記パネルの押下操作の少なくとも1つを検出するために、前記パネル及び前記複数の可動部材の間に配置されたセンサシートと、を備えた装置であって、前記センサシートは、撓み変形が可能なシート基材と、前記シート基材に前記操作部ごとに設けられた複数の電極と、を有し、前記シート基材は、前記複数の電極の隣同士の間に形成された空隙部を有し、前記複数の電極の各々の配線は、少なくとも2つが結線されている。
【発明の効果】
【0007】
本発明は、センサシートの破断防止と、タッチ操作の検出感度の向上と、を両立することができる。
【図面の簡単な説明】
【0008】
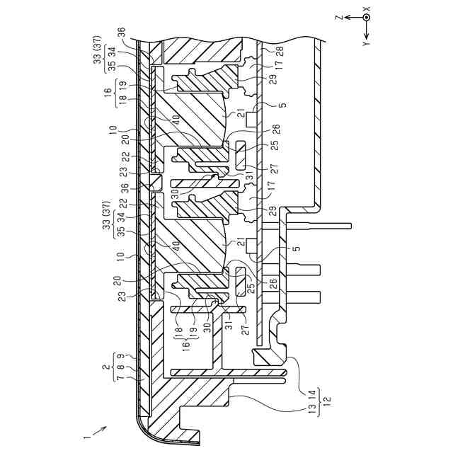
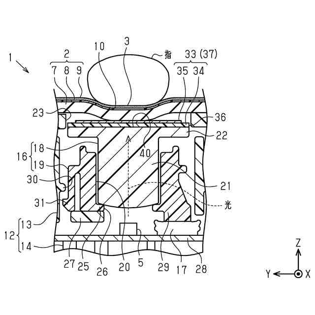
一実施形態に係るスイッチ装置の正面図である。
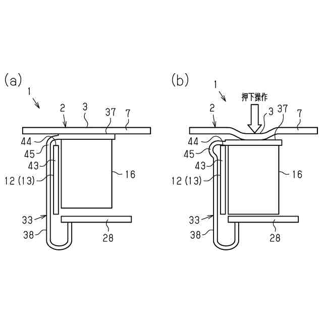
(a)~(c)は、パネルの押下操作の概要を示す説明図である。
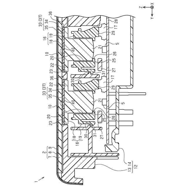
スイッチ装置の縦断面図である。
スイッチ装置の縦断面の拡大図である。
筐体に組付いたセンサシートの斜視図である。
センサシートの展開図である。
(a)はパネルを押下操作する前の状態図であり、(b)はパネルを押下操作した際の状態図である。
スイッチ装置の電気構成図である。
センサシートの作用図である。
別例に係るセンサシートの斜視図である。
(a)はパネルを押下操作する前の状態図であり、(b)はパネルを押下操作した際の状態図である。
【発明を実施するための形態】
【0009】
以下、本開示の一実施形態を説明する。
(スイッチ装置1)
図1に示すように、スイッチ装置1は、機器の状態を切り替える際にユーザによって操作されるパネル2を備える。機器は、例えば、車載用のエアーコンディショナー装置である。エアーコンディショナー装置の場合、機器の状態の切り替えは、例えば、温度切り替え、オート機能のオンオフの切り替え、A/C機能のオンオフの切り替え、送風モードの切り替えなどが挙げられる。
【0010】
パネル2の表面には、複数の操作機能ごとに操作部3が割り振られている。操作機能は、例えば、温度切替機能、オートオンオフ機能、A/Cオンオフ機能などが挙げられる。操作部3は、例えば、温度上昇操作用、温度下降操作用、オートオンオフ切替用、A/Cオンオフ切替用などがある。
(【0011】以降は省略されています)
この特許をJ-PlatPat(特許庁公式サイト)で参照する
関連特許
個人
詐欺保険
1か月前
個人
縁伊達ポイン
1か月前
個人
RFタグシート
18日前
個人
5掛けポイント
7日前
個人
職業自動販売機
今日
個人
QRコードの彩色
1か月前
個人
地球保全システム
1か月前
個人
ペルソナ認証方式
15日前
個人
自動調理装置
17日前
個人
情報処理装置
10日前
個人
為替ポイント伊達夢貯
2か月前
個人
冷凍食品輸出支援構造
2か月前
個人
農作物用途分配システム
1か月前
個人
残土処理システム
1か月前
個人
表変換編集支援システム
2か月前
個人
知財出願支援AIシステム
2か月前
個人
知的財産出願支援システム
1か月前
個人
タッチパネル操作指代替具
24日前
個人
サービス情報提供システム
2日前
個人
インターネットの利用構造
14日前
個人
パスワード管理支援システム
2か月前
個人
携帯端末障害問合せシステム
23日前
個人
AIによる情報の売買の仲介
2か月前
個人
行動時間管理システム
2か月前
個人
スケジュール調整プログラム
23日前
日本精機株式会社
施工管理システム
2か月前
個人
海外支援型農作物活用システム
1か月前
個人
食品レシピ生成システム
1か月前
株式会社キーエンス
受発注システム
1か月前
株式会社アジラ
進入判定装置
2か月前
株式会社キーエンス
受発注システム
1か月前
個人
パスポートレス入出国システム
2か月前
個人
AIキャラクター制御システム
2か月前
株式会社キーエンス
受発注システム
1か月前
個人
システム及びプログラム
1か月前
個人
エリアガイドナビAIシステム
15日前
続きを見る
他の特許を見る