TOP
|
特許
|
意匠
|
商標
特許ウォッチ
Twitter
他の特許を見る
公開番号
2025164420
公報種別
公開特許公報(A)
公開日
2025-10-30
出願番号
2024068393
出願日
2024-04-19
発明の名称
ガス分離膜ユニット、ガス分離システム及び富化ガスの製造方法
出願人
UBE株式会社
代理人
弁理士法人翔和国際特許事務所
主分類
B01D
53/22 20060101AFI20251023BHJP(物理的または化学的方法または装置一般)
要約
【課題】製品ガスの回収率や純度に優れたガス分離が可能なガス分離膜ユニット及びそれを用いたガス分離システムを提供する。
【解決手段】原料混合ガスが供給されて、当該原料混合ガスに含まれるガスのうち少なくとも1種を濃縮富化するガス分離膜ユニットであって、
前記ガス分離膜ユニットは、複数のガス分離膜モジュールを並列に組み合わされてなり、複数の該ガス分離膜モジュールは、それぞれガス入口、非透過ガス排出口、透過ガス排出口を有し、各モジュールのガス入口、非透過ガス排出口、透過ガス排出口がそれぞれ共用されて、前記ガス分離膜ユニットの、ガス入口、非透過ガス排出口及び透過ガス排出口が構成されており、
複数の前記ガス分離膜モジュールのガス分離選択性又はガス透過性の変動係数が、0.01以上0.49以下である、ガス分離膜ユニット。
【選択図】図1
特許請求の範囲
【請求項1】
原料混合ガスが供給されて、当該原料混合ガスに含まれるガスのうち少なくとも1種を濃縮富化するガス分離膜ユニットであって、
前記ガス分離膜ユニットは、複数のガス分離膜モジュールを並列に組み合わされてなり、複数の該ガス分離膜モジュールは、それぞれガス入口、非透過ガス排出口、透過ガス排出口を有し、各モジュールのガス入口、非透過ガス排出口、透過ガス排出口がそれぞれ共用されて、前記ガス分離膜ユニットの、ガス入口、非透過ガス排出口及び透過ガス排出口が構成されており、
複数の前記ガス分離膜モジュールのガス分離選択性又はガス透過性の変動係数が、0.01以上0.49以下である、ガス分離膜ユニット。
続きを表示(約 1,300 文字)
【請求項2】
前記ガス分離膜モジュールを構成するガス分離膜が、ポリマーからなる非対称構造を有する中空糸膜である、請求項1に記載のガス分離膜ユニット。
【請求項3】
前記原料混合ガスがCH
4
及びCO
2
を含有し、
前記ガス分離選択性が、CH
4
に対するCO
2
の透過速度比P’CO
2
/P’CH
4
であり、
前記ガス透過性が、CO
2
の透過速度P’CO
2
である、請求項1又は2に記載のガス分離膜ユニット。
ただし、透過速度の単位は、cm
3
(STP)/cm
2
・sec・cmHgである。
【請求項4】
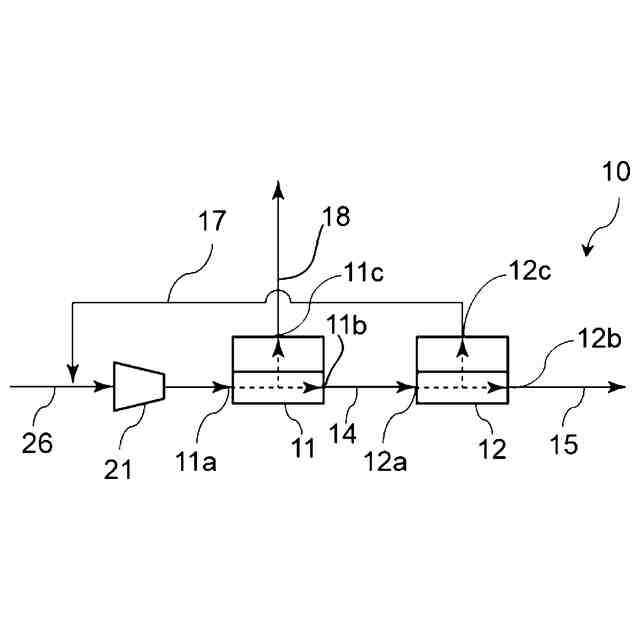
原料混合ガスをガス分離膜ユニットに供給し、当該原料混合ガスに含まれるガスのうち少なくとも1種を濃縮富化するガス分離システムであって、
少なくとも第1ガス分離膜ユニット及び第2ガス分離膜ユニットを備え、
第1ガス分離膜ユニットのガス入口に連結する原料混合ガス供給ラインと、
前記原料混合ガス供給ラインに介在配置した圧縮手段と、
第1ガス分離膜ユニットの非透過ガス排出口と第2ガス分離膜ユニットのガス入口とを連結する第1ラインと、
第2ガス分離膜ユニットの透過ガス排出口と原料混合ガス供給ラインとを連結する第2ラインと、を備え、
第1ガス分離膜ユニット及び第2ガス分離膜ユニットから選択される1以上のユニットが、請求項1に記載のガス分離膜ユニットである、ガス分離システム。
【請求項5】
原料混合ガスをガス分離膜ユニットに供給し、当該原料混合ガスに含まれるガスのうち少なくとも1種を濃縮富化するガス分離システムであって、
第1ガス分離膜ユニット、第2ガス分離膜ユニット及び第3ガス分離膜ユニットを備え、
第1ガス分離膜ユニットのガス入口に連結する原料混合ガス供給ラインと、
前記原料混合ガス供給ラインに介在配置した圧縮手段と、
第1ガス分離膜ユニットの非透過ガス排出口と第2ガス分離膜ユニットのガス入口とを連結する第1ラインと、
第2ガス分離膜ユニットの透過ガス排出口と原料混合ガス供給ラインとを連結する第2ラインと、
第1ガス分離膜ユニットの透過ガス排出口と、第3ガス分離膜ユニットのガス入口とを連結する第3ラインと、
第3ガス分離膜ユニットの非透過ガス排出口と、前記原料混合ガス供給ラインとを連結する第4ラインを備えており、
第1ガス分離膜ユニット、第2ガス分離膜ユニット及び第3ガス分離膜ユニットから選択される1以上のユニットが、請求項1に記載のガス分離膜ユニットである、ガス分離システム。
【請求項6】
請求項4又は5に記載のガス分離システムを用い、第2ガス分離膜ユニットの非透過ガス排出口から富化ガスを取り出す、富化ガスの製造方法。
発明の詳細な説明
【技術分野】
【0001】
本発明は、複数のモジュールからなるガス分離膜ユニット及びそれを用いて混合ガスを分離するガス分離システム並びに該ガス分離システムを用いた富化ガスの製造方法に関する。
続きを表示(約 2,500 文字)
【背景技術】
【0002】
異なる2種類以上のガスを含む混合ガスを各ガスに分離する方法として、膜に対するガスの透過速度の差を利用した膜分離法が知られている。この方法では、透過ガス及び/又は非透過ガスを回収することにより、目的ガスである高純度の高透過性ガス及び/又は高純度の低透過性ガスを得ることができる。混合ガスに含まれる各ガスの膜に対する単位膜面積・単位時間・単位分圧差あたりの透過体積である透過速度は、P’(単位は、×10
-5
cm
3
(STP)/cm
2
・sec・cmHg)で表すことができる。また、膜のガス分離選択性は、(高透過性ガスの透過速度/低透過性ガスの透過速度)で表すことができる。
【0003】
ガス分離膜モジュールを並列に組み合わせた、所定のガス透過性及びガス分離選択性を有するガス分離膜ユニットを用い、原料混合ガスを分離することが記載されている(例えば特許文献1及び2)。
【先行技術文献】
【特許文献】
【0004】
特開2013-128868号公報
特開2022-107005号公報
【発明の概要】
【発明が解決しようとする課題】
【0005】
特許文献2に記載のようにガス分離性能をシミュレーションで評価する場合等を含め、従来技術では、ガス分離膜ユニットのモジュールにおけるガス透過性及びガス分離選択性のばらつきは評価されていない。
しかしながら、複数のガス分離膜モジュールを組み合わせたガス分離膜ユニットは、実際にはモジュール間でガス透過性やガス分離選択性がばらついている。そして、従来のガス分離膜ユニットは、モジュール間のガス透過性やガス分離選択性のばらつきに起因して本来想定される製品ガス純度や製品ガス回収率が得られていないことを発明者は知見した。
したがって本発明の課題は、前述した従来技術が有する欠点を解消し得るガス分離膜ユニット及びガス分離システム並びに富化ガスの製造方法を提供することにある。
【課題を解決するための手段】
【0006】
本発明は、以下の構成を提供する。
【0007】
〔1〕原料混合ガスが供給されて、当該原料混合ガスに含まれるガスのうち少なくとも1種を濃縮富化するガス分離膜ユニットであって、
前記ガス分離膜ユニットは、複数のガス分離膜モジュールを並列に組み合わされてなり、複数の該ガス分離膜モジュールは、それぞれガス入口、非透過ガス排出口、透過ガス排出口を有し、各モジュールのガス入口、非透過ガス排出口、透過ガス排出口がそれぞれ共用されて、前記ガス分離膜ユニットの、ガス入口、非透過ガス排出口及び透過ガス排出口が構成されており、
複数の前記ガス分離膜モジュールのガス分離選択性又はガス透過性の変動係数が、0.01以上0.49以下である、ガス分離膜ユニット。
【0008】
〔2〕前記ガス分離膜モジュールを構成するガス分離膜が、ポリマーからなる非対称構造を有する中空糸膜である、〔1〕に記載のガス分離膜ユニット。
〔3〕前記原料混合ガスがCH
4
及びCO
2
を含有し、
前記ガス分離選択性が、CH
4
に対するCO
2
の透過速度比P’CO
2
/P’CH
4
であり、
前記ガス透過性が、CO
2
の透過速度P’CO
2
である、〔1〕又は〔2〕に記載のガス分離膜ユニット。
ただし、透過速度の単位は、cm
3
(STP)/cm
2
・sec・cmHgである。
【0009】
〔4〕原料混合ガスをガス分離膜ユニットに供給し、当該原料混合ガスに含まれるガスのうち少なくとも1種を濃縮富化するガス分離システムであって、
少なくとも第1ガス分離膜ユニット及び第2ガス分離膜ユニットを備え、
第1ガス分離膜ユニットのガス入口に連結する原料混合ガス供給ラインと、
前記原料混合ガス供給ラインに介在配置した圧縮手段と、
第1ガス分離膜ユニットの非透過ガス排出口と第2ガス分離膜ユニットのガス入口とを連結する第1ラインと、
第2ガス分離膜ユニットの透過ガス排出口と原料混合ガス供給ラインとを連結する第2ラインと、を備え、
第1ガス分離膜ユニット及び第2ガス分離膜ユニットから選択される1以上のユニットが、〔1〕~〔3〕の何れか1項に記載のガス分離膜ユニットである、ガス分離システム。
【0010】
〔5〕原料混合ガスをガス分離膜ユニットに供給し、当該原料混合ガスに含まれるガスのうち少なくとも1種を濃縮富化するガス分離システムであって、
第1ガス分離膜ユニット、第2ガス分離膜ユニット及び第3ガス分離膜ユニットを備え、
第1ガス分離膜ユニットのガス入口に連結する原料混合ガス供給ラインと、
前記原料混合ガス供給ラインに介在配置した圧縮手段と、
第1ガス分離膜ユニットの非透過ガス排出口と第2ガス分離膜ユニットのガス入口とを連結する第1ラインと、
第2ガス分離膜ユニットの透過ガス排出口と原料混合ガス供給ラインとを連結する第2ラインと、
第1ガス分離膜ユニットの透過ガス排出口と、第3ガス分離膜ユニットのガス入口とを連結する第3ラインと、
第3ガス分離膜ユニットの非透過ガス排出口と、前記原料混合ガス供給ラインとを連結する第4ラインを備えており、
第1ガス分離膜ユニット、第2ガス分離膜ユニット及び第3ガス分離膜ユニットから選択される1以上のユニットが、〔1〕~〔3〕の何れか1項に記載のガス分離膜ユニットである、ガス分離システム。
(【0011】以降は省略されています)
この特許をJ-PlatPat(特許庁公式サイト)で参照する
関連特許
UBE株式会社
衝撃吸収材
1か月前
UBE株式会社
金属異物の除去方法および装置
1か月前
UBE株式会社
熱伝導性樹脂組成物及び成形体
1か月前
UBE株式会社
ポリアミド樹脂強化用セルロース系繊維
1か月前
UBE株式会社
放熱板、半導体装置、および放熱板の製造方法
2か月前
UBE株式会社
α-アミノボロン酸誘導体及びその中間体の製造方法
1か月前
UBE株式会社
ガス分離膜ユニット、ガス分離システム及び富化ガスの製造方法
10日前
UBE株式会社
水性ポリウレタン樹脂分散体及びそれを含むコーティング用組成物
1か月前
UBE株式会社
一過性遺伝子発現ベクターに導入された遺伝子からの遺伝子産物を製造する方法
26日前
UBE株式会社
銀粒子、銀粒子組成物、金属接合用組成物、半導体素子、および銀粒子の製造方法
1か月前
UBE株式会社
銀粒子、銀粒子組成物、金属接合用組成物、半導体素子、および銀粒子の製造方法
1か月前
UBE株式会社
RNA送達用組成物、RNA送達用組成物の製造方法、水生動物の飼育方法及び水生動物
1か月前
株式会社西部技研
除湿装置
24日前
株式会社日本触媒
ドロー溶質
18日前
サンノプコ株式会社
消泡剤
16日前
日本バイリーン株式会社
フィルタ
3日前
東レ株式会社
遠心ポッティング方法
10日前
トヨタ自動車株式会社
濾過装置
4日前
松岡紙業 株式会社
油吸着体の製造方法
18日前
大和ハウス工業株式会社
反応装置
1か月前
個人
気液混合装置
16日前
富士電機株式会社
ガス処理システム
13日前
大陽日酸株式会社
CO2の回収方法
1か月前
株式会社フクハラ
圧縮空気圧回路ユニット
16日前
本田技研工業株式会社
ガス回収装置
1か月前
東芝ライテック株式会社
光照射装置
4日前
株式会社明電舎
成膜装置
13日前
日本化薬株式会社
直鎖ブテン製造用触媒及びその使用
10日前
ノリタケ株式会社
触媒材料およびその利用
1か月前
本田技研工業株式会社
二酸化炭素回収装置
1か月前
本田技研工業株式会社
二酸化炭素回収装置
1か月前
本田技研工業株式会社
二酸化炭素回収装置
1か月前
本田技研工業株式会社
二酸化炭素回収装置
1か月前
ノリタケ株式会社
触媒材料およびその利用
1か月前
本田技研工業株式会社
二酸化炭素回収装置
26日前
ノリタケ株式会社
触媒材料およびその利用
1か月前
続きを見る
他の特許を見る