TOP
|
特許
|
意匠
|
商標
特許ウォッチ
Twitter
他の特許を見る
10個以上の画像は省略されています。
公開番号
2025164342
公報種別
公開特許公報(A)
公開日
2025-10-30
出願番号
2024068237
出願日
2024-04-19
発明の名称
光電変換素子用封止材、フィル材、およびフィル材を用いた装置の製造方法
出願人
デンカ株式会社
代理人
個人
主分類
H01L
23/29 20060101AFI20251023BHJP(基本的電気素子)
要約
【課題】封止材を用いた装置の信頼性を向上できる技術を提供する。
【解決手段】本発明のダムアンドフィル法に用いられる光電変換素子用封止材であって、(A)カチオン重合性化合物、および(B)光カチオン重合開始剤を含み、所定の手順iにより測定される経時の接触角において、着液後5秒後の接触角θcが30°以下である。
【選択図】図1
特許請求の範囲
【請求項1】
ダムアンドフィル法に用いられる光電変換素子用封止材であって、
(A)カチオン重合性化合物、および(B)光カチオン重合開始剤を含み、
以下の手順iにより測定される経時の接触角において、着液後5秒後の接触角θcが30°以下である、光電変換素子用封止材。
(手順i)アセトンで脱脂された後15分間オゾン洗浄された無アルカリガラスを準備する。当該光電変換素子用封止材を注入したシリンジを接触角計にセットし、以下の条件iiで液滴を作製し、準備した前記無アルカリガラスに当該液滴を着液させて経時の接触角を測定する。
(条件ii)
・測定方法:経時変化
・制御方法:標準
・解析手法及び方法:液滴法、θ/2法
・視野:ワイド2
・液滴量:5μl
続きを表示(約 870 文字)
【請求項2】
請求項1に記載の光電変換素子用封止材であって、
前記手順iにより測定される経時の接触角において、着液後30秒後の接触角θdが20°以下である、光電変換素子用封止材。
【請求項3】
請求項2に記載の光電変換素子用封止材であって、
前記接触角θdに対する前記接触角θc(θc/θd)が1.0以上2.3以下である、光電変換素子用封止材。
【請求項4】
請求項1または2に記載の光電変換素子用封止材であって、
当該光電変換素子用封止材を0.5mlとして、コーン型プレートCPA-40Zを用いて、25℃、回転数50rpmの条件で測定した粘度が50mPa・s以上、1,000mPa・s以下である、光電変換素子用封止材。
【請求項5】
請求項1または2に記載の光電変換素子用封止材であって、
(C)反応性希釈剤、(D)リン酸化合物、および(E)安定剤の少なくとも一方をさらに含む、光電変換素子用封止材。
【請求項6】
請求項1または2に記載の光電変換素子用封止材であって、
(A)カチオン重合性化合物が、(A-1)エポキシ基を有する脂環式化合物、(A-2)エポキシ基を有する芳香族化合物、および(A-3)グリシジルエーテル化合物ならびにこれらの誘導体の中から選ばれる1種または2種以上を含有する、光電変換素子用封止材。
【請求項7】
請求項1または2に記載の光電変換素子用封止材であって、
フィル材に用いられる、光電変換素子用封止材。
【請求項8】
請求項7に記載の光電変換素子用封止材の硬化物。
【請求項9】
請求項7に記載の光電変換素子用封止材を用いて封止された光電変換素子を備える、装置。
【請求項10】
請求項9に記載の装置であって、
前記光電変換素子が有機エレクトロルミネッセンス素子である、装置。
(【請求項11】以降は省略されています)
発明の詳細な説明
【技術分野】
【0001】
本発明は、光電変換素子用封止材、フィル材、およびフィル材を用いた装置の製造方法に関する。より詳細には、光電変換素子用封止材、フィル材、光電変換素子を含む装置、フィル材を用いた装置の製造方法、および樹脂組成物に関する。
続きを表示(約 3,200 文字)
【背景技術】
【0002】
従来、液晶ディスプレイ、有機エレクトロルミネッセンスディスプレイ、電子ペーパー等のディスプレイやシリコン系太陽電池、色素増感太陽電池、有機薄膜系太陽電池などに用いられる光電変換素子は、水蒸気バリア性などを有する封止材による封止されている。
なかでも有機エレクトロルミネッセンス素子(OLED素子)は、高い輝度発光が可能な素子体として注目を集めている。OLED素子は、水分に影響されやすく、OLED素子内に浸透した水分や不純物等により、発光特性が低下しやすいことが知られている。
【0003】
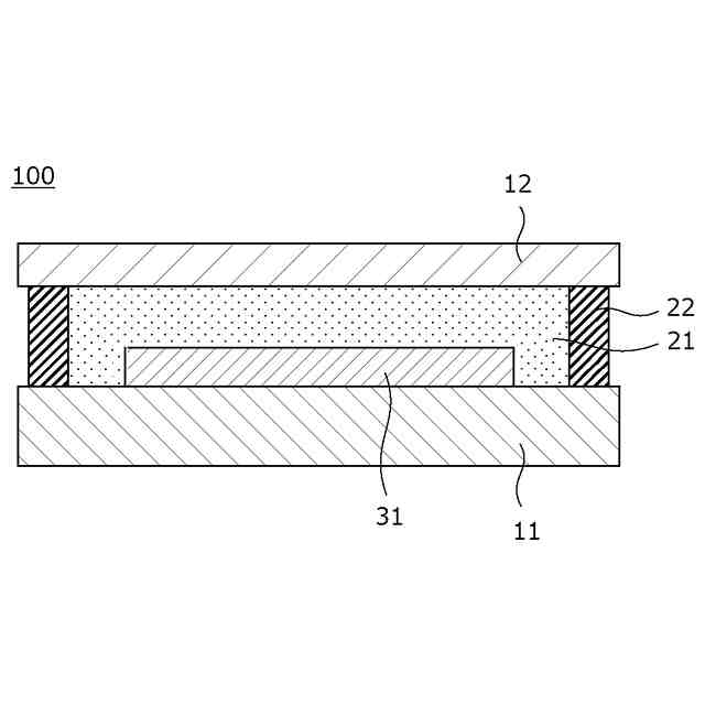
一方、封止方法の一つとして、ダムアンドフィル法が知られる。ダムアンドフィル法では、まず、基材上に、ディスペンサーを用いて第1の硬化型接着剤を塗布して、光電変換素子を囲うための環状のダム(土手)を形成し、さらに、ダム内に第2の硬化型接着剤を充填する。その後、ダム内において第2の硬化型接着剤に光電変換素子を埋め込むとともに、ダムを覆うようにして透明パネルをダム上に載置し、当該第2の硬化型接着剤を硬化させることにより、透明パネルと基材を貼り合わせる。
【0004】
このようなダムアンドフィル法に用いられる封止材として、例えば、特許文献1(特開2023-024361号公報)には、脂肪族四官能エポキシ系化合物を含むバインダー物質;及びカチオン開始剤を含む有機発光素子の封止材用熱硬化性液状組成物が開示されている。
また、例えば、特許文献2(国際公開第2017/099055号公報)には、有機EL素子をUVに直に曝すことなく封止する点から、ダム材として、N-グリシジル化合物、N-ビニル化合物、及びN-アリル化合物から選択される少なくとも1種の化合物(N-グリシジルイソシアヌレートを除く)を含む封止用組成物が開示されている。
【0005】
また、例えば、特許文献3(国際公開第2017/094809号公報)には、有機EL素子をUVに直に曝すことなく封止する点から、フィル材として、光カチオン重合開始剤から発生するカチオンに対して弱塩基性にあたるグリコールウリル化合物を含む封止用組成物が開示されている。
【先行技術文献】
【特許文献】
【0006】
特開2023-024361号公報
国際公開第2017/099055号公報
国際公開第2017/094809号公報
【発明の概要】
【発明が解決しようとする課題】
【0007】
しかしながら、従来の封止材を用いてダムアンドフィル法で光電変換素子を封止した場合、光電変換素子の機能を保持すべく封止材の信頼性において改善の余地があった。
より詳細には、フィル材の濡れ広がり性が不十分であるため、フィル材と基板との密着性やダム枠内へのフィル材の充填性が不十分になる場合があった。
【課題を解決するための手段】
【0008】
本発明者は、封止材の信頼性を向上すべく鋭意検討を行ったところ、封止材の経時の接触角を制御することで所望の形状の封止物が得られることを知見した。そしてさらに検討を重ねた結果、接触角に関する新たな指標を考案し、かかる指標を満たす封止材において信頼性が向上できることを見出し、本発明を完成させた。
【0009】
本発明によれば、以下の封止材およびこれに関する技術が提供される。
【0010】
[1] ダムアンドフィル法に用いられる光電変換素子用封止材であって、
(A)カチオン重合性化合物、および(B)光カチオン重合開始剤を含み、
以下の手順iにより測定される経時の接触角において、着液後5秒後の接触角θcが30°以下である、光電変換素子用封止材。
(手順i)アセトンで脱脂された後15分間オゾン洗浄された無アルカリガラスを準備する。当該光電変換素子用封止材を注入したシリンジを接触角計にセットし、以下の条件iiで液滴を作製し、準備した前記無アルカリガラスに当該液滴を着液させて経時の接触角を測定する。
(条件ii)
・測定方法:経時変化
・制御方法:標準
・解析手法及び方法:液滴法、θ/2法
・視野:ワイド2
・液滴量:5μl
[2] [1]に記載の光電変換素子用封止材であって、
前記手順iにより測定される経時の接触角において、着液後30秒後の接触角θdが20°以下である、光電変換素子用封止材。
[3] [2]に記載の光電変換素子用封止材であって、
前記接触角θdに対する前記接触角θc(θc/θd)が1.0以上2.3以下である、光電変換素子用封止材。
[4] [1]乃至[3]いずれか一つに記載の光電変換素子用封止材であって、
当該光電変換素子用封止材を0.5mlとして、コーン型プレートCPA-40Zを用いて、25℃、回転数50rpmの条件で測定した粘度が50mPa・s以上、1,000mPa・s以下である、光電変換素子用封止材。
[5] [1]乃至[4]いずれか一つに記載の光電変換素子用封止材であって、
(C)反応性希釈剤、(D)リン酸化合物、および(E)安定剤の少なくとも一方をさらに含む、光電変換素子用封止材。
[6] [1]乃至[5]いずれか一つに記載の光電変換素子用封止材であって、
(A)カチオン重合性化合物が、(A-1)エポキシ基を有する脂環式化合物、(A-2)エポキシ基を有する芳香族化合物、および(A-3)グリシジルエーテル化合物ならびにこれらの誘導体の中から選ばれる1種または2種以上を含有する、光電変換素子用封止材。
[7] [1]乃至[6]いずれか一つに記載の光電変換素子用封止材であって、
フィル材に用いられる、光電変換素子用封止材。
[8] [7]に記載の光電変換素子用封止材の硬化物。
[9] [7]に記載の光電変換素子用封止材を用いて封止された光電変換素子を備える、装置。
[10] [9]に記載の装置であって、
前記光電変換素子が有機エレクトロルミネッセンス素子である、装置。
[11] 第一の部材上に、フィル材および当該フィル材を囲むダム材を付着させる工程と、
光電変換素子を前記フィル材に埋め込む工程と、
前記フィル材および前記ダム材を覆うようにして第二の部材を配置する工程と、
前記第一の部材と前記第二の部材とを貼り合わせようにして、前記フィル材を硬化させる工程と、
を有し、
前記フィル材が、[7]に記載の光電変換素子用封止材である、装置の製造方法。
[12] (A)カチオン重合性化合物、および(B)光カチオン重合開始剤を含み、
以下の手順iにより測定される経時の接触角において、着液後5秒後の接触角θcが30°以下である、組成物。
(手順i)アセトンで脱脂された後15分間オゾン洗浄された無アルカリガラスを準備する。当該組成物を注入したシリンジを接触角計にセットし、以下の条件iiで液滴を作製し、準備した前記無アルカリガラスに当該液滴を着液させて経時の接触角を測定する。
(条件ii)
・測定方法:経時変化
・制御方法:標準
・解析手法及び方法:液滴法、θ/2法
・視野:ワイド2
・液滴量:5μl
【発明の効果】
(【0011】以降は省略されています)
この特許をJ-PlatPat(特許庁公式サイト)で参照する
関連特許
デンカ株式会社
窓構造
1か月前
デンカ株式会社
モルタル材料
1か月前
デンカ株式会社
窒化ケイ素粉末
1か月前
デンカ株式会社
窒化ケイ素粉末
1か月前
デンカ株式会社
窒化ケイ素粉末
1か月前
デンカ株式会社
繊維束、及び布
1か月前
デンカ株式会社
窓構造およびシート
1か月前
デンカ株式会社
重合体粒子の製造方法
1か月前
デンカ株式会社
シート及び食品包装容器
1か月前
デンカ株式会社
放熱部材および電子装置
1か月前
デンカ株式会社
放熱部材および電子装置
1か月前
デンカ株式会社
摩擦力可変体及び吸着具
17日前
デンカ株式会社
窒化ケイ素粉末の製造方法
1か月前
デンカ株式会社
耐熱付与材及び樹脂組成物
26日前
デンカ株式会社
蛍光体、及びインク組成物
1か月前
デンカ株式会社
セラミックス粉末の製造方法
1か月前
デンカ株式会社
積層シート及び食品包装容器
1か月前
デンカ株式会社
熱伝導性組成物及び電子機器
1か月前
デンカ株式会社
樹脂組成物および複合材料セット
17日前
デンカ株式会社
樹脂組成物および複合材料セット
17日前
デンカ株式会社
窒化ホウ素粉末、及び樹脂成形体
1か月前
デンカ株式会社
窒化ホウ素粉末、及び樹脂成形体
1か月前
デンカ株式会社
容器の製造方法及び容器の製造装置
27日前
デンカ株式会社
粉体急結材料及びコンクリート材料
1か月前
デンカ株式会社
蛍光体粉末、複合体および発光装置
1か月前
デンカ株式会社
窒化ケイ素粉末、及びその製造方法
1か月前
デンカ株式会社
窒化ケイ素粉末、及びその製造方法
1か月前
デンカ株式会社
無機粉末及びそれを用いた樹脂組成物
17日前
デンカ株式会社
電子銃部品、電子銃、及び、電子線装置
1か月前
デンカ株式会社
電子銃部品、電子銃、及び、電子線装置
1か月前
デンカ株式会社
バッテリー被覆用パテ、及びバッテリー
6日前
デンカ株式会社
熱伝導性スペーサー及び熱伝導性組成物
1か月前
デンカ株式会社
アルミナ粉末、無機粉末および樹脂組成物
12日前
デンカ株式会社
アルミナ粉末、無機粉末および樹脂組成物
12日前
デンカ株式会社
アルミナ粉末、無機粉末および樹脂組成物
12日前
デンカ株式会社
半導体封止プロセス用熱可塑性離型フィルム
1か月前
続きを見る
他の特許を見る