TOP
|
特許
|
意匠
|
商標
特許ウォッチ
Twitter
他の特許を見る
公開番号
2025162206
公報種別
公開特許公報(A)
公開日
2025-10-27
出願番号
2024065341
出願日
2024-04-15
発明の名称
下半身用衣類
出願人
株式会社ワコール
代理人
個人
,
個人
,
個人
主分類
A41C
1/00 20060101AFI20251020BHJP(衣類)
要約
【課題】腹部の筋肉を活動させつつ深く長く息を吐ききる呼吸を行いやすい下半身用衣類を提供する。
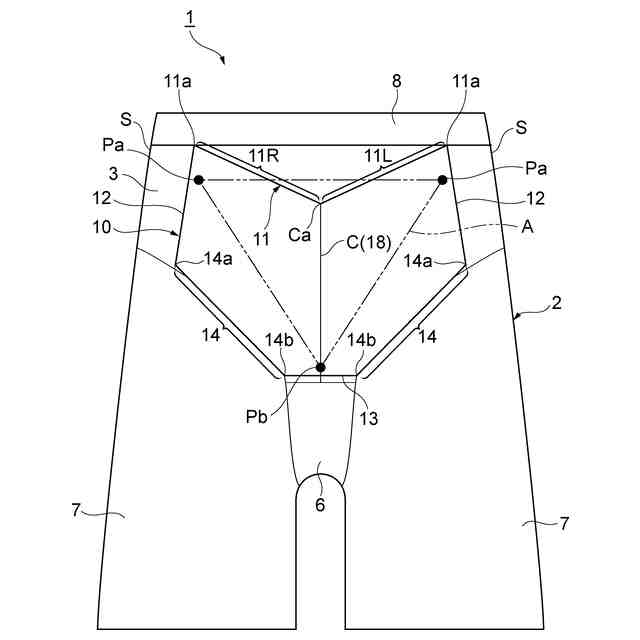
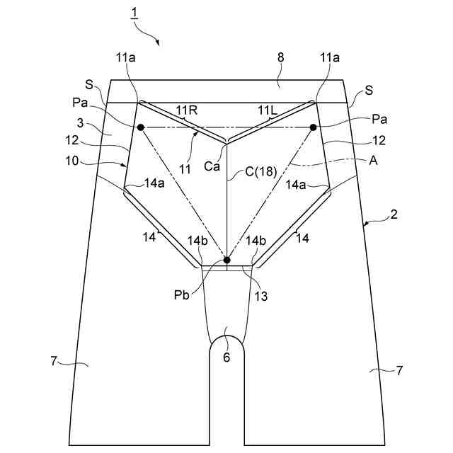
【解決手段】下半身用衣類としてのパンツ1は、前部3、後部4及び股部6を有する本体部2と、前部3に重なるように設けられて三角形状の領域Aの大部分を覆う前当て布部10と、を備える。前当て布部10の下端縁13は本体部2の股部6に結合されており、一対の側縁部12は、上前腸骨棘対応部Paの近傍を通って前部3上の位置において本体部2に結合されている。一対の下縁部14と上縁部11とが、本体部2から遊離している。
【選択図】図1
特許請求の範囲
【請求項1】
前部、後部及び股部を有する本体部と、
前記本体部の前記前部に重なるように設けられ、着用者の恥骨結合と左右の上前腸骨棘とに対応する部分からなる三角形状の領域の大部分を覆う前当て布部と、を備え、
前記前当て布部は、前記恥骨結合に対応する部分に近接する下端縁と、前記下端縁から斜め上方に延びる一対の下縁部と、前記本体部のウエスト部に最も近い上縁部と、前記一対の下縁部と前記上縁部とを接続する一対の側縁部と、を含み、
前記下端縁は前記本体部の前記股部に結合されており、
前記一対の側縁部は、前記上前腸骨棘に対応する部分の近傍を通って前記前部上の位置において前記本体部に結合されており、
前記一対の下縁部と前記上縁部とが前記本体部から遊離している、下半身用衣類。
続きを表示(約 220 文字)
【請求項2】
前記前当て布部は、前中心線に沿って形成された、他の部分よりも緊締力の強い強緊締力部を含む、請求項1に記載の下半身用衣類。
【請求項3】
前記前当て布部は、前中心線において前記本体部に結合されている、請求項1又は2に記載の下半身用衣類。
【請求項4】
前記前当て布部は、前記前当て布部が重ねられる前記本体部の前記前部の対応部位よりも小さい生地からなる、請求項1又は2に記載の下半身用衣類。
発明の詳細な説明
【技術分野】
【0001】
本発明は、下半身用衣類に関する。
続きを表示(約 2,000 文字)
【背景技術】
【0002】
従来、特許文献1に記載されるように、呼吸機能を補助し、呼吸効率を向上させる下半身用衣類が知られている。この衣類の一例としてガードルが記載されており、ガードル本体の前側に配置された菱形状の部片が、腹直筋の少なくとも一部をカバーしている。菱形状の部片の主たる伸縮方向が、腹直筋の筋線維方向とほぼ一致する。部片の左右の斜め上には、別の一対の部片が配置されており、これらの部片が外腹斜筋の少なくとも一部をカバーしている。これら一対の部片の主たる伸縮方向が、外腹斜筋の筋線維方向とほぼ一致する。上記構成は、呼気を司る筋肉である腹直筋及び外腹斜筋の働きを補助する。
【0003】
一方、特許文献2に記載される下半身用衣類では、前身頃に、略V形をなす左右の帯状領域と、その領域の上に配置された上腹部領域とが設けられている。これらの領域により、下腹部が広い範囲に亘って引き締められ、腹部のシルエットが補整される。
【先行技術文献】
【特許文献】
【0004】
特開平9-268403号公報
特開2009-144302号公報
【発明の概要】
【発明が解決しようとする課題】
【0005】
上記した特許文献1に記載の衣類では、腹直筋及び外腹斜筋に着目して各部片がこれらを覆っているが、動作時の衣類の変形により、部片による緊締力の効果が薄れ、呼吸機能の補助の観点で改善の余地があった。また特許文献2に記載された衣類は、腹部の補整を目的としているため、呼吸機能の補助には適していない。本発明者らは、効果的なストレッチ(例えば身体をリラックスさせて関節の可動域を広げるようなストレッチ)を行うためには、腹部の筋肉を活動させつつ、深く長く息を吐ききる呼吸を行うことが重要である点を見出し、着用者にそのような状態をもたらし得る下半身用衣類を鋭意検討した。
【0006】
本発明は、着用者の体勢に対応しつつ、腹部の筋肉を活動させつつ深く長く息を吐ききる呼吸を行いやすい下半身用衣類を提供することを目的とする。
【課題を解決するための手段】
【0007】
[1]本開示の一態様に係る下半身用衣類は、前部、後部及び股部を有する本体部と、本体部の前部に重なるように設けられ、着用者の恥骨結合と左右の上前腸骨棘とに対応する部分からなる三角形状の領域の大部分を覆う前当て布部と、を備え、前当て布部は、恥骨結合に対応する部分に近接する下端縁と、下端縁から斜め上方に延びる一対の下縁部と、本体部のウエスト部に最も近い上縁部と、一対の下縁部と上縁部とを接続する一対の側縁部と、を含み、下端縁は本体部の股部に結合されており、一対の側縁部は、上前腸骨棘に対応する部分の近傍を通って前部上の位置において本体部に結合されており、一対の下縁部と上縁部とが本体部から遊離している。
【0008】
[1]の下半身用衣類によれば、前当て布部が、着用者の腹部(三角形状の領域に相当する)を覆う。前当て布部の下端縁と一対の側縁部とが、本体部に結合されている。この構成により、着用者の腹部と股下部に圧力をかけて呼気時の腹腔内圧を高めることができる。一対の側縁部は前部上の位置において本体部に結合されていて、後部の方へは回り込んでいないので、上記圧力(抑えの力)が後方に逃げることなく、着用者の腹部にかかる。また、一対の下縁部と上縁部とが本体部から遊離しているので、前当て布部が腹部によく追従し、着用者がどのような姿勢をとっても上記圧力を維持できる。その結果、着用者は、腹部の筋肉(具体的には内腹斜筋及び腹横筋)を活動させつつ、深く長く息を吐ききる呼吸を行いやすくなる。
【0009】
[2]上記[1]の下半身用衣類において、前当て布部は、前中心線に沿って形成された、他の部分よりも緊締力の強い強緊締力部を含んでもよい。この構成によれば、下半身用衣類の着用時、前中心線に沿って形成された強緊締力部を中心として、前当て布部の縦方向及び横方向の伸びに左右差がなくなる。すなわち、強緊締力部の左右において生地が均等に伸びる。これにより、圧力が効果的に分散し、腹部を均一にサポートできる。
【0010】
[3]上記[1]又は[2]の下半身用衣類において、前当て布部は、前中心線において本体部に結合されていてもよい。この構成によれば、下半身用衣類の着用時、前中心における結合部が支点になって、前当て布部の縦方向及び横方向の伸びに左右差がなくなる。すなわち、結合部の左右において生地が均等に伸びる。これにより、圧力が効果的に分散し、腹部を均一にサポートできる。[2]の下半身用衣類においてこの構成が採用された場合には、強緊締力部が本体部に結合されるので、上記作用・効果がより一層好適に奏される。
(【0011】以降は省略されています)
この特許をJ-PlatPat(特許庁公式サイト)で参照する
関連特許
個人
和服
6か月前
個人
衿芯
4か月前
個人
中間着
21日前
個人
シャツ
2か月前
個人
ネクタイ
2か月前
個人
二部式袍
10か月前
個人
下着
5か月前
個人
靴下
11か月前
個人
衣装
7か月前
個人
防虫服
21日前
個人
マスク
2か月前
個人
多機能装身具
3か月前
個人
簡単帯
11か月前
個人
:マスクカバー
3か月前
個人
作業補助ミトン
9か月前
個人
肩章付き衣服。
5か月前
個人
ショーツ
11か月前
東レ株式会社
防護服
1か月前
個人
シャツ改造方法
7か月前
株式会社聖
手足保護具
1か月前
個人
車椅子用グローブ
3か月前
東洋紡株式会社
マスク
1か月前
個人
手袋
8か月前
個人
内フィルムマスク
1か月前
株式会社聖
手足保護具
10か月前
個人
ソフトキャミブラ
7か月前
個人
足首用サポーター
9か月前
個人
レインコート
6か月前
株式会社マルイチ
二部式帯
1か月前
個人
被介護者用上衣
4か月前
興和株式会社
マスク
9か月前
グンゼ株式会社
衣服
7か月前
株式会社カネカ
収納物
9か月前
個人
ブラカップを有する衣類
2か月前
LUDO合同会社
手袋
8か月前
西垣靴下株式会社
靴下
11か月前
続きを見る
他の特許を見る