TOP
|
特許
|
意匠
|
商標
特許ウォッチ
Twitter
他の特許を見る
10個以上の画像は省略されています。
公開番号
2025161740
公報種別
公開特許公報(A)
公開日
2025-10-24
出願番号
2025028549,2024164727
出願日
2025-02-26,2024-04-11
発明の名称
労働管理システムおよびコンピュータプログラム
出願人
菱木運送株式会社
代理人
弁理士法人スズエ国際特許事務所
主分類
G06Q
10/105 20230101AFI20251017BHJP(計算;計数)
要約
【課題】 運送業者における業務管理体制を改善する。
【解決手段】 一実施形態に係る労働管理システムは、互いに通信可能な運転者端末、管理者端末およびサーバを含むものであって、車両が停車した位置を特定する位置特定手段と、入力装置により入力される第1時刻を取得する第1取得手段と、入力装置により入力される第2時刻を取得する第2取得手段と、特定された位置に対応する荷主を特定する荷主特定手段と、特定された位置における待機時間を第1時刻と第2時刻に基づいて算出する算出手段と、特定された荷主と算出された待機時間とを含む待機情報を記録する記録手段とを備える。位置特定手段、第1取得手段、第2取得手段、荷主特定手段、算出手段および記録手段の各々は、運転者端末、管理者端末およびサーバのいずれかにより、あるいは管理者端末、運転者端末およびサーバが協働することにより実現される。
【選択図】 図4
特許請求の範囲
【請求項1】
互いに通信可能な運転者端末、管理者端末およびサーバを含む労働管理システムであって、
車両が停車した位置を特定する位置特定手段と、
入力装置により入力される第1時刻を取得する第1取得手段と、
前記入力装置により入力される第2時刻を取得する第2取得手段と、
前記位置特定手段により特定された位置に対応する荷主を特定する荷主特定手段と、
前記第1時刻と前記第2時刻に基づいて、前記位置特定手段により特定された位置における前記車両の運転者の待機時間を算出する算出手段と、
前記荷主特定手段により特定された荷主と、前記算出手段により算出された待機時間とを含む待機情報を記録する記録手段と、
を備え、
前記位置特定手段、前記第1取得手段、前記第2取得手段、前記荷主特定手段、前記算出手段および前記記録手段の各々は、前記運転者端末、前記管理者端末および前記サーバのいずれかにより、あるいは前記管理者端末、前記運転者端末および前記サーバが協働することにより実現される、
労働管理システム。
続きを表示(約 1,700 文字)
【請求項2】
前記記録手段は、前記荷主特定手段により荷主を特定できない場合に、前記第1時刻から前記第2時刻までの経過時間を休憩時間として記録する、
請求項1に記載の労働管理システム。
【請求項3】
前記算出手段は、待機時間としての処理の可否基準となる第3時刻よりも前記第1時刻の方が早い場合、前記第3時刻から前記第2時刻までの経過時間を待機時間として算出する、
請求項1または2に記載の労働管理システム。
【請求項4】
前記記録手段は、前記第3時刻よりも前記第1時刻の方が早い場合、前記第1時刻から前記第3時刻までの経過時間を休憩時間として記録する、
請求項3に記載の労働管理システム。
【請求項5】
互いに通信可能な運転者端末、管理者端末およびサーバを含む労働管理システムであって、
車両が停車した位置を特定する位置特定手段と、
入力装置により入力される第1時刻を取得する第1取得手段と、
前記入力装置により入力される第2時刻を取得する第2取得手段と、
前記位置特定手段により特定された位置に対応する荷主を特定する荷主特定手段と、
前記荷主特定手段が荷主を特定できない場合に、前記第1時刻と前記第2時刻に基づいて前記車両の運転者の休憩時間を算出する算出手段と、
前記算出手段により算出された休憩時間を記録する記録手段と、
を備え、
前記位置特定手段、前記第1取得手段、前記第2取得手段、前記荷主特定手段、前記算出手段および前記記録手段の各々は、前記運転者端末、前記管理者端末および前記サーバのいずれかにより、あるいは前記管理者端末、前記運転者端末および前記サーバが協働することにより実現される、労働管理システム。
【請求項6】
コンピュータを、
車両が停車した位置を特定する位置特定手段、
入力装置により入力される第1時刻を取得する第1取得手段、
前記入力装置により入力される第2時刻を取得する第2取得手段、
前記位置特定手段により特定された位置に対応する荷主を特定する荷主特定手段、
前記第1時刻と前記第2時刻に基づいて、前記位置特定手段により特定された位置における前記車両の運転者の待機時間を算出する算出手段、および、
前記荷主特定手段により特定された荷主と、前記算出手段により算出された待機時間とを含む待機情報を記録する記録手段、
として機能させるためのコンピュータプログラム。
【請求項7】
前記記録手段は、前記荷主特定手段により荷主を特定できない場合に、前記第1時刻から前記第2時刻までの経過時間を休憩時間として記録する、
請求項6に記載のコンピュータプログラム。
【請求項8】
前記算出手段は、待機時間としての処理の可否基準となる第3時刻よりも前記第1時刻の方が早い場合、前記第3時刻から前記第2時刻までの経過時間を待機時間として算出する、
請求項6または7に記載のコンピュータプログラム。
【請求項9】
前記記録手段は、前記第3時刻よりも前記第1時刻の方が早い場合、前記第1時刻から前記第3時刻までの経過時間を休憩時間として記録する、
請求項8に記載のコンピュータプログラム。
【請求項10】
コンピュータを、
車両が停車した位置を特定する位置特定手段、
入力装置により入力される第1時刻を取得する第1取得手段、
前記入力装置により入力される第2時刻を取得する第2取得手段、
前記位置特定手段により特定された位置に対応する荷主を特定する荷主特定手段、
前記荷主特定手段が荷主を特定できない場合に、前記第1時刻と前記第2時刻に基づいて前記車両の運転者の休憩時間を算出する算出手段、および、
前記算出手段により算出された休憩時間を記録する記録手段、
として機能させるためのコンピュータプログラム。
発明の詳細な説明
【技術分野】
【0001】
本発明は、労働管理システムおよびコンピュータプログラムに関する。
続きを表示(約 2,900 文字)
【背景技術】
【0002】
近年、労働環境を改善する機運が高まっている。労働環境の改善には、管理者および労働者の双方が、法や各種の規則を遵守するよう努力することが重要である。例えば、トラック運転者においては、拘束時間、休息期間および休憩時間等に関する各種の規則が存在する。
【0003】
また、近年、運転者の長時間労働を是正するために、荷積み地点や荷卸し地点における待機時間を削減することが強く求められている。待機時間を削減するには、日々の運行における待機時間の実態を把握したうえで、改善に取り組まなければならない。
【先行技術文献】
【特許文献】
【0004】
特許第6984883号公報
【発明の概要】
【発明が解決しようとする課題】
【0005】
本発明は、上記のような事情に基づいてなされたものであり、その目的の一つは、運送業者における業務管理体制の改善が可能な労働管理システムおよびコンピュータプログラムを提供することである。本発明の他の目的は、本明細書および添付図面から導き出される。
【課題を解決するための手段】
【0006】
一実施形態に係る労働管理システムは、互いに通信可能な運転者端末、管理者端末およびサーバを含むものであって、車両が停車した位置を特定する位置特定手段と、入力装置により入力される第1時刻を取得する第1取得手段と、前記入力装置により入力される第2時刻を取得する第2取得手段と、前記位置特定手段により特定された位置に対応する荷主を特定する荷主特定手段と、前記第1時刻と前記第2時刻に基づいて、前記位置特定手段により特定された位置における前記車両の運転者の待機時間を算出する算出手段と、前記荷主特定手段により特定された荷主と、前記算出手段により算出された待機時間とを含む待機情報を記録する記録手段と、を備えている。前記位置特定手段、前記第1取得手段、前記第2取得手段、前記荷主特定手段、前記算出手段および前記記録手段の各々は、前記運転者端末、前記管理者端末および前記サーバのいずれかにより、あるいは前記管理者端末、前記運転者端末および前記サーバが協働することにより実現される。
実施形態の他の観点によれば、労働管理システムは、互いに通信可能な運転者端末、管理者端末およびサーバを含むものであって、車両が停車した位置を特定する位置特定手段と、入力装置により入力される第1時刻を取得する第1取得手段と、前記入力装置により入力される第2時刻を取得する第2取得手段と、前記位置特定手段により特定された位置に対応する荷主を特定する荷主特定手段と、前記荷主特定手段が荷主を特定できない場合に、前記第1時刻と前記第2時刻に基づいて前記車両の運転者の休憩時間を算出する算出手段と、前記算出手段により算出された休憩時間を記録する記録手段と、を備えている。前記位置特定手段、前記第1取得手段、前記第2取得手段、前記荷主特定手段、前記算出手段および前記記録手段の各々は、前記運転者端末、前記管理者端末および前記サーバのいずれかにより、あるいは前記管理者端末、前記運転者端末および前記サーバが協働することにより実現される、労働管理システム。
【0007】
一実施形態に係るコンピュータプログラムは、コンピュータを、車両が停車した位置を特定する位置特定手段、入力装置により入力される第1時刻を取得する第1取得手段、前記入力装置により入力される第2時刻を取得する第2取得手段、前記位置特定手段により特定された位置に対応する荷主を特定する荷主特定手段、前記第1時刻と前記第2時刻に基づいて、前記位置特定手段により特定された位置における前記車両の運転者の待機時間を算出する算出手段、および、前記荷主特定手段により特定された荷主と、前記算出手段により算出された待機時間とを含む待機情報を記録する記録手段、として機能させる。
実施形態の他の観点によれば、コンピュータプログラムは、コンピュータを、車両が停車した位置を特定する位置特定手段、入力装置により入力される第1時刻を取得する第1取得手段、前記入力装置により入力される第2時刻を取得する第2取得手段、前記位置特定手段により特定された位置に対応する荷主を特定する荷主特定手段、前記第1時刻と前記第2時刻に基づいて、前記位置特定手段により特定された位置における前記車両の運転者の待機時間を算出する算出手段、および、前記荷主特定手段により特定された荷主と、前記算出手段により算出された待機時間とを含む待機情報を記録する記録手段、として機能させる。
【発明の効果】
【0008】
本発明によれば、運送業者における業務管理体制の改善が可能となる。本発明の他の効果は、本明細書および添付図面から導き出される。
【図面の簡単な説明】
【0009】
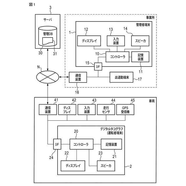
図1は、第1実施形態に係る労働管理システムの構成例を示すブロック図である。
図2は、第1実施形態に係る地点情報マスタを構成するレコードのデータ構造の一例を示す図である。
図3は、第1実施形態に係る車両の停車時の処理の一例を示すフローチャートである。
図4は、図3における停車処理Aの一例を示すフローチャートである。
図5は、図3における停車処理Bの一例を示すフローチャートである。
図6は、図3における停車処理Cの一例を示すフローチャートである。
図7は、通知画面の一例を示す図である。
図8は、確認画面の一例を示す図である。
図9は、第2実施形態に係る地点情報マスタを構成するレコードのデータ構造の一例を示す図である。
図10は、第2実施形態に係る車両の停車時の処理の一例を示すフローチャートである。
図11は、図10における停車処理Dの一例を示すフローチャートである。
図12は、選択画面の一例を示す図である。
図13は、第3実施形態に係る車両の停車時の処理の一例を示すフローチャートである。
図14は、図13における停車処理Eの一例を示すフローチャートである。
図15は、第4実施形態に係る車両の停車時の処理の一例を示すフローチャートである。
図16は、図15における停車処理Fの一例を示すフローチャートである。
図17は、第5実施形態に係る荷主の選択画面の一例を示す図である。
図18は、第6実施形態に係る地点情報マスタを構成するレコードのデータ構造の一例を示す図である。
図19は、第8実施形態に係る労働管理システムの構成例を示すブロック図である。
【発明を実施するための形態】
【0010】
いくつかの実施形態につき、図面を参照しながら説明する。
以下に説明する各実施形態においては、トラック運転者の労働を管理するための労働管理システムおよびコンピュータプログラムを開示する。
(【0011】以降は省略されています)
この特許をJ-PlatPat(特許庁公式サイト)で参照する
関連特許
菱木運送株式会社
労働管理システムおよびコンピュータプログラム
13日前
菱木運送株式会社
労働管理システムおよびコンピュータプログラム
13日前
菱木運送株式会社
労働管理システムおよびコンピュータプログラム
13日前
個人
詐欺保険
23日前
個人
縁伊達ポイン
23日前
個人
RFタグシート
10日前
個人
QRコードの彩色
27日前
個人
地球保全システム
1か月前
個人
ペルソナ認証方式
7日前
個人
情報処理装置
2日前
個人
自動調理装置
9日前
個人
為替ポイント伊達夢貯
2か月前
個人
冷凍食品輸出支援構造
2か月前
個人
表変換編集支援システム
1か月前
個人
残土処理システム
29日前
個人
農作物用途分配システム
22日前
個人
知財出願支援AIシステム
2か月前
個人
タッチパネル操作指代替具
16日前
個人
インターネットの利用構造
6日前
個人
知的財産出願支援システム
1か月前
個人
スケジュール調整プログラム
15日前
個人
行動時間管理システム
1か月前
個人
携帯端末障害問合せシステム
15日前
個人
AIによる情報の売買の仲介
2か月前
個人
パスワード管理支援システム
1か月前
個人
海外支援型農作物活用システム
1か月前
個人
パスポートレス入出国システム
2か月前
日本精機株式会社
施工管理システム
2か月前
株式会社キーエンス
受発注システム
1か月前
株式会社キーエンス
受発注システム
1か月前
個人
システム及びプログラム
1か月前
個人
エリアガイドナビAIシステム
7日前
株式会社キーエンス
受発注システム
1か月前
個人
AIキャラクター制御システム
1か月前
株式会社アジラ
進入判定装置
2か月前
個人
食品レシピ生成システム
1か月前
続きを見る
他の特許を見る