TOP
|
特許
|
意匠
|
商標
特許ウォッチ
Twitter
他の特許を見る
10個以上の画像は省略されています。
公開番号
2025161618
公報種別
公開特許公報(A)
公開日
2025-10-24
出願番号
2024064962
出願日
2024-04-12
発明の名称
サービス提供システムおよびサービス提供プログラム
出願人
京セラドキュメントソリューションズ株式会社
代理人
個人
主分類
G06Q
50/10 20120101AFI20251017BHJP(計算;計数)
要約
【課題】 不適切なプランの移行が発生する可能性を低減することができるサービス提供システムおよびサービス提供プログラムを提供する。
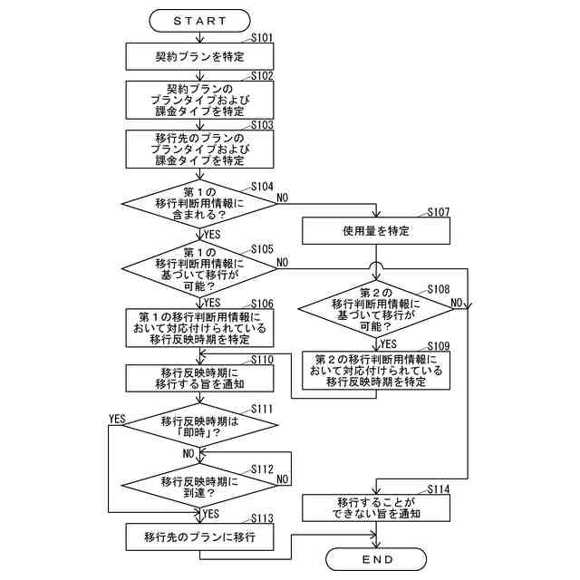
【解決手段】 サービス提供システムは、アプリケーションサービスを利用するための複数のプランと、アプリケーションサービスを利用するテナントが契約するプランの移行の可不可を示す第2の移行判断用情報とを備え、テナントが契約するプランの移行が指示された場合に、移行元のプランにおけるテナントによるアプリケーションサービスの使用量と、第2の移行判断用情報とに基づいてプランの移行の可不可を判断し(S101~S103およびS107~S108)、プランの移行が不可能であるとき(S108でNO)にプランの移行を実行せず、プランの移行が可能であるとき(S108でYES)にプランの移行を実行する(S113)ことを特徴とする。
【選択図】 図9
特許請求の範囲
【請求項1】
サービスを利用するための複数のプランを備えるサービス提供システムであって、
前記サービスを利用するテナントが契約する前記プランの移行の可不可を、移行元の前記プランおよび移行先の前記プランの少なくとも1つに関係する、前記テナントによる前記サービス提供システムの利用状況に対応付けて示す情報を備え、
前記テナントが契約する前記プランの移行が指示された場合に、前記利用状況および前記情報に基づいて前記プランの移行の可不可を判断し、前記プランの移行が不可能であるときに前記プランの移行を実行せず、前記プランの移行が可能であるときに前記プランの移行を実行することを特徴とするサービス提供システム。
続きを表示(約 660 文字)
【請求項2】
前記情報は、前記テナントが契約する前記プランの移行の反映の時期を前記利用状況に対応付けて示し、
前記サービス提供システムは、前記テナントが契約する前記プランの移行が指示された場合に、前記利用状況および前記情報に基づいて前記時期を特定し、前記プランの移行が可能であるときに、前記利用状況および前記情報に基づいて特定した前記時期に前記プランの移行を実行することを特徴とする請求項1に記載のサービス提供システム。
【請求項3】
前記利用状況は、移行元の前記プランにおける前記テナントによる前記サービスの使用量を含むことを特徴とする請求項1に記載のサービス提供システム。
【請求項4】
サービスを利用するための複数のプランを備えるサービス提供システムをコンピューターに実現させ、
前記サービス提供システムは、前記サービスを利用するテナントが契約する前記プランの移行の可不可を、移行元の前記プランおよび移行先の前記プランの少なくとも1つに関係する、前記テナントによる前記サービス提供システムの利用状況に対応付けて示す情報を備え、
前記サービス提供システムは、前記テナントが契約する前記プランの移行が指示された場合に、前記利用状況および前記情報に基づいて前記プランの移行の可不可を判断し、前記プランの移行が不可能であるときに前記プランの移行を実行せず、前記プランの移行が可能であるときに前記プランの移行を実行することを特徴とするサービス提供プログラム。
発明の詳細な説明
【技術分野】
【0001】
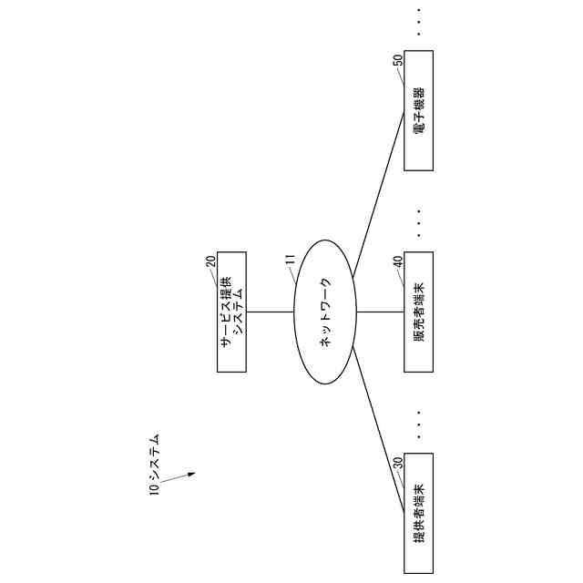
本発明は、サービスを顧客に提供するサービス提供システムおよびサービス提供プログラムに関する。
続きを表示(約 1,700 文字)
【背景技術】
【0002】
従来、サービスを利用するための複数のプランから顧客によって選択されたプランを管理する利用料金プラン提案システムが知られている(例えば、特許文献1参照。)。
【0003】
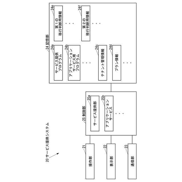
従来、サービスを利用するための複数のプランから選択されたプランを管理するシステムとして、アプリケーションサービスを顧客に提供するサービス提供システムが知られている。従来のサービス提供システムにおいて、アプリケーションサービスを提供するサービス提供者は、アプリケーションサービスを利用する顧客にアプリケーションサービスを販売する販売者にアプリケーションサービスを卸売形態で販売する場合がある。従来のサービス提供システムにおいては、顧客が契約するプランを販売者が顧客を代理して設定する場合がある。
【先行技術文献】
【特許文献】
【0004】
特開2010-277471号公報
【発明の概要】
【発明が解決しようとする課題】
【0005】
しかしながら、従来のサービス提供システムにおいては、顧客が契約するプランの移行を販売者がサービス提供システムに指示する場合に、サービス提供者の管理外である販売者がプランの性質や、販売者と、サービス提供者との間の規約などを十分に把握できていないなどの理由によって、不適切なプランの移行を販売者がサービス提供システムに指示してしまうことがあるという問題がある。
【0006】
また、サービス提供者が顧客にアプリケーションサービスを直接販売する場合であっても、顧客が契約するプランの移行をサービス提供者がサービス提供システムに指示するときに、例えば誤解などの理由によって、不適切なプランの移行をサービス提供者がサービス提供システムに指示してしまうことがあるという問題がある。
【0007】
そこで、本発明は、不適切なプランの移行が発生する可能性を低減することができるサービス提供システムおよびサービス提供プログラムを提供することを目的とする。
【課題を解決するための手段】
【0008】
本発明のサービス提供システムは、サービスを利用するための複数のプランを備えるサービス提供システムであって、前記サービスを利用するテナントが契約する前記プランの移行の可不可を、移行元の前記プランおよび移行先の前記プランの少なくとも1つに関係する、前記テナントによる前記サービス提供システムの利用状況に対応付けて示す情報を備え、前記テナントが契約する前記プランの移行が指示された場合に、前記利用状況および前記情報に基づいて前記プランの移行の可不可を判断し、前記プランの移行が不可能であるときに前記プランの移行を実行せず、前記プランの移行が可能であるときに前記プランの移行を実行することを特徴とする。
【0009】
この構成により、本発明のサービス提供システムは、テナントが契約するプランの移行が指示された場合に、移行元のプランおよび移行先のプランの少なくとも1つに関係する、テナントによるサービス提供システムの利用状況と、特定の情報とに基づいてプランの移行の可不可を判断し、プランの移行が不可能であるときにプランの移行を実行せず、プランの移行が可能であるときにプランの移行を実行するので、不適切なプランの移行が発生する可能性を低減することができる。
【0010】
本発明のサービス提供システムにおいて、前記情報は、前記テナントが契約する前記プランの移行の反映の時期を前記利用状況に対応付けて示し、前記サービス提供システムは、前記テナントが契約する前記プランの移行が指示された場合に、前記利用状況および前記情報に基づいて前記時期を特定し、前記プランの移行が可能であるときに、前記利用状況および前記情報に基づいて特定した前記時期に前記プランの移行を実行しても良い。
(【0011】以降は省略されています)
この特許をJ-PlatPat(特許庁公式サイト)で参照する
関連特許
個人
詐欺保険
14日前
個人
縁伊達ポイン
14日前
個人
RFタグシート
1日前
個人
QRコードの彩色
18日前
個人
地球保全システム
27日前
個人
自動調理装置
今日
個人
為替ポイント伊達夢貯
1か月前
個人
冷凍食品輸出支援構造
1か月前
個人
残土処理システム
20日前
個人
農作物用途分配システム
13日前
個人
表変換編集支援システム
1か月前
個人
知的財産出願支援システム
21日前
個人
知財出願支援AIシステム
1か月前
個人
タッチパネル操作指代替具
7日前
個人
AIによる情報の売買の仲介
1か月前
個人
行動時間管理システム
1か月前
個人
パスワード管理支援システム
1か月前
個人
スケジュール調整プログラム
6日前
個人
携帯端末障害問合せシステム
6日前
個人
食品レシピ生成システム
26日前
個人
システム及びプログラム
1か月前
個人
海外支援型農作物活用システム
1か月前
株式会社キーエンス
受発注システム
26日前
株式会社キーエンス
受発注システム
26日前
個人
AIキャラクター制御システム
1か月前
株式会社アジラ
進入判定装置
2か月前
日本精機株式会社
施工管理システム
1か月前
株式会社キーエンス
受発注システム
26日前
エッグス株式会社
情報処理装置
7日前
トヨタ自動車株式会社
通知装置
4日前
キヤノン株式会社
印刷システム
6日前
大同特殊鋼株式会社
疵判定方法
1か月前
キヤノン株式会社
表示システム
26日前
個人
帳票自動生成型SaaSシステム
21日前
個人
SaaS型勤務調整支援システム
1か月前
個人
未来型家系図構築システム
1か月前
続きを見る
他の特許を見る