TOP
|
特許
|
意匠
|
商標
特許ウォッチ
Twitter
他の特許を見る
公開番号
2025161248
公報種別
公開特許公報(A)
公開日
2025-10-24
出願番号
2024064276
出願日
2024-04-11
発明の名称
情報システム、情報処理方法およびプログラム
出願人
株式会社電通総研
,
国立研究開発法人医薬基盤・健康・栄養研究所
代理人
弁理士法人秀和特許事務所
主分類
A61B
5/11 20060101AFI20251017BHJP(医学または獣医学;衛生学)
要約
【課題】運動項目の測定結果と、身体の機能または能力との関係を基に、身体の機能または能力の程度を検知する。
【解決手段】情報システムは、人の運動を撮影した画像から所定の運動項目ごとの達成値を測定することと、前記運動項目ごとの達成値を基に、第1の運動項目とは異なる前記第1の運動項目との対応関係が確認された第2の運動項目に対応する人の身体的活力の程度を判定すること、を実行する制御部を備える。
【選択図】図1
特許請求の範囲
【請求項1】
人の運動を撮影した画像から所定の運動項目ごとの達成値を測定することと、
前記運動項目ごとの達成値を基に、第1の運動項目とは異なる前記第1の運動項目との対応関係が確認された第2の運動項目に対応する前記人の身体的活力の程度を判定すること、を実行する制御部を備える情報システム。
続きを表示(約 1,100 文字)
【請求項2】
前記所定の運動項目は、着座した体勢での第1の種類の運動項目と、立位した体勢での第2の種類の運動項目とを含み、
前記制御部は、前記第1の種類の運動項目を実行する人の運動を撮影した画像から前記第2の種類の運動項目に対応する身体的活力の程度を判定すること、および、前記第2の種類の運動項目を実行する人の運動を撮影した画像から前記第1の種類の運動項目に対応する身体的活力の程度を判定することの少なくとも1つを実行する、請求項1に記載の情報システム。
【請求項3】
前記所定の運動項目は、動的な動作の運動項目と、静的の運動項目とを含み、
前記制御部は、前記動的な運動項目を実行する人の運動を撮影した画像から前記静的な運動項目に対応する身体的活力の程度を判定すること、および、前記静的な運動項目を実行する人の運動を撮影した画像から前記動的な運動項目に対応する身体的活力の程度を判定することの少なくとも1つを実行する、請求項1に記載の情報システム。
【請求項4】
過去に測定された前記所定の運動項目ごとの達成値または前記過去に判定された前記人の身体的活力の程度を記憶する記憶装置をさらに備え、
前記制御部は、現在の前記所定の運動項目ごとの達成値と前記過去に測定された前記所定の運動項目ごとの達成値を対比すること、および、現在の前記人の身体的活力の程度と前記過去に判定された前記人の身体的活力の程度とを対比することの少なくとも1つを実行する、請求項1に記載の情報システム。
【請求項5】
通信装置をさらに備え、
前記制御部は、前記通信装置を介して遠隔で人の運動を撮影した画像から前記所定の運動項目ごとの達成値を測定し、前記人の身体的活力の程度を判定する請求項1に記載の情報システム。
【請求項6】
コンピュータが、人の運動を撮影した画像から所定の運動項目ごとの達成値を測定することと、
前記運動項目ごとの達成値を基に、第1の運動項目とは異なる前記第1の運動項目との対応関係が確認された第2の運動項目に対応する前記人の身体的活力の程度を判定すること、を実行する情報処理方法。
【請求項7】
コンピュータに、人の運動を撮影した画像から所定の運動項目ごとの達成値を測定することと、
前記運動項目ごとの達成値を基に、第1の運動項目とは異なる前記第1の運動項目との対応関係が確認された第2の運動項目に対応する前記人の身体的活力の程度を判定すること、を実行させるためのプログラム。
発明の詳細な説明
【技術分野】
【0001】
本発明は、情報システム、情報処理方法およびプログラムに関する。
続きを表示(約 1,400 文字)
【背景技術】
【0002】
加齢に伴う心身の機能の低下に対して、例えば、体力データの測定方法が提案されている(例えば、下記特許文献1参照)。
【先行技術文献】
【特許文献】
【0003】
特開2019-204451号公報
国際公開第2020/208944号
特表2016-540527号公報
【発明の概要】
【発明が解決しようとする課題】
【0004】
しかしながら、上記従来の技術では、体力データ、例えば、運動項目の測定結果と、加齢に伴う心身の機能の低下との関係が必ずしも明確に特定されていない。特に、体力データのうち、測定が困難なデータ項目に対して、十分は配慮がなされていない。
【0005】
開示の技術の課題は、運動項目の測定結果と、身体の機能または能力との関係を基に、身体の機能または能力の程度を検知することにある。
【課題を解決するための手段】
【0006】
開示の技術の一側面は、情報システムによって例示される。本情報システムは、人の運動を撮影した画像から所定の運動項目ごとの達成値を測定することと、前記運動項目ごとの達成値を基に、第1の運動項目とは異なる前記第1の運動項目との対応関係が確認された第2の運動項目に対応する人の身体的活力の程度を判定すること、を実行する制御部を備える。
【発明の効果】
【0007】
本開示の情報システムによれば、運動項目の測定結果と、身体の機能または能力との関係を基に、身体の機能または能力の程度を検知できる。
【図面の簡単な説明】
【0008】
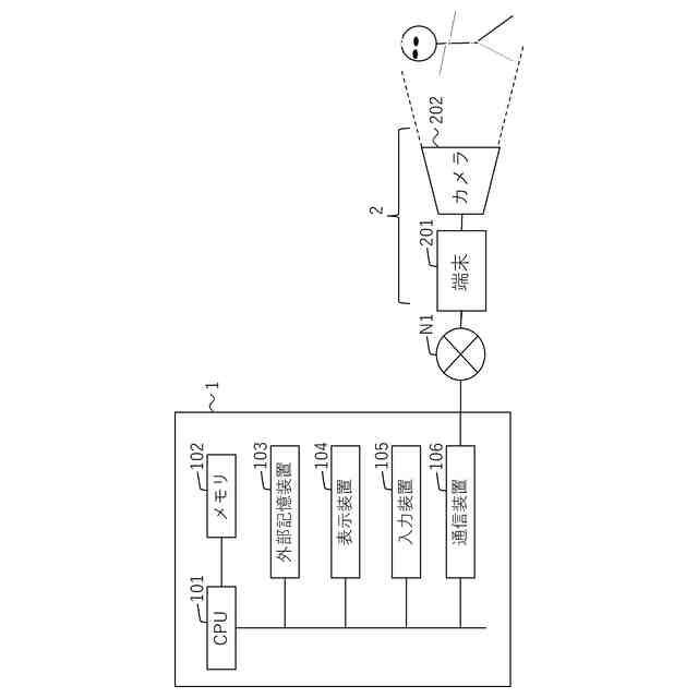
図1は、本情報システムの構成を例示する図である。
図2は、本情報システムにおけるユーザの身体的活力の判定処理を例示する概略のフローチャートである。
図3は、情報処理装置によって測定された運動項目ごとの達成値と、その達成値を達成したユーザの身体的活力との関係を例示する図である。
図4は、情報処理装置によって測定された運動項目ごとの達成値と、その達成値を達成したユーザの身体的活力との関係を例示する図である。
図5は、情報処理装置によって測定された運動項目ごとの達成値と、その達成値を達成したユーザの身体的活力との関係を例示する図である。
図6は、情報処理装置によって測定された運動項目ごとの達成値と、その達成値を達成したユーザの身体的活力との関係を例示する図である。
図7は、測定データと身体的活力の結果を一般化して例示する図である。
図8は、情報処理装置の処理を例示するフローチャートである。
【発明を実施するための形態】
【0009】
以下、図面を参照して、一実施形態に係る情報システム、情報処理方法およびプログラムについて説明する。以下の実施形態の構成は例示であり、本情報システム、情報処理方法およびプログラムは実施形態の構成には限定されない。
【0010】
本情報システムは、人の運動を撮影した画像から所定の運動項目ごとの達成値を測定することと、運動項目ごとの達成値を基に、第1の運動項目とは異なる第1の運動項目との対応関係が確認された第2の運動項目に対応する人(ユーザ)の身体的活力の程度を判定すること、を実行する制御部を備える。
(【0011】以降は省略されています)
この特許をJ-PlatPat(特許庁公式サイト)で参照する
関連特許
株式会社電通総研
情報システム、情報処理方法およびプログラム
3日前
個人
貼付剤
今日
個人
短下肢装具
3か月前
個人
排尿補助器具
13日前
個人
嚥下鍛錬装置
3か月前
個人
洗井間専家。
7か月前
個人
前腕誘導装置
3か月前
個人
ホバーアイロン
6か月前
個人
矯正椅子
5か月前
個人
腰ベルト
3日前
個人
バッグ式オムツ
4か月前
個人
ウォート指圧法
11日前
個人
汚れ防止シート
28日前
個人
胸骨圧迫補助具
1か月前
個人
アイマスク装置
2か月前
個人
歯の修復用材料
4か月前
個人
歯の保護用シール
5か月前
個人
湿布連続貼り機。
2か月前
個人
シャンプー
6か月前
個人
哺乳瓶冷まし容器
3か月前
個人
陣痛緩和具
3か月前
株式会社大野
骨壷
3か月前
株式会社コーセー
化粧料
10日前
個人
治療用酸化防御装置
1か月前
個人
服薬支援装置
7か月前
株式会社八光
剥離吸引管
4か月前
個人
性行為補助具
2か月前
個人
エア誘導コルセット
1か月前
株式会社松風
口腔用組成物
3か月前
個人
手指運動ツール
2か月前
株式会社GSユアサ
歩行器
5か月前
個人
高気圧環境装置
4か月前
個人
精力増強キット
1か月前
株式会社ニデック
検眼装置
3か月前
株式会社コロナ
サウナ装置
5か月前
株式会社ダリヤ
毛髪化粧料
1か月前
続きを見る
他の特許を見る