TOP
|
特許
|
意匠
|
商標
特許ウォッチ
Twitter
他の特許を見る
10個以上の画像は省略されています。
公開番号
2025160181
公報種別
公開特許公報(A)
公開日
2025-10-22
出願番号
2025107667,2023516512
出願日
2025-06-25,2020-09-14
発明の名称
基板間の導電性支柱を備えたアンテナアレイアーキテクチャ
出願人
ヴィアサット,インコーポレイテッド
,
ViaSat,Inc.
代理人
弁理士法人北青山インターナショナル
主分類
H01Q
23/00 20060101AFI20251015BHJP(基本的電気素子)
要約
【課題】異なる熱膨張係数を有する基板同士の電気的相互接続を提供する。
【解決手段】アンテナ装置100は、対向する第1の面131及び第2の面139を有するアンテナ基板120と、対向する上面149及び下面141を有するPCB140と、を備える。アンテナ素子125は、アンテナ基板120の第1の面に配設される。PCB140の下面に取り付けられた第1の端部及びアンテナ基板の第2の面に取り付けられた第2の端部を有する複数の導電性支柱122は、PCBをアンテナ基板に固定し、PCBとアンテナ基板との間に電気的相互接続を提供する。複数のRFICチップ126はそれぞれ、アンテナ基板の第2の面に取り付けられ、アンテナ素子に結合されている。少なくとも1つのFPGA142は、PCBの上面に取り付けられ、導電性支柱122のうちの少なくとも1つを介してRFICチップのうちの少なくとも1つに電気的に結合されている。
【選択図】図2
特許請求の範囲
【請求項1】
アンテナ装置であって、
対向する第1及び第2の面を有するアンテナ基板と、
前記アンテナ基板の前記第1の面に配設された複数のアンテナ素子と、
対向する第1及び第2の面を有するプリント回路基板(PCB)と、
前記PCBの前記第2の面に取り付けられた第1の端部及び前記アンテナ基板の前記第2の面に取り付けられた第2の端部をそれぞれが有し、前記PCBを前記アンテナ基板に固定し、前記PCBと前記アンテナ基板との間に電気的相互接続を提供する複数の導電性支柱と、
前記アンテナ基板の前記第2の面にそれぞれ取り付けられ、前記複数のアンテナ素子に結合された複数の高周波集積回路(RFIC)チップと、
前記PCBの前記第1の面に取り付けられ、前記導電性支柱のうちの少なくとも1つを介して前記RFICチップのうちの少なくとも1つに電気的に結合された少なくとも1つの回路素子と、を備える、アンテナ装置。
続きを表示(約 910 文字)
【請求項2】
前記電気的相互接続は、高周波(RF)信号を通信するRF相互接続である、請求項1に記載のアンテナ装置。
【請求項3】
前記電気的相互接続は、直流(DC)信号を通信するDC相互接続である、請求項1又は2に記載のアンテナ装置。
【請求項4】
前記電気的相互接続は、データ制御信号を通信するデータ制御信号相互接続である、請求項1~3のいずれか一項に記載のアンテナ装置。
【請求項5】
前記データ制御信号は、前記RFICチップのうちの複数のものに提供されて、その中の位相シフト器を調整し、フェーズドアレイを作製する、請求項4に記載のアンテナ装置。
【請求項6】
前記PCB及び前記アンテナ基板は、異なる熱膨張係数(CTE)を有し、前記支柱が、屈曲、圧縮、又は延伸することによって変形して、前記異なるCTEに起因する応力緩和を提供する、請求項1~5のいずれか一項に記載のアンテナ装置。
【請求項7】
前記少なくとも1つの回路素子は、前記支柱のうちの少なくとも1つと、前記アンテナ基板の前記第2の面の導電性トレース層とを介して、前記RFICチップに制御信号及び/又はバイアス電圧を提供するICチップである、請求項1~6のいずれか一項に記載のアンテナ装置。
【請求項8】
前記ICチップは、フィールドプログラマブルゲートアレイ(FPGA)である、請求項7に記載のアンテナ装置。
【請求項9】
前記少なくとも1つの回路素子は、前記支柱のうちの前記少なくとも1つと、前記アンテナ基板の前記第2の面の導電性トレース層とを介して前記RFICチップにDC電圧を提供するDCコネクタである、請求項1~8のいずれか一項に記載のアンテナ装置。
【請求項10】
前記少なくとも1つの回路素子は、前記支柱のうちの少なくとも1つを介して、前記RFICチップとの間でRF信号をルーティングするRFコネクタである、請求項1~9のいずれか一項に記載のアンテナ装置。
(【請求項11】以降は省略されています)
発明の詳細な説明
【技術分野】
【0001】
本開示は、一般に、高周波集積回路チップ(RFIC)一体型アンテナアレイ用コンパクトアーキテクチャに関する。
続きを表示(約 3,200 文字)
【背景技術】
【0002】
アンテナアレイは、例えば、航空機、衛星、車両、及び汎用地上ベース通信用基地局において、マイクロ波及びミリ波の周波数における様々な用途に配備されている。このようなアンテナアレイは、典型的には、位相シフトビーム形成回路によって駆動されるマイクロストリップ放射素子を備え、ビーム操縦可能フェーズドアレイを生成する。典型的には、アンテナアレイ及びビーム形成回路を備えたアンテナシステム全体は、環境条件の範囲にわたって必要な性能メトリックを満たしながら、薄型で最小限のスペースを占めることが望ましい。
【0003】
薄型アンテナアレイ装置は、コンパクトな構造のRFIC(例えば、MMIC)と一体化したアンテナ素子で構成され得る。アンテナアレイ装置は、アンテナ素子が外装部品層に配設され、RFICがアンテナ素子層の後ろの近接平行部品層内の有効アンテナ開口全体に分散されている、サンドイッチ型構成を有してもよい。RFICは、送信動作用RFパワーアンプ(PA)、受信動作用低雑音アンプ(LNA)、及び/又はビーム操作用位相シフト器/振幅調整器を含んでもよい。このようにPA/LNAを分散することにより、送信時の高効率性及び/又は受信時の低ノイズ性能を実現することができる。複雑な接続レイアウトは、アンプにDCバイアス電圧を至らせ、位相シフト器にビーム操作用制御信号を至らせることができる。わずか数度の狭いビーム幅を生成する典型的なアンテナアレイ装置は、それぞれ数百又は数千個のRFICチップ、アンテナ素子、及び制御ラインを備える場合もある。このような複雑な配置は、広範囲の環境で好適に動作する薄型設計を製造するための設計上の課題を提示する。
【発明の概要】
【0004】
本開示の一態様では、アンテナ装置は、対向する第1及び第2の面を有するアンテナ基板と、対向する第1及び第2の面を有するプリント回路基板(PCB)とを備える。アンテナ基板の第1の面には、複数のアンテナ素子が配設されている。それぞれが、PCBの第2の面に取り付けられた第1の端部及びアンテナ基板の第2の面に取り付けられた第2の端部を有する複数の導電性支柱は、PCBをアンテナ基板に固定し、PCBとアンテナ基板との間に電気的相互接続を提供する。複数の高周波集積回路(RFIC)チップは、それぞれ、アンテナ基板の第2の面に取り付けられ、複数のアンテナ素子に結合されている。少なくとも1つの回路素子は、PCBの第1の面に取り付けられ、導電性支柱のうちの少なくとも1つを介してRFICチップのうちの少なくとも1つに電気的に結合されている。
【0005】
様々な例では、電気的相互接続は、RF信号を通信するRF相互接続、DC信号を通信するDC相互接続、又はデータ制御信号を通信するデータ制御信号相互接続とすることができる。PCB及びアンテナ基板は、異なる熱膨張係数(CTE)を有する可能性があり、支柱が、偏向されるか、屈曲するか、又は圧縮されて、異なるCTEによる応力の緩和を提供する。
【0006】
別の態様では、電子デバイスの相互接続構造は、上面を有する基板と、上面及び下面を有するPCBと、PCBの下面と基板の上面との間に取り付けられた複数の導電性支柱と、を備える。支柱は、PCBを基板に固定し、PCBと基板との間に電気的相互接続を提供する。基板の上面には複数のICチップが取り付けられている。少なくとも1つの回路素子は、PCBの上面及び下面のうちの少なくとも1つに取り付けられ、導電性支柱のうちの少なくとも1つを介してICチップのうちの少なくとも1つに電気的に結合されている。
【図面の簡単な説明】
【0007】
開示される技術の上記及び他の態様及び特徴は、同様の参照文字が同様の要素又は特徴を示す添付の図面と併せて、以下の詳細な説明からより明らかになるであろう。同一の又は類似の種類の様々な要素は、同一/類似の要素(例えば、_1、_2)の中で区別する下線/ダッシュ及び第2のラベルで参照ラベルを付加することによって、又は第2のラベルで参照ラベルを直接付加することによって区別され得る。しかしながら、所与の説明が第1の参照ラベルのみを使用する場合、このラベルは、第2のラベルに関係なく、同じ第1の参照ラベルを有する同一/類似の要素のうちのいずれか1つに適用可能である。要素及び特徴は、図面で縮尺どおりに描画されていない場合がある。
【0008】
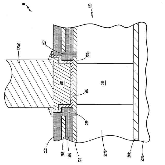
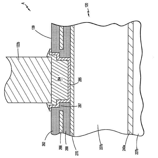
図1は、一実施形態による例示的なアンテナ装置の分解斜視図である。
図2は、一実施形態による図1のアンテナ装置の一部の例示的な断面図である。
図3Aは、導電性支柱がアンテナ基板の第1の金属層に導電付着されている、図2の領域「A」の例示的な相互接続構造を示す。
図3Bは、導電性支柱がアンテナ基板の第2の金属層に導電付着されている、図2Aの領域「A」の別の例示的な相互接続構造を示す。
図4は、導電性支柱がアンテナ基板の伝送ライン層に導電付着されている、図2の領域「B」の例示的な相互接続構造を示す。
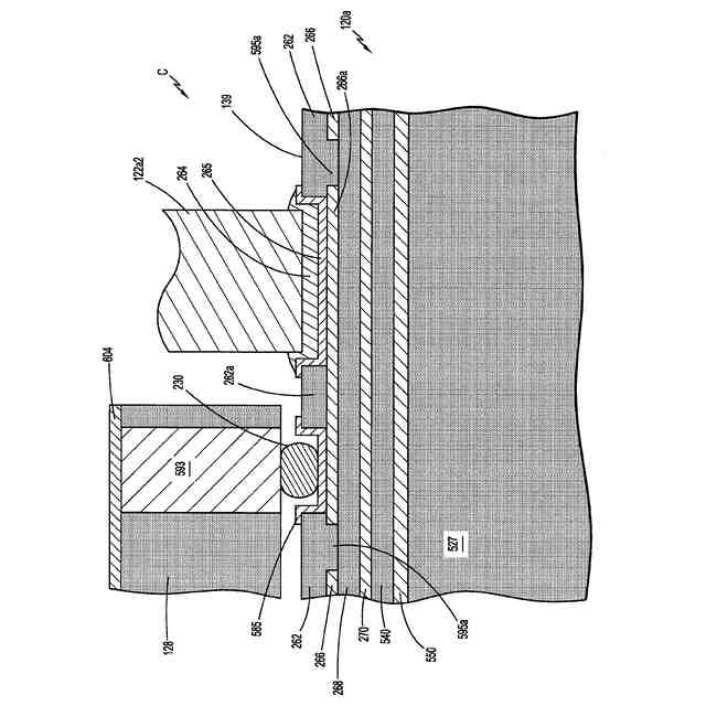
図5Aは、別の実施形態による図1のアンテナ装置の一部の例示的な断面図である。
図5Bは、図5Aの領域「C」の例示的な構造の断面図である。
図6は、図5Aの線6-6に沿った例示的な図であり、アンテナ基板の表面に取り付けられたICチップ及びPCB部のレイアウトを示す。
図7は、更なる実施形態による図1のアンテナ装置の一部の例示的な断面図である。
図8は、一実施形態によるアンテナ装置を製造する例示的な方法を示す流れ図である。
図9Aは、アンテナ装置のアンテナ基板組立体あって、その上に導電性支柱が部分的に形成されたアンテナ基板組立体を示す。
図9Bは、アンテナ基板組立体であって、その上に支柱が完全に形成されたアンテナ基板組立体を示す。
図9Cは、アンテナ基板組立体であって、それに予備形成された支柱が取り付けられたアンテナ基板組立体を示す。
【発明を実施するための形態】
【0009】
説明の目的で本明細書に開示される技術の特定の例示的な実施形態の包括的な理解を支援するために、添付の図面を参照しながら以下の説明が提供される。説明は、当業者が技術を理解するのを助けるための様々な具体的な詳細を含むが、これらの詳細は、単なる例示と見なされるべきである。単純化及び明確化の目的で、周知の機能及び構造の説明は、それらの包含が、当業者による技術の理解を曖昧にする可能性がある場合には、省略される場合がある。
【0010】
図1は、一実施形態による例示的なアンテナ装置100の分解斜視図である。アンテナ装置100は、複数の導電性支柱122によってプリント回路基板(PCB)140に固定された板状アンテナ基板120を含むコンパクト配置を有する。複数のアンテナ素子125は、アンテナ基板120の第1の主面131(x-y平面内)に配設されている。複数の高周波集積回路(RFIC)チップ126は、それぞれ、アンテナ基板120の第2の反対側の主面139に取り付けられ、アンテナ素子125に結合されている。フィールドプログラマブルゲートアレイ(FPGA)142、DCコネクタ146、及び/又はRFコネクタ144などの少なくとも1つの回路素子は、PCB140の第1の主面149に取り付けられている。支柱122のそれぞれは、アンテナ基板120内の導電層を介して、PCB140に固定された回路素子とRFICチップ126との間に電気的相互接続を提供し得る。
(【0011】以降は省略されています)
この特許をJ-PlatPat(特許庁公式サイト)で参照する
関連特許
東ソー株式会社
絶縁電線
今日
個人
フレキシブル電気化学素子
12日前
株式会社ユーシン
操作装置
12日前
日新イオン機器株式会社
イオン源
8日前
ローム株式会社
半導体装置
14日前
株式会社GSユアサ
蓄電設備
12日前
株式会社GSユアサ
蓄電設備
12日前
株式会社ホロン
冷陰極電子源
6日前
太陽誘電株式会社
コイル部品
12日前
オムロン株式会社
電磁継電器
13日前
ノリタケ株式会社
熱伝導シート
12日前
トヨタ自動車株式会社
バッテリ
13日前
トヨタ自動車株式会社
冷却構造
今日
日本特殊陶業株式会社
保持装置
1日前
日東電工株式会社
積層体
13日前
サクサ株式会社
電池の固定構造
12日前
トヨタ自動車株式会社
蓄電装置
12日前
古河電気工業株式会社
端子
12日前
ローム株式会社
半導体装置
13日前
ベストテック株式会社
装置支持具
12日前
株式会社ダイヘン
搬送装置
12日前
住友電装株式会社
コネクタ
今日
日本製紙株式会社
導電性フィルム
13日前
東レエンジニアリング株式会社
実装装置
19日前
ローム株式会社
半導体装置
今日
日本製紙株式会社
導電性フィルム
13日前
トヨタ自動車株式会社
電池パック
5日前
東レエンジニアリング株式会社
実装装置
13日前
トヨタ自動車株式会社
電池パック
5日前
TDK株式会社
コイル部品
19日前
SMK株式会社
キートップ及びスイッチ
14日前
株式会社トクヤマ
シリコンエッチング液
6日前
株式会社トクヤマ
シリコンエッチング液
6日前
ローム株式会社
半導体装置
14日前
日東電工株式会社
電子装置
15日前
ローム株式会社
半導体装置
14日前
続きを見る
他の特許を見る