TOP
|
特許
|
意匠
|
商標
特許ウォッチ
Twitter
他の特許を見る
公開番号
2025160150
公報種別
公開特許公報(A)
公開日
2025-10-22
出願番号
2025064313
出願日
2025-04-09
発明の名称
医療デバイスの無針コネクタへの接続を検出するためのシステム、方法、およびコンピュータプログラム製品
出願人
ベクトン・ディキンソン・アンド・カンパニー
,
BECTON, DICKINSON AND COMPANY
代理人
弁理士法人谷・阿部特許事務所
主分類
G16H
20/13 20180101AFI20251015BHJP(特定の用途分野に特に適合した情報通信技術)
要約
【課題】医療デバイスの無針コネクタへの接続を検出するためのシステム、方法、およびコンピュータプログラム製品を提供する。
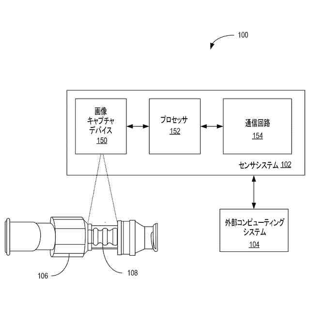
【解決手段】例示的なシステムは、画像キャプチャデバイスおよび少なくとも1つのプロセッサを含む。画像キャプチャデバイスは、無針コネクタの可動コンポーネントの画像のセットをキャプチャするように構成され得る。少なくとも1つのプロセッサは、無針コネクタの可動コンポーネントの前記画像のセットを受信する、および、無針コネクタの可動コンポーネントの画像のセットを処理して、医療デバイスが無針コネクタに接続されているかどうかを決定する、ように構成され得る。
【選択図】図4
特許請求の範囲
【請求項1】
無針コネクタの可動コンポーネントの画像のセットをキャプチャするように構成された画像キャプチャデバイスと、
少なくとも1つのプロセッサであって、
前記無針コネクタの前記可動コンポーネントの前記画像のセットを受信する、および、
前記無針コネクタの前記可動コンポーネントの前記画像のセットを処理して、医療デバイスが前記無針コネクタに接続されているかどうかを決定する、
ように構成された、少なくとも1つのプロセッサと、
を備えるシステム。
続きを表示(約 1,300 文字)
【請求項2】
前記無針コネクタの前記可動コンポーネントは、ベローズを含み、前記ベローズは、前記医療デバイスの前記無針コネクタへの接続に応答して、拡張状態から圧縮状態へ圧縮するように構成される、
請求項1に記載のシステム。
【請求項3】
前記無針コネクタは入口と入口の反対側の出口との間のハウジングに流体流路を含み、前記ベローズは、前記ハウジング内に含まれる、
請求項2に記載のシステム。
【請求項4】
前記画像キャプチャデバイスは、前記無針コネクタの前記ハウジングに一体化される、
請求項3に記載のシステム。
【請求項5】
前記画像キャプチャデバイスは、前記無針コネクタの前記ハウジングに対して外部に在る、
請求項3に記載のシステム。
【請求項6】
前記画像キャプチャデバイスは、相補型金属酸化膜半導体(CMOS)センサを含む、
請求項1に記載のシステム。
【請求項7】
外部コンピューティングデバイスと通信するように構成された通信回路をさらに含む、
請求項1に記載のシステム。
【請求項8】
前記少なくとも1つのプロセッサは、
前記画像のセットの画像のピクセルを、前記画像のセットの別の画像のピクセルと比較して、前記画像と前記別の画像との間のピクセルパターンのシフトを決定する、
前記画像と前記別の画像との間のピクセルパターンのシフトを、前記可動コンポーネントのx座標距離のシフトまたは前記可動コンポーネントのy座標距離のシフトに変換する、
前記可動コンポーネントのx座標距離のシフトまたは前記可動コンポーネントのy座標距離のシフトに基づいて、前記医療デバイスが前記無針コネクタに接続されているかどうかを決定する、
ことにより、前記無針コネクタの前記可動コンポーネントの前記画像のセットを処理して、前記医療デバイスが前記無針コネクタに接続されているかどうかを決定するように構成される、
請求項1に記載のシステム。
【請求項9】
前記医療デバイスは、注射器を含む、
請求項1に記載のシステム。
【請求項10】
無針コネクタが医療デバイスに接続される場合の第1の位置、および、前記無針コネクタが前記医療デバイスに接続されない場合の第2の位置を有する可動コンポーネントと、
前記無針コネクタの前記可動コンポーネントの画像のセットをキャプチャするように構成された画像キャプチャデバイスと、
外部コンピューティングデバイスと通信するように構成された通信回路と、
少なくとも1つのプロセッサであって、
前記無針コネクタの前記可動コンポーネントの前記画像のセットを受信する、および、
前記無針コネクタの前記可動コンポーネントの前記画像のセットを処理して、医療デバイスが前記無針コネクタに接続されているかどうかを決定する、
ように構成された、少なくとも1つのプロセッサと、
を含む、無針コネクタ。
(【請求項11】以降は省略されています)
発明の詳細な説明
【技術分野】
【0001】
本開示は、一般に、無針コネクタに関し、非限定的な実施形態または態様では、医療デバイスの無針コネクタへの接続を検出するためのシステム、方法、およびコンピュータプログラム製品に関する。
続きを表示(約 1,200 文字)
【背景技術】
【0002】
本出願は、2024年4月9日に出願された「医療デバイスの無針コネクタへの接続を検出するためのシステム、方法、およびコンピュータプログラム製品」と題する米国特許出願第18/630,427号の優先権を主張し、その開示全体は、参照によりその全体が本明細書に組み込まれる。
【0003】
臨床使用では、薬剤を投与するためにIVチューブが患者に接続される。IVチューブは、薬剤投与のために薬剤が充填された医療デバイス(例えば、注射器など)が接続される無針コネクタを含み得る。医療分野におけるモノのインターネット(IоT)の利用が広がるにつれて、医療デバイス(例えば、注射器など)がこれらの無針コネクタに取り付けられたことを検出/記録する必要が生じ得る。
【先行技術文献】
【特許文献】
【0004】
米国特許出願公開第2021/0231471号
【非特許文献】
【0005】
Qiu et al. “A survey of machine learning for big data processing” in EURASIP Journal on Advances in Signal Processing (2016)
【発明の概要】
【0006】
したがって、改良された医療デバイスの無針コネクタへの接続を検出するためのシステム、方法、およびコンピュータプログラム製品が提供される。
【0007】
非限定的な実施形態または態様によると、無針コネクタの可動コンポーネントの画像のセットをキャプチャするように構成された画像キャプチャデバイスと、少なくとも1つのプロセッサであって、前記無針コネクタの前記可動コンポーネントの前記画像のセットを受信する、および、前記無針コネクタの前記可動コンポーネントの前記画像のセットを処理して、医療デバイスが前記無針コネクタに接続されているかどうかを決定する、ように構成された、少なくとも1つのプロセッサと、を含むシステムが提供される。
【0008】
いくつかの非限定的な実施形態または態様では、前記無針コネクタの前記可動コンポーネントは、ベローズを含み、前記ベローズは、前記医療デバイスの前記無針コネクタへの接続に応答して、拡張状態から圧縮状態へ圧縮するように構成される。
【0009】
いくつかの非限定的な実施形態または態様では、前記無針コネクタは入口と入口の反対側の出口との間のハウジングに流体流路を含み、前記ベローズは、前記ハウジング内に含まれる。
【0010】
いくつかの非限定的な実施形態または態様では、前記画像キャプチャデバイスは、前記無針コネクタの前記ハウジングに一体化される。
(【0011】以降は省略されています)
この特許をJ-PlatPat(特許庁公式サイト)で参照する
関連特許
個人
医療のAI化
1か月前
個人
支援システム
5か月前
個人
管理装置
4か月前
個人
対話システム
4か月前
個人
通知ぬいぐるみAIシステム
1か月前
キラル株式会社
ヘルスケアシステム
今日
キラル株式会社
ヘルスケアシステム
今日
株式会社タカゾノ
薬剤秤量装置
4か月前
株式会社タカゾノ
薬剤秤量装置
2か月前
株式会社タカゾノ
薬剤秤量装置
2か月前
株式会社タカゾノ
薬剤秤量装置
2か月前
株式会社タカゾノ
薬剤秤量装置
2か月前
株式会社タカゾノ
薬剤秤量装置
2か月前
株式会社リコー
投薬管理システム
1か月前
TOTO株式会社
健康管理システム
13日前
個人
診療の管理装置及び診療システム
2か月前
ゾーン株式会社
コンピュータシステム
5か月前
株式会社サンクスネット
情報提供システム
4か月前
株式会社CureApp
プログラム
3か月前
株式会社 137
健康観察管理システム
4か月前
株式会社ミラボ
情報処理装置、及びプログラム
2か月前
株式会社タカゾノ
薬剤秤量装置及び調剤システム
4か月前
歯っぴー株式会社
口内状態の画像診断方法
2か月前
大和ハウス工業株式会社
服薬推定システム
13日前
西川株式会社
サービス出力システム
4か月前
キラル株式会社
プログラムの提供システムおよびその方法
16日前
株式会社エフアンドエフ
在宅健康チェックシステム
5か月前
株式会社サンクスネット
健康医療情報管理システム
2か月前
株式会社SECRET MEDICINE
管理装置
1か月前
二九精密機械工業株式会社
健康管理要素評価支援システム
4か月前
株式会社ジーシー
予測方法および予測システム
4か月前
キラル株式会社
心理療法を提供するシステムおよびその方法
今日
キラル株式会社
心理療法を提供するシステムおよびその方法
今日
まちなかMEセンター株式会社
生体情報管理システム
3か月前
公立大学法人横浜市立大学
プログラム及び情報処理装置
2か月前
大和ハウス工業株式会社
健康リスク推定システム
4か月前
続きを見る
他の特許を見る