TOP
|
特許
|
意匠
|
商標
特許ウォッチ
Twitter
他の特許を見る
10個以上の画像は省略されています。
公開番号
2025160149
公報種別
公開特許公報(A)
公開日
2025-10-22
出願番号
2025064277
出願日
2025-04-09
発明の名称
基材をコーティングする方法
出願人
カール・ツァイス・エスエムティー・ゲーエムベーハー
代理人
個人
,
個人
,
個人
,
個人
,
個人
,
個人
,
個人
,
個人
主分類
C23C
14/22 20060101AFI20251015BHJP(金属質材料への被覆;金属質材料による材料への被覆;化学的表面処理;金属質材料の拡散処理;真空蒸着,スパッタリング,イオン注入法,または化学蒸着による被覆一般;金属質材料の防食または鉱皮の抑制一般)
要約
【課題】少なくとも1種類のコーティング材料を含む少なくとも1つのコーティングによって基材をコーティングする方法を提供すること。
【解決手段】コーティング材料が、基材上または基材に付着された部分的なコーティング上に蒸着され、電気的に中性の粒子が蒸着を補助するために利用可能となる。
【選択図】図1
特許請求の範囲
【請求項1】
少なくとも1種類のコーティング材料を含む少なくとも1つのコーティングによって基材をコーティングする方法であって、前記コーティング材料が、前記基材上または前記基材に付着された部分的なコーティング上に蒸着され、
電気的に中性の粒子が前記蒸着を補助するために利用可能となることを特徴とする、方法。
続きを表示(約 920 文字)
【請求項2】
50eV~500eV、好ましくは75eV~300eV、特に好ましくは100eV~200eVのエネルギーを有する中性粒子が利用可能となることを特徴とする、請求項1に記載の方法。
【請求項3】
入射角が面法線に対して最大60°、好ましくは最大45°、特に好ましくは最大30°の中性粒子が利用可能となることを特徴とする、請求項1または2に記載の方法。
【請求項4】
1種類または複数種類の希ガスが補助ガスとして使用されることを特徴とする、請求項1~3のいずれか1項に記載の方法。
【請求項5】
付着させるべき前記コーティングの前記材料の少なくとも1種類の揮発性元素が、前記補助ガスに添加されることを特徴とする、請求項4に記載の方法。
【請求項6】
導電性の基材がコーティングされ、
前記基材に電圧が印加されることを特徴とする、請求項1~5のいずれか1項に記載の方法。
【請求項7】
粒子流に対して前記基材の反対側に電極が配置されていることを特徴とする、請求項1~6のいずれか1項に記載の方法。
【請求項8】
前記基材の粒子流に面する側に、少なくとも1つの電極が、前記粒子流の方向に配置されていることを特徴とする、請求項1~7のいずれか1項に記載の方法。
【請求項9】
少なくとも1種類のコーティング材料を含む少なくとも1つのコーティングによって基材をコーティングする方法であって、前記コーティング材料が、前記基材上または前記基材に付着された部分的なコーティング上に蒸着され、
筐体内に配置されたフィラメントと、さらに、前記筐体に設けられた開口部に、前記フィラメントに対して電位差を有する少なくとも1つのグリッドとを備える構成要素を使用するという事実によって、前記基材に電子が衝突することを特徴とする、方法。
【請求項10】
前記蒸着が、電子ビーム蒸発または熱蒸発を用いて実行されることを特徴とする、請求項1~9のいずれか1項に記載の方法。
(【請求項11】以降は省略されています)
発明の詳細な説明
【技術分野】
【0001】
本発明は、少なくとも1種類のコーティング材料を含む少なくとも1つのコーティングによって基材をコーティングする方法であって、コーティング材料が、基材上または基材に付着された部分的なコーティング上に蒸着される、コーティングする方法、およびこうした方法を使用して製造される光学素子に関する。
続きを表示(約 1,900 文字)
【背景技術】
【0002】
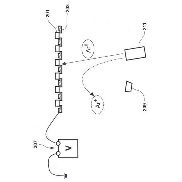
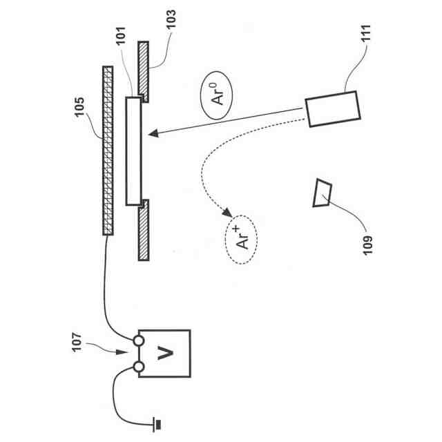
特にDUV(深紫外線:deep ultraviolet)放射とも呼ばれる、約150nm~260nmの比較的短波の紫外線波長範囲では、金属材料と比較して電気伝導性の低い光学コーティングおよび/または基材を備える光学素子が使用される。光学素子の耐用年数に関しては、光学コーティングの多孔性が最小限である場合に有利である。蒸着中に光学コーティングの多孔度を低減するために、たとえばドイツ公開特許第10 2005 017 742号に開示されている、イオンアシストを用いて蒸着を行うことが可能である。イオンアシストにより、電気伝導性の低い基材または基材に付着されたコーティングが、非常に短時間、具体的には1ミリ秒未満に荷電する(electrically charged)可能性がある。通常の基材は、典型的には、たとえば溶融シリカまたはフッ化カルシウムなどのガラスである。しかし、たとえば金属などの、名目上良好な電気伝導性を有する基材であっても、非電気伝導性のコーティングが施されている場合は、この影響を受ける場合があり、同様に荷電する可能性がある。特に比較的大型の光学素子の場合、層の蒸着中に、帯電することによって、場合によっては個々の層ごとに、またコーティングすべきエリア全体にわたって、状態が変動する可能性があり、これがさらに、たとえば成長層の光学特性に影響を及ぼす。
【先行技術文献】
【特許文献】
【0003】
ドイツ公開特許第10 2005 017 742号
【発明の概要】
【0004】
本発明の目的は、層の蒸着中にコーティング状態が実質的に一定に保たれる方法を示すことである。
【0005】
この目的は、少なくとも1種類のコーティング材料を含む、少なくとも1つの光学的に有効なコーティングで基材をコーティングする方法によって達成され、コーティング材料が、基材上または基材に付着された部分的なコーティング上に蒸着され、電気的に中性の粒子が蒸着を補助するために利用可能となる。
【0006】
層の蒸着の補助は、必ずしも荷電粒子を使用して実行する必要はなく、むしろ中性粒子を使用して行うこともできることが判明している。これは特に、比較的導電性の低い基材およびコーティングの場合、コーティングプロセスを経る基材の帯電を回避でき、その結果、層の蒸着中にコーティング状態が実質的に一定に保たれるという利点を有する。一定のコーティング状態は、コーティングすべき基材表面全体にわたる空間的に一定のコーティング、および/または層の蒸着中の時間的に一定のコーティングをもたらすことができる。複数の層がある場合、一定のコーティング状態は、個々の層ごとに容易に再現可能な蒸着にも関係することができる。その結果得られるコーティングは、とりわけ、光学コーティングか、またはさもなければ保護コーティングもしくは光学素子の機械的応力に耐えるためのコーティングとすることができる。
【0007】
50eV~500eV、好ましくは75eV~300eV、特に好ましくは100eV~200eVのエネルギーを有する中性粒子が利用可能となることは有利である。この手段によって達成できることは、第1に、蒸着層が効果的に高密度化されること、第2に、層構造体が過度に影響を受けないこと、すなわち、層自体もしくは層の近傍の表面へのスパッタリング効果が無視できる程度に留まるか、または完全に回避される場合さえあることである。
【0008】
入射角が面法線に対して最大60°、好ましくは最大45°、特に好ましくは最大30°の中性粒子が利用可能となることが好ましい。この手段によって達成できることもまた、第1に、蒸着層が効果的に高密度化されること、第2に、層構造体が過度に影響を受けないこと、すなわち、層自体もしくは層の近傍の表面へのスパッタリング効果が無視できる程度に留まるか、または完全に回避される場合さえあることである。
【0009】
コーティング材料と補助に使用される中性粒子との組合せに応じて、粒子の入射角および粒子のエネルギーが互いに調整されることが特に好ましいことを、指摘しておくべきである。
【0010】
1種類または複数種類の希ガスが、補助ガスとして使用されることが好ましい。希ガスは不活性なので、これにより、蒸着すべき層が好ましからざる化学反応によって汚染されないことを保証することが可能である。
(【0011】以降は省略されています)
この特許をJ-PlatPat(特許庁公式サイト)で参照する
関連特許
株式会社カネカ
製膜装置
19日前
株式会社カネカ
製膜装置
19日前
株式会社京都マテリアルズ
めっき部材
23日前
エドワーズ株式会社
真空排気システム
12日前
東京エレクトロン株式会社
成膜方法
1か月前
株式会社カネカ
気化装置及び製膜装置
13日前
TOTO株式会社
構造部材
13日前
株式会社アルバック
マスクユニット
13日前
株式会社内村
防食具、防食具の設置方法
1か月前
黒崎播磨株式会社
溶射装置
27日前
株式会社アルバック
基板ステージ装置
20日前
日本コーティングセンター株式会社
炭化ホウ素被膜
13日前
フジタ技研株式会社
被覆部材、及び、表面被覆金型
21日前
国立大学法人千葉大学
成膜装置及び成膜方法
1か月前
株式会社デンソー
接合体
1か月前
株式会社日本テクノ
ガス浸炭装置、浸炭室
5日前
東京エレクトロン株式会社
成膜方法及び成膜装置
1か月前
株式会社日本テクノ
ガス浸炭方法、ガス浸炭装置
5日前
大陽日酸株式会社
気相成長装置
1か月前
株式会社豊田中央研究所
プラズマCVD装置
19日前
芝浦機械株式会社
表面処理装置
1か月前
大陽日酸株式会社
インジェクター
1か月前
株式会社レゾナック・ハードディスク
成膜装置
1か月前
株式会社アルバック
マグネトロンスパッタリング装置
1か月前
株式会社SCREENホールディングス
直流スパッタリング装置
1か月前
株式会社富士技建
金属溶射皮膜の保護方法および保護構造
1か月前
積水化学工業株式会社
膜付き基材の製造方法及び粉体
15日前
株式会社SCREENホールディングス
反応性スパッタリング方法
1か月前
東京エレクトロン株式会社
成膜装置の運用方法及び成膜装置
5日前
キヤノン株式会社
蒸着マスク、有機電子デバイスの製造方法
1か月前
セイコーエプソン株式会社
粒子被覆装置及び粒子被覆方法
14日前
国立研究開発法人産業技術総合研究所
強誘電体及び強誘電体キャパシタ
13日前
田中貴金属工業株式会社
Ru薄膜の選択的成膜方法
19日前
JSWアフティ株式会社
半導体装置の製造方法
1か月前
株式会社アルバック
成膜装置及び搬送ローラ
1か月前
JSWアフティ株式会社
半導体装置の製造方法
1か月前
続きを見る
他の特許を見る