TOP特許意匠商標
特許ウォッチ Twitter
公開番号2025159834
公報種別公開特許公報(A)
公開日2025-10-22
出願番号2024062636
出願日2024-04-09
発明の名称ガーネット型固体電解質単結晶の製造方法
出願人株式会社コイケ,国立研究開発法人産業技術総合研究所
代理人個人
主分類C30B 29/22 20060101AFI20251015BHJP(結晶成長)
要約【課題】単結晶の大口径化を可能とするガーネット型固体電解質単結晶の製造方法を提供することを目的とする。
【解決手段】チョクラルスキー法により、ルツボ内の原料融液から単結晶を引き上げて育成するガーネット型固体電解質単結晶の製造方法であって、種結晶を含む育成中のガーネット型固体電解質単結晶を1150℃以上に維持して引き上げるステップと、原料融液からガーネット型固体電解質単結晶を切り離して徐冷するステップと、を含む。
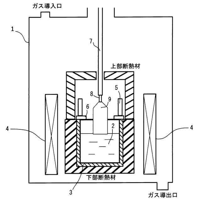
【選択図】図2
特許請求の範囲【請求項1】
チョクラルスキー法により、ルツボ内の原料融液から単結晶を引き上げて育成するガーネット型固体電解質単結晶の製造方法であって、
種結晶を含む育成中のガーネット型固体電解質単結晶を1150℃以上に維持して引き上げるステップと、
原料融液から前記ガーネット型固体電解質単結晶を切り離して徐冷するステップと、
を含むことを特徴とするガーネット型固体電解質単結晶の製造方法。
続きを表示(約 690 文字)【請求項2】
チョクラルスキー法により、ルツボ内の原料融液から単結晶を引き上げて育成するガーネット型固体電解質単結晶の製造方法であって、
種結晶を含む育成中のガーネット型固体電解質単結晶が1000℃以上1100℃以下の範囲となる経験時間を24時間以内にして引き上げるステップと、
原料融液から前記ガーネット型固体電解質単結晶を切り離して徐冷するステップと、
を含むことを特徴とするガーネット型固体電解質単結晶の製造方法。
【請求項3】
チョクラルスキー法により、ルツボ内の原料融液から単結晶を引き上げて育成するガーネット型固体電解質単結晶の製造方法であって、
種結晶を含む育成中のガーネット型固体電解質単結晶が600℃以上1000℃未満となる経験時間を96時間以内にして引き上げるステップと、
原料融液から前記ガーネット型固体電解質単結晶を切り離して徐冷するステップと、
を含むことを特徴とするガーネット型固体電解質単結晶の製造方法。
【請求項4】
チョクラルスキー法により、ルツボ内の原料融液から単結晶を引き上げて育成するガーネット型固体電解質単結晶の製造方法であって、
種結晶を含む育成中のガーネット型固体電解質単結晶が1000℃以上1100℃以下の範囲となる経験時間を24時間より多くかつ48時間未満にして引き上げるステップと、
原料融液から前記ガーネット型固体電解質単結晶を切り離して徐冷するステップと、
を含むことを特徴とするガーネット型固体電解質単結晶の製造方法。

発明の詳細な説明【技術分野】
【0001】
本発明は、高性能二次電池用材料として期待され、高いリチウムイオン伝導率が得られるガーネット型固体電解質単結晶の製造方法に関する。
続きを表示(約 2,200 文字)【背景技術】
【0002】
ガーネット型固体電解質単結晶は高いリチウムイオン伝導率を示す材料であり、高性能二次電池用材料として期待されている。材料の種類としては、LLZ(Li
7
La
3
Zr
2
O
12
)、LLZT(Li
(7-x)
La
3
Zr
(2-x)
Ta
x
O
12
)、LLZN(Li
(7-x)
La
3
Zr
(2-x)
Nb
x
O
12
)、LLZTN(Li
(7-x-y)
La
3
Zr
(2-x-y)
Ta
x
Nb
y
O
12
)、LGaLZ(Li
(7-x)
Ga
c
La
3
Zr
2
O
12
)、LALZ(Li
(7-3x)
Al
x
La
3
Zr
2
O
12
)、LLTO(Li
5
La
3
Ta
2
O
12
)、LBLT(Li
6
BaLa
2
Ta
2
O
12
)など様々であり、これらの単結晶はフローティングゾーン(FZ)法またはチョクラルスキー(CZ)法で製造できることが知られている(特許文献1~6参照)。
【0003】
しかしながら、これまでに報告されているこれらの単結晶は、最大でも直径10mm程度と小口径に限られており、実用化および製造コストの低減には適しておらず、単結晶の大口径化が望まれている。
【先行技術文献】
【特許文献】
【0004】
特許第6524089号公報
特許第6120346号公報
特許第6296263号公報
特許第6278433号公報
特許第6667182号公報
特許第7361299号公報
【発明の概要】
【発明が解決しようとする課題】
【0005】
本願出願人は、大口径単結晶を低コストで製造するには、量産性に優れ、高品質な単結晶の製造法として知られているCZ法が優位であると考え、CZ法により直径25mm以上のガーネット型固体電解質単結晶の育成を試みてきた。しかしながら、育成中の結晶の落下や、育成した単結晶の変質およびクラックの発生などの事象が発生し、直径25mm以上の単結晶を得ることは極めて困難であるという課題があった。
【0006】
この課題を解決するために本願出願人が鋭意研究を行った結果、ガーネット型固体電解質単結晶の育成において、結晶が大口径化すると上記事象が生じる要因が、大口径化による育成時間の増大と、育成時の単結晶の経験温度帯および経験時間に依存していることが実験によって明らかになった。具体的には、本願出願人は、ガーネット型固体電解質単結晶を様々な温度と時間で熱処理する実験を行い、特定の温度帯および経験時間によって単結晶が変質および脆化することを明らかにした。
【0007】
単結晶の大口径化によって育成時間の増加が避けられないことは自明であるが、これにより、育成中の単結晶が変質する温度帯を長時間経験することになり、その結果として、前述の事象が生じて大口径化が実現できないことを、本願出願人は突き止めた。
【0008】
本発明は、このような事情の下になされたものであり、その目的は、CZ法による大口径ガーネット型固体電解質単結晶の育成において、育成中の結晶の落下、育成した単結晶の変質およびクラック発生の原因を特定し、これらの問題を解決して単結晶の大口径化を可能とするガーネット型固体電解質単結晶の製造方法を提供することにある。
【課題を解決するための手段】
【0009】
前述した課題を解決するためになされた、本発明に係るガーネット型固体電解質単結晶の製造方法は、チョクラルスキー法により、ルツボ内の原料融液から単結晶を引き上げて育成するガーネット型固体電解質単結晶の製造方法であって、種結晶を含む育成中のガーネット型固体電解質単結晶を1150℃以上に維持して引き上げるステップと、原料融液から前記ガーネット型固体電解質単結晶を切り離して徐冷するステップと、を含むことに特徴を有する。
【0010】
または、前述した課題を解決するためになされた、本発明に係るガーネット型固体電解質単結晶の製造方法は、チョクラルスキー法により、ルツボ内の原料融液から単結晶を引き上げて育成するガーネット型固体電解質単結晶の製造方法であって、種結晶を含む育成中のガーネット型固体電解質単結晶が1000℃以上1100℃以下の範囲となる経験時間を24時間以内にして引き上げるステップと、原料融液から前記ガーネット型固体電解質単結晶を切り離して徐冷するステップと、を含むことに特徴を有する。
(【0011】以降は省略されています)

この特許をJ-PlatPat(特許庁公式サイト)で参照する

関連特許

株式会社コイケ
ガーネット型固体電解質単結晶の製造方法
28日前
SECカーボン株式会社
坩堝
7か月前
SECカーボン株式会社
結晶成長装置
6か月前
株式会社CUSIC
SiC積層体の製造方法
5か月前
住友金属鉱山株式会社
結晶育成装置
3か月前
アムジエン・インコーポレーテツド
SLC30A8発現を阻害するためのRNAiコンストラクト及びその使用方法
1か月前
学校法人 東洋大学
マルチカラー結晶の結晶成長方法
6か月前
株式会社FLOSFIA
構造体および構造体の製造方法
2か月前
株式会社SUMCO
単結晶の製造方法
4か月前
信越化学工業株式会社
炭化金属被覆材料
5か月前
コマディール・エス アー
サファイア棒状体の製造方法
6か月前
セイコーエプソン株式会社
人工水晶製造装置
2か月前
信越半導体株式会社
半導体ウェーハの製造方法
23日前
株式会社C&A
処理装置および方法
5か月前
株式会社レゾナック
SiCエピタキシャルウェハ
6か月前
日本碍子株式会社
AlN単結晶基板及びデバイス
1か月前
住友金属鉱山株式会社
圧電性酸化物単結晶基板の製造方法
5か月前
住友金属鉱山株式会社
圧電性酸化物単結晶基板の製造方法
6か月前
住友金属鉱山株式会社
単結晶の育成方法及びその装置
1か月前
住友電気工業株式会社
炭化珪素基板の製造方法
3か月前
住友電気工業株式会社
炭化珪素基板の製造方法
3か月前
旭化成株式会社
結晶の製造方法、六方晶系半導体結晶及び素子
6か月前
住友化学株式会社
窒化物積層体の製造方法および窒化物積層体
3か月前
信越半導体株式会社
3C-SiC単結晶基板の評価方法
3か月前
サイクリスタル ゲーエムベーハー
バルクSiC結晶の製造方法
1か月前
株式会社SUMCO
単結晶シリコンインゴットの製造方法
4か月前
グローバルウェーハズ・ジャパン株式会社
半導体基板の製造方法
5か月前
株式会社Kanazawa Diamond
ダイヤモンド
6か月前
三菱マテリアル電子化成株式会社
シリコンインゴット
1か月前
信越半導体株式会社
SiGe基板の作製方法及びSiGe基板
15日前
学校法人 名城大学
結晶成長用基板の作製方法
2か月前
住友化学株式会社
窒化物結晶基板の製造方法、および窒化物結晶基板
6か月前
株式会社豊田中央研究所
種結晶基板および種結晶基板付黒鉛サセプタ
7か月前
信越半導体株式会社
ヘテロエピタキシャルウェーハの製造方法
4か月前
住友化学株式会社
窒化物結晶基板、および窒化物結晶基板の製造方法
4か月前
学校法人 名城大学
半導体発光素子用エピウエハ
3か月前
続きを見る